GM Service Manual Online
For 1990-2009 cars only
Makes
🢒
Cadillac
🢒
2000
🢒
Eldorado
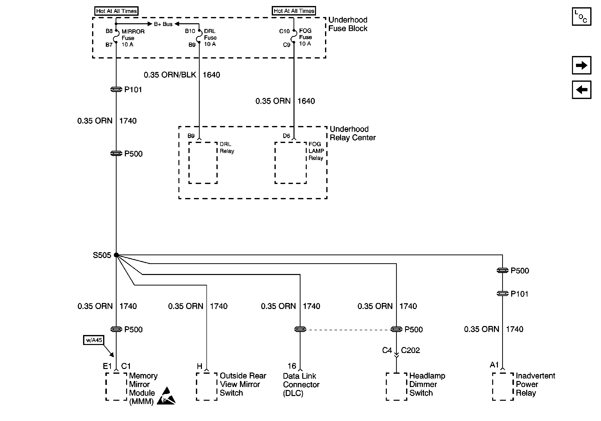
🢒 MIRROR, DRL, and FOG Fuses
MIRROR, DRL, and FOG Fuses
MIRROR, DRL, and FOG Fuses
Power and Grounding Components
INJ Fuses
HDLPS and CIG LTR 1 Fuses
LAMPS and IGN 1 Fuses
Handling ESD Sensitive Parts Notice