GM Service Manual Online
For 1990-2009 cars only
Makes
🢒
Cadillac
🢒
2000
🢒
Eldorado
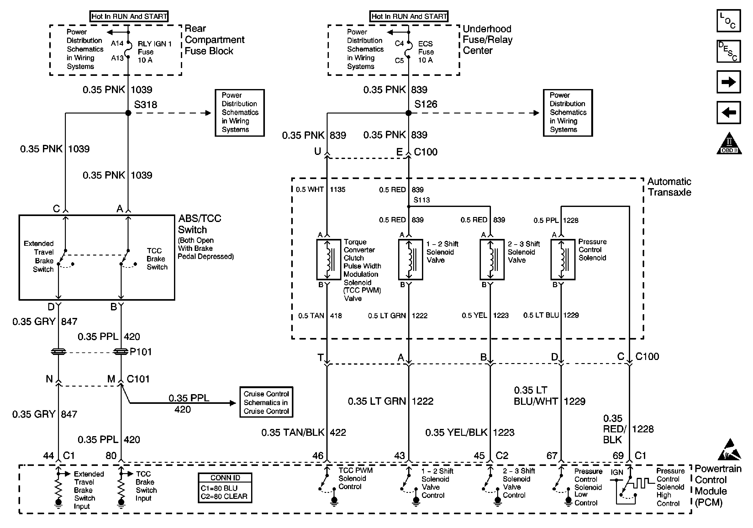
🢒 ABS/TCC Switch and Transaxle Solenoids
ABS/TCC Switch and Transaxle Solenoids
ABS/TCC Switch and Transale Solenoids
Engine Controls Components
Information Sensors/Switches Description
Transaxle Sensors and TR Switch
EBCM, Generator, A/C Relay and RSS
OBD II Symbol Description Notice
RLY IGN 1 Fuse
OXY SEN 1, OXY SEN 2, FUEL PUMP, ECS Fuses and FUEL PUMP Relay
RLY IGN 1 Fuse
OXY SEN 1, OXY SEN 2, FUEL PUMP, ECS Fuses and FUEL PUMP Relay
Cruise Control Multifunction Lever
Handling ESD Sensitive Parts Notice