GM Service Manual Online
For 1990-2009 cars only
Makes
🢒
Cadillac
🢒
2000
🢒
Eldorado
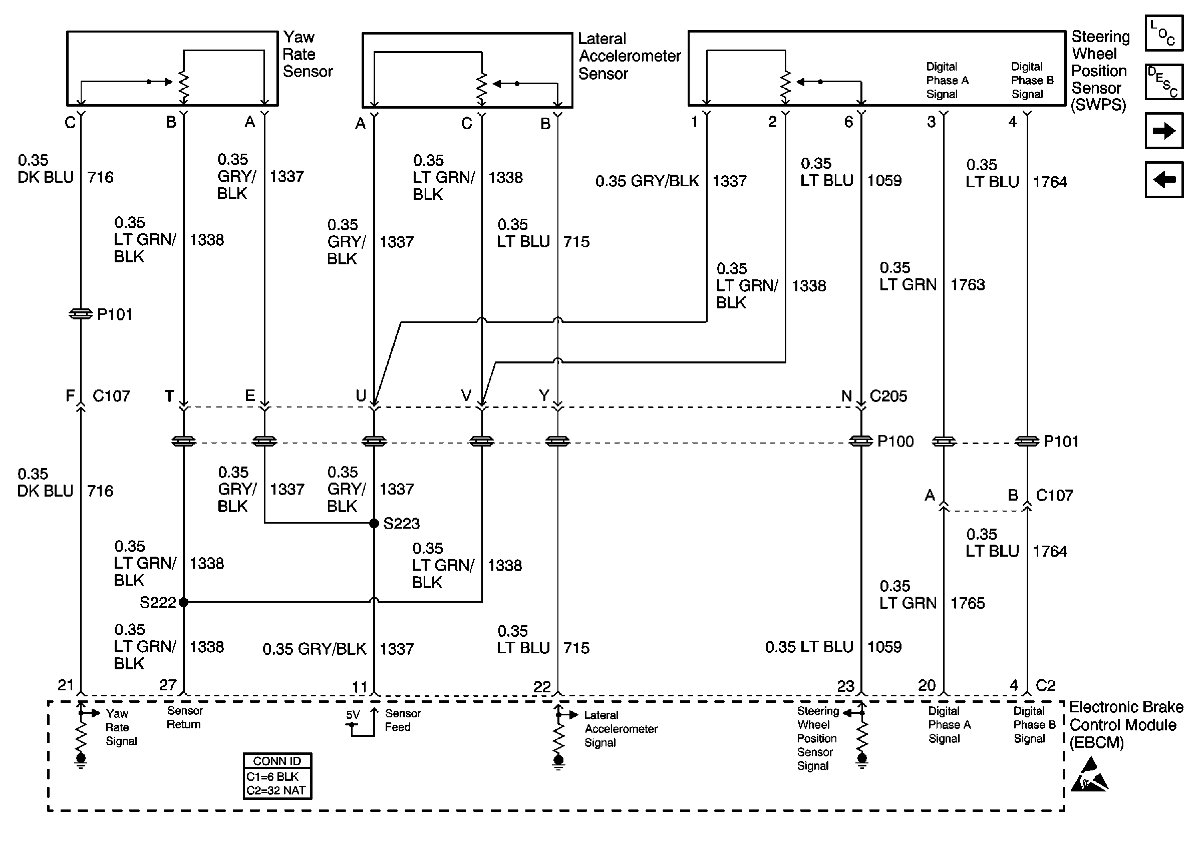
🢒 Vehicle Stability Enhancement System (w/JL4)
Vehicle Stability Enhancement System (w/JL4)
Vehicle Stability Enhancement System (w/JL4)
ABS Components
ABS Description
Suspension Inputs, Class 2, Traction Control, and Variable Effort SteEring
Wheel Speed Sensors
Handling ESD Sensitive Parts Notice