GM Service Manual Online
For 1990-2009 cars only

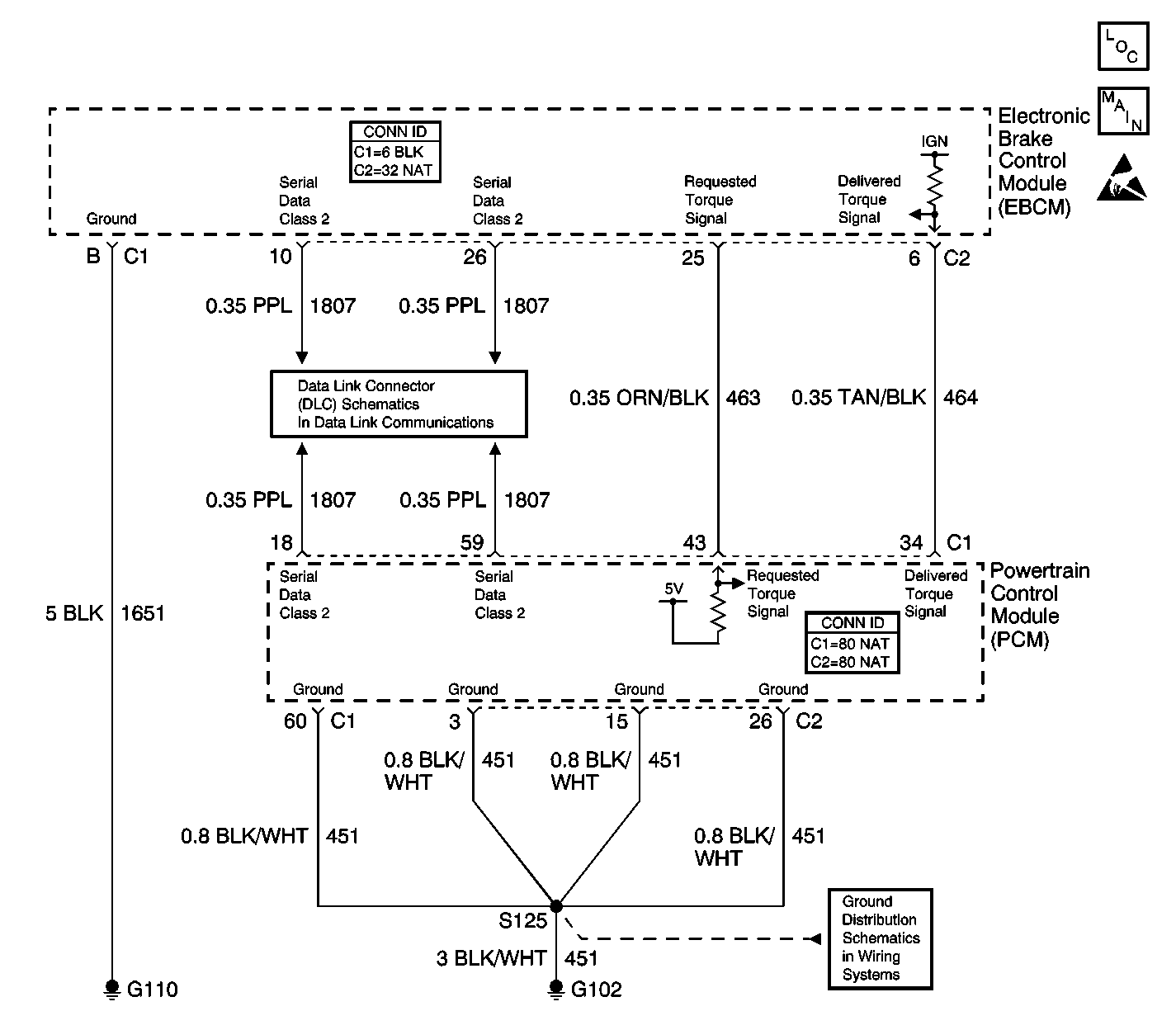
Object Number: 592768  Size: LF
ABS Components
Suspension Inputs, Class 2, Traction Control, and Variable Effort SteEring
Handling ESD Sensitive Parts Notice
Power, Ground, and Class 2 (1 of 2)
G102

Circuit Description

The EBCM and the PCM simultaneously control the traction control. The EBCM sends a Requested Torque message via a pulse width modulated (PWM) signal to the PCM. The duty cycle of the signal is used to determine how much engine torque the EBCM is requesting the PCM to deliver. Normal values are between 10 and 90 percent duty cycle. The signal should be at 90 percent when traction control is not active and at lower values during traction control activations. The PCM supplies the pull up voltage that the EBCM switches to ground to create the signal.

Conditions for Running the DTC

The ignition is ON.

Conditions for Setting the DTC

The PCM diagnoses the requested torque PWM signal circuit and sends a class 2 serial data message to the EBCM indicating a fault is present. The PCM will set DTC P1571 and the EBCM will set DTC C1277. A fault exists in the circuit if the PCM detects one of the following conditions:

    • The requested torque PWM signal is less than 5 percent duty cycle or greater than 95 percent duty cycle.
    • The requested torque PWM signal is not present for 10 seconds.

Action Taken When the DTC Sets

    • The EBCM disables the TCS for the duration of the ignition cycle.
    • The TRACTION CONTROL indicator turns ON.
    • The ABS remains functional.

Conditions for Clearing the DTC

    • The condition for the DTC is no longer present (the DTC is not current) and you used the scan tool Clear DTC function.
    • The condition for the DTC is no longer present (the DTC is not current) and you used the On-Board Diagnostics Clear DTC function.
    • The EBCM automatically clears the history DTC when a current DTC is not detected in 50 consecutive drive cycles.

Diagnostic Aids

The following conditions can cause this concern:

    • An open in the requested torque circuit.
    • An short to ground or voltage in the requested torque circuit.
    • A wiring problem, terminal corrosion, or poor connection in the requested torque circuit.
    • A communication frequency problem.
    • A communication duty cycle problem.
    • The PCM is not receiving information from the EBCM.
    • Loose or corroded EBCM ground or PCM ground.

Test Description

The numbers below refer to the step numbers on the diagnostic table.

  1. This step uses the scan tool to determine whether the requested torque signal has a valid duty cycle.

  2. This step measures whether the requested torque signal has a valid duty cycle.

  3. This step measures whether the EBCM requested torque signal has a valid frequency.

Step

Action

Value(s)

Yes

No

1

Did you perform the ABS Diagnostic System Check?

--

Go to Step 2

Go to Diagnostic System Check - ABS

2

  1. Install a scan tool.
  2. Start the engine.
  3. With the scan tool, observe the DTC information parameter in the PCM Diagnostic Trouble Codes (DTCs).

Does the scan tool display DTC P1571 as current?

--

Go to DTC P1571 Traction Control Torque Request Circuit in Engine Controls - 4.6L

Go to Step 3

3

Inspect the EBCM ground and PCM ground, making sure each ground is clean and torqued to the proper specification. Refer to Circuit Testing and Wiring Repairs in Wiring Systems.

Did you find and correct the condition?

--

Go to Step 14

Go to Step 4

4

With the scan tool, observe the Requested Torque parameter in the Delco/Bosch ABS/TCS ICCS (if equipped) data list.

Does the scan tool display within the specified range?

5-95%

Go to Testing for Intermittent Conditions and Poor Connections in Wiring Systems

Go to Step 5

5

  1. Turn OFF the ignition.
  2. Disconnect the EBCM harness connector.
  3. Install the J 39700 universal breakout box using the J 39700-25 cable adapter to the EBCM harness connector and the EBCM connector.
  4. Start the engine.
  5. Measure the DC duty cycle between the requested torque signal circuit and a good ground.

Is the duty cycle within the specified range?

5-95%

Go to Step 6

Go to Step 7

6

Measure the DC Hz between the requested torque signal circuit and a good ground.

Does the frequency measure within the specified range?

121-134 Hz

Go to Step 11

Go to Step 10

7

  1. Turn OFF the ignition.
  2. Disconnect the J 39700-25 cable adapter from the EBCM connector.
  3. Important: Disconnecting the EBCM connector and turning ON the ignition could cause other modules to set loss of communication DTCs (Uxxxx). Once the EBCM is reconnected, the EBCM may set DTC C1298 PCM Class 2 Serial Data Link Malfunction.

  4. Turn ON the ignition, with the engine OFF.
  5. Measure the voltage from the requested torque signal circuit to a good ground.

Does the voltage measure near or greater than the specified value?

5 V

Go to Step 8

Go to Step 9

8

  1. Turn OFF the ignition.
  2. Disconnect the powertrain control module (PCM) harness connector.
  3. Test the requested torque signal circuit for a short to voltage. Refer to Circuit Testing and Wiring Repairs in Wiring Systems.

Did you find and correct the condition?

--

Go to Step 14

Go to Step 11

9

  1. Turn OFF the ignition.
  2. Disconnect the powertrain control module (PCM) harness connector.
  3. Test the requested torque signal circuit for the following conditions:
  4. • An open
    • A short to ground
    • A high resistance

Refer to Circuit Testing and Wiring Repairs in Wiring Systems.

Did you find and correct the condition?

--

Go to Step 14

Go to Step 10

10

Inspect for poor connections the harness connector of the PCM. Refer to Testing for Intermittent Conditions and Poor Connections and Connector Repairs in Wiring Systems.

Did you find and correct the condition?

--

Go to Step 14

Go to Step 12

11

Inspect for poor connections the harness connector of the EBCM. Refer to Testing for Intermittent Conditions and Poor Connections and Connector Repairs in Wiring Systems.

Did you find and correct the condition?

--

Go to Step 14

Go to Step 13

12

Important: The replacement PCM must be programmed.

Replace the PCM. Refer to Powertrain Control Module Replacement/Programming in Engine Controls - 4.6L.

Did you find and correct the condition?

--

Go to Step 14

--

13

Replace the EBCM. Refer to Electronic Brake Control Module Replacement .

Did you complete the repair?

--

Go to Step 14

--

14

  1. Use the scan tool in order to clear the DTCs.
  2. Operate the vehicle within the Conditions for Running the DTC as specified in the supporting text.

Does the DTC reset?

--

Go to Step 2

System OK