GM Service Manual Online
For 1990-2009 cars only

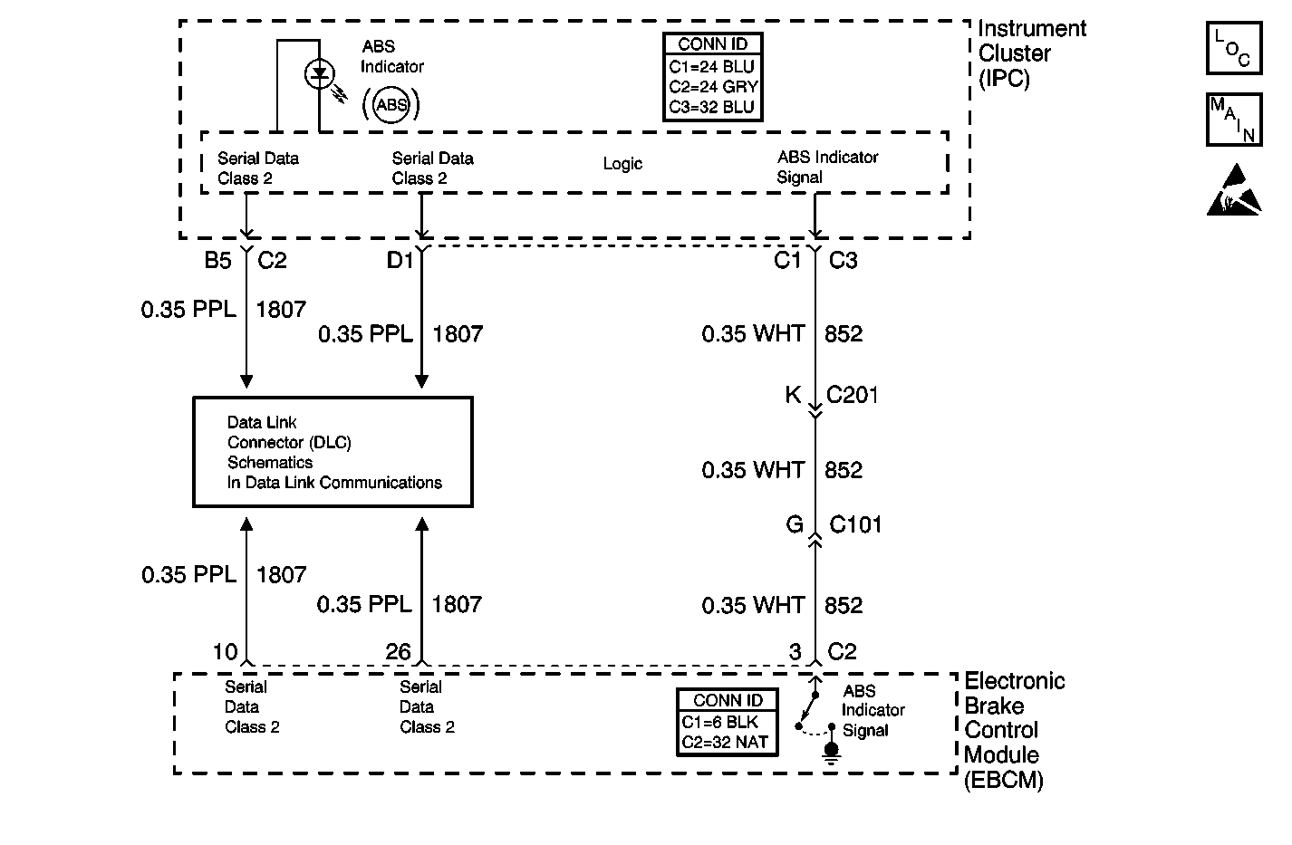
Object Number: 592770  Size: MF
ABS Components
Indicators and Traction Control Switch
Handling ESD Sensitive Parts Notice
Power, Ground, and Class 2 (1 of 2)

Circuit Description

The instrument cluster controls the operation of the ABS indicator. The electronic brake control module (EBCM) reports the desired status of the ABS indicator via serial data messages. The ABS indicator signal circuit is a back-up reporting circuit to the serial data messages. The EBCM supplies ground through the circuit when the ABS is operating properly. When there is a problem with ABS that should turn on the ABS indicator, the EBCM opens the ABS indicator signal circuit. If there is a problem with the ABS serial data messages, the instrument cluster uses the ABS indicator signal to determine if the ABS indicator should be illuminated. Using the serial data messages and back-up circuit, the instrument cluster decides whether to turn on the ABS indicator.

Conditions for Running the DTC

The ignition is ON.

Conditions for Setting the DTC

One of the following conditions exists for 2 seconds:

    • An open - the ABS indicator signal circuit resistance is greater than 5 kohms. The condition is detected when the ABS indicator is commanded ON.
    • A short to ground - the ABS indicator signal circuit voltage is less than 1.7 volts. The condition is detected when the ABS indicator is commanded ON.
    • A short to voltage - the ABS indicator signal circuit voltage is greater than 4.5 volts. The condition is detected when the ABS indicator is commanded OFF.

Action Taken When the DTC Sets

    • The ABS remains functional.
    • The ABS indicator remains OFF.

Conditions for Clearing the DTC

    • The condition for the DTC is no longer present (the DTC is not current) and you used the scan tool Clear DTC function.
    • The condition for the DTC is no longer present (the DTC is not current) and you used the On-Board Diagnostics Clear DTC function.
    • The EBCM automatically clears the history DTC when a current DTC is not detected in 50 consecutive drive cycles.

Test Description

The numbers below refer to the step numbers on the diagnostic table.

  1. Uses the scan tool in order to verify the normal state of the ABS indicator signal circuit.

  2. Ensures that the instrument cluster can operate the ABS indicator.

Step

Action

Yes

No

Schematic Reference: Antilock Brake System Schematics

1

Did you perform the ABS Diagnostic System Check?

Go to Step 2

Go to Diagnostic System Check - ABS

2

  1. Install a scan tool.
  2. Turn ON the igntion, with the engine OFF.
  3. With the scan tool, observe the ABS Warning Lamp parameter in the Delco/Bosch ABS/TCS ICCS (if equipped) data list.

Does the scan tool display Off?

Go to Step 3

Go to Step 4

3

  1. Turn OFF the ignition.
  2. Turn ON the ignition, with the engine OFF.
  3. Observe the ABS indicator on the instrument cluster (IPC) during the bulb check.

Does the ABS indicator illuminate during the bulb check?

Go to Step 4

Go to Step 6

4

  1. Turn OFF the ignition.
  2. Disconnect the EBCM harness connector
  3. Connect the J 39700 universal pinout box using the J 39700-25 cable adapter to the EBCM harness connector only.
  4. Disconnect the instrument cluster harness connector.
  5. Test the ABS indicator signal circuit for the following conditions:
  6. • An open
    • A short to ground
    • A short to voltage
    • A high resistance

Refer to Circuit Testing and Wiring Repairs in Wiring Systems.

Did you find and correct the condition?

Go to Step 9

Go to Step 5

5

Inspect for poor connections at the harness connector of the EBCM. Refer to Testing for Intermittent Conditions and Poor Connections and Connector Repairs in Wiring Systems.

Did you find and correct the condition?

Go to Step 9

Go to Step 7

6

Inspect for poor connections at the harness connector of the instrument cluster (IPC). Refer to Testing for Intermittent Conditions and Poor Connections and Connector Repairs in Wiring Systems.

Did you find and correct the condition?

Go to Step 9

Go to Step 8

7

Replace the EBCM. Refer to Electronic Brake Control Module Replacement .

Did you complete the repair?

Go to Step 9

--

8

Replace the instrument cluster (IPC). Refer to Instrument Cluster Replacement in Instrument Panel, Gauges and Console.

Did you complete the repair?

Go to Step 9

--

9

  1. Use the scan tool in order to clear the DTCs.
  2. Operate the vehicle within the Conditions for Running the DTC as specified in the supporting text.

Does the DTC reset?

Go to Step 2

System OK