GM Service Manual Online
For 1990-2009 cars only

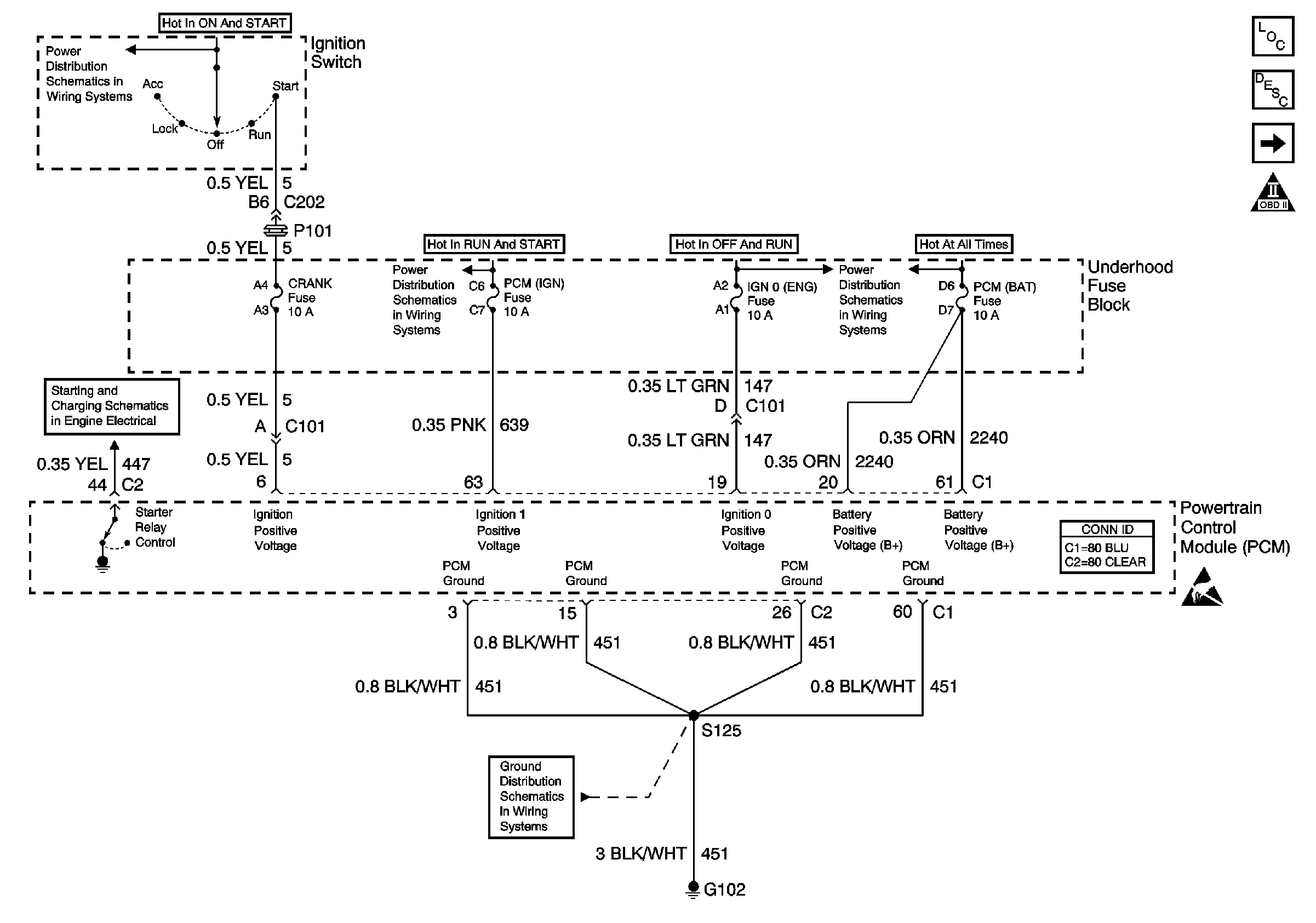
Refer to Engine Controls Schematics

PCM Power and Grounds


Object Number: 584716  Size: FS
Engine Controls Components
Information Sensors/Switches Description
MIL Control and DLC
OBD II Symbol Description Notice
Handling ESD Sensitive Parts Notice
PCM (BAT), A/C COMP, PARK/REV Fuses and A/C COMPRESSOR Relay
CRUISE, DIS, and PCM (IGN) Fuses
BATT 2 Fuse and Ignition Switch (2 of 2)
G102
.

Circuit Description

The powertrain control module (PCM) monitors the system voltage to make sure that the voltage stays within the proper range. Damage to components, and inaccurate data input can occur with incorrect system voltage. The PCM monitors the voltage over an extended length of time. If the PCM detects a system voltage below the expected range for a calibrated length of time, DTC P0560 will set.

Conditions for Running the DTC

    • Engine run time is more than 600 seconds (10 minutes).
    • Engine speed above 1500 RPM.
    • Vehicle speed below 40 km/h (25 mph).

Conditions for Setting the DTC

The PCM detects a system voltage below 11 volts for 2 seconds.

Action Taken When the DTC Sets

    • The PCM will not illuminate the malfunction indicator lamp (MIL).
    • The PCM will command a message to be displayed.
    • The PCM will store conditions which were present when the DTC set as Fail Records data only.

Conditions for Clearing the DTC

    • The PCM will command the message OFF after one trip in which the diagnostic test has been run and passed.
    • The history DTC will clear after 40 consecutive warm-up cycles have occurred without a malfunction.
    • The DTC can be cleared by using the scan tool Clear DTC Information function.

Diagnostic Aids

If the condition is intermittent, refer to Intermittent Conditions in Symptoms.

Test Description

The numbers below refer to the step numbers on the diagnostic table.

  1. If ignition voltage and IPC battery voltage are within 0.5 volt of each other, there may be a system voltage condition. If they are not within 0.5 volt of each other, find out why the PCM is different.

  2. Checking if PCM ignition voltage is actually displaying system voltage.

  3. Checking for an open or high resistance in the ignition feed circuit.

Step

Action

Value(s)

Yes

No

1

Did you perform the Powertrain On Board Diagnostic (OBD) System Check?

--

Go to Step 2

Go to Powertrain On Board Diagnostic (OBD) System Check

2

  1. Start the engine.
  2. With the scan tool, observe the Ignition 1 voltage display.
  3. Compare the Ignition 1 display to the battery voltage displayed by the IPC message center.

Are PCM and IPC voltage readings different by more than the value specified?

1.0 volts

Go to Step 3

Go to Diagnostic System Check - Engine Electrical in Engine Electrical

3

With the DMM measure voltage to ground on the PCM fuse (installed).

Are the Ignition 1 and DMM voltage readings different by more than the value specified?

1.0 volts

Go to Step 4

Go to Diagnostic System Check - Engine Electrical in Engine Electrical

4

  1. Test for high resistance in the ignition feed circuit.
  2. If a high resistance condition is found, repair as necessary. Refer to Wiring Repairs in Wiring Systems.

Did you find and correct the condition?

--

Go to Step 7

Go to Step 5

5

  1. Test the ignition 1 circuit at the PCM for poor connections. Refer to Testing for Intermittent Conditions and Poor Connections in Wiring Systems.
  2. If a condition is found, repair as necessary. Refer to Wiring Repairs in Wiring Systems.

Did you find and correct the condition?

--

Go to Step 7

Go to Step 6

6

Important: The replacement PCM must be programmed.

Replace the PCM. Refer to Powertrain Control Module Replacement/Programming .

Is the action complete?

--

Go to Step 7

--

7

  1. Review and record the scan tool Fail Records data.
  2. Clear the DTC(s).
  3. Operate the vehicle with the parameter listed in the Conditions for Running the DTC.
  4. With the scan tool, observe the Specific DTC Information for DTC P0560 until the test runs.

Does the scan tool indicate that DTC P0560 passed?

--

System OK

Go to Step 2