GM Service Manual Online
For 1990-2009 cars only

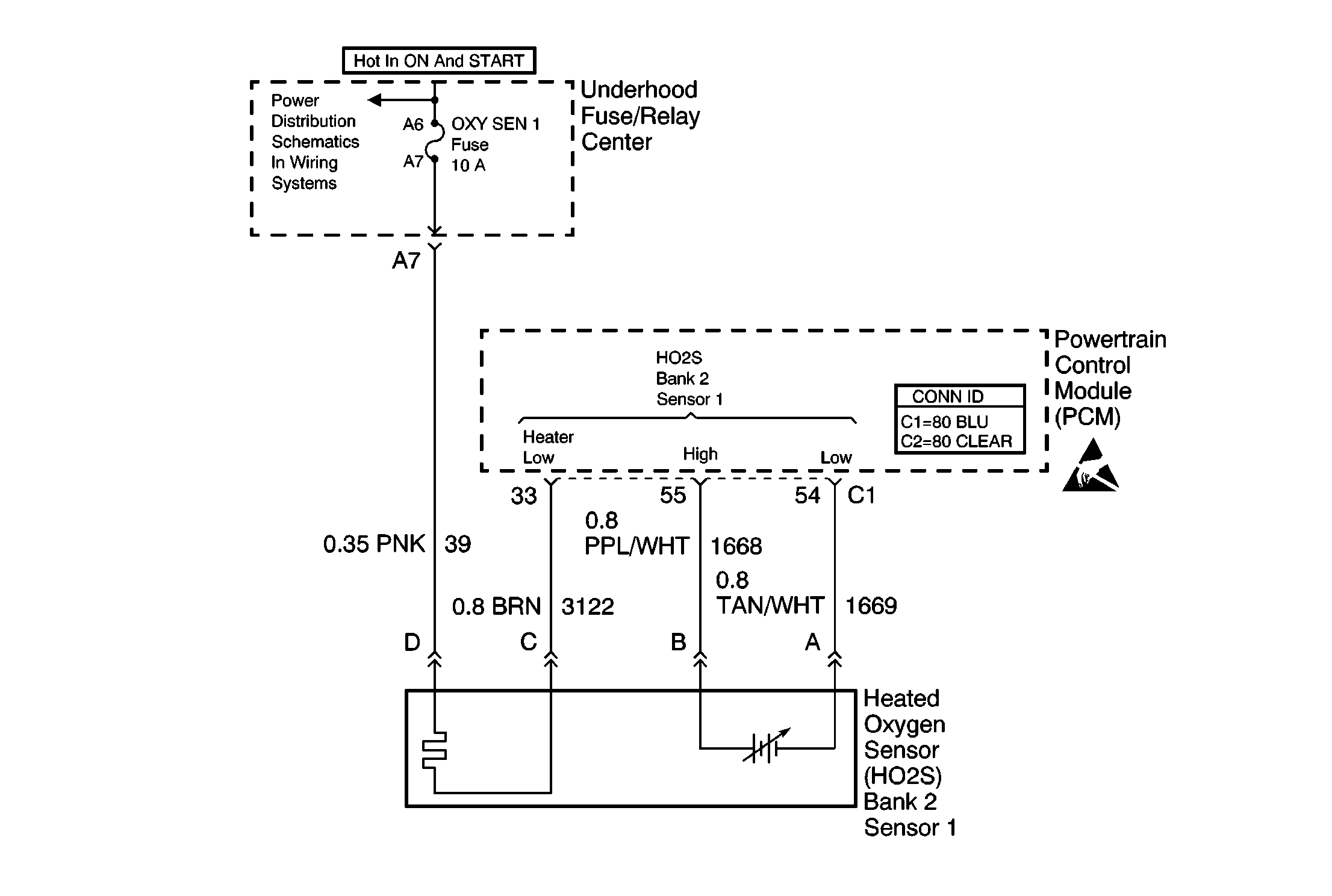
Object Number: 602217  Size: MF
Engine Controls Component Views
Heated Oxygen Sensors
OBD II Symbol Description Notice
Handling ESD Sensitive Parts Notice

Circuit Description

The heated oxygen sensor (HO2S) is a sensor used to detect oxygen-content in the exhaust. The powertrain control module (PCM) supplies the sensor with a signal circuit and a ground circuit. The PCM supplies a bias voltage between the circuits. The sensor varies the voltage based on the oxygen content in the exhaust. When the exhaust stream is lean (more oxygen), the sensor produces a low voltage signal. When the exhaust stream is rich (less oxygen), the sensor produces a high voltage signal.

The PCM monitors the HO2S signal during closed loop. To correct for rich or lean conditions, the PCM adjusts the injector pulse width. If HO2S bank 2 sensor 1 remains at or near the bias voltage for a calibrated period of time, DTC P0154 will set.

Conditions for Running the DTC

    • No TP sensor, MAF sensor, MAP sensor, IAT sensor, ECT sensor, HO2S Heater, EVAP system, AIR system, fuel injector, fuel trim, EGR system, Catalyst system, or system voltage DTCs are set.
    • System voltage is between 8-18 volts.
    • Engine is running.

Conditions for Setting the DTC

HO2S bank 2 sensor 1 signal voltage remain within 300-500 mV for approximately 80 seconds.

Action Taken When the DTC Sets

    • The PCM illuminates the malfunction indicator lamp (MIL) during the second consecutive trip in which the diagnostic test runs and fails.
    • The PCM stores the conditions present when the DTC set as Freeze Frame/Failure Records data.

Conditions for Clearing the MIL/DTC

    • The PCM will turn the MIL OFF after the third consecutive trip in which the diagnostic runs and passes.
    • The history DTC will clear after 40 consecutive warm-up cycles have occurred without a malfunction.
    • The DTC can be cleared by using the scan tool Clear DTC Information function.

Diagnostic Aids

If the condition is intermittent, refer to Intermittent Conditions in Symptoms.

Test Description

The numbers below refer to the step numbers on the diagnostic table.

  1. Check the HO2S bank 2 sensor 1 wiring, the PCMs response. With the harness connector terminals jumpered together, the scan tool should display an HO2S bank 2 sensor 1 voltage below 150 mV.

  2. This vehicle is equipped with a PCM which utilizes an electrically erasable programmable read only memory (EEPROM). When the PCM is being replaced, the new PCM must be programmed.

Step

Action

Values

Yes

No

1

Did you perform the Powertrain On Board Diagnostic (OBD) System Check?

--

Go to Step 2

Go to Powertrain On Board Diagnostic (OBD) System Check

2

Are any DTCs set other than DTC P0154?

--

Diagnose the DTCs first. Go to Diagnostic Trouble Code (DTC) List/Type

Go to Step 3

3

  1. With the engine at operating temperature, raise and hold the engine speed above 1200 RPM for two minutes.
  2. Monitor the HO2S bank 2 sensor 1 voltage display on the scan tool.

Does the scan tool indicate HO2S bank 2 sensor 1 voltage varying outside the specified values?

300-500 mV

Go to Step 4

Go to Step 5

4

  1. Review and record scan tool Fail Records data.
  2. Operate the vehicle within the Fail Records conditions.
  3. With the scan tool, monitor the Specific DTC Information for DTC P0154 until the test runs.

Does the scan tool indicate DTC P0154 failed last test?

--

Go to Step 5

Go to Diagnostic Aids

5

  1. Disconnect the HO2S bank 2 sensor 1 harness connector.
  2. Turn ON the ignition, with the engine OFF.
  3. Jumper the HO2S bank 2 sensor 1 signal and low circuits in the harness connector (PCM side).
  4. Observe the HO2S bank 2 sensor 1 voltage display on the scan tool.

Does the scan tool indicate an HO2S bank 2 sensor 1 voltage below the specified value?

150 mV

Go to Step 7

Go to Step 6

6

  1. Turn OFF the ignition.
  2. Disconnect the PCM connector C1. Refer to Powertrain Control Module Replacement/Programming .
  3. Test for the following conditions:
  4. • Open signal circuit
    • Open low circuit
    • Poor terminal connections at the PCM
  5. If a condition is found, repair as necessary. Refer to Wiring Repairs in Wiring System.

Did you find and correct the condition?

--

Go to Step 10

Go to Step 9

7

  1. Inspect for poor terminal connections at the HO2S bank 2 sensor 1 harness connector. Refer to Testing for Intermittent Conditions and Poor Connections in Wiring Systems.
  2. If a condition is found, repair as necessary. Refer to Wiring Repairs in Wiring Systems.

Did you find and correct the condition?

--

Go to Step 10

Go to Step 8

8

Replace the sensor sensor. Refer to Heated Oxygen Sensor Replacement - Bank 2 .

Is the action complete?

--

Go to Step 10

--

9

Important:: The replacement PCM must be programmed.

Replace the PCM. Refer to Powertrain Control Module Replacement/Programming .

Is the action complete?

--

Go to Step 10

--

10

  1. Review and record scan tool Fail Records data.
  2. Clear DTCs.
  3. Operate the vehicle within Fail Records conditions.
  4. With a scan tool, monitor Specific DTC info for DTC P0154 until the test runs.

Does the scan tool indicate DTC P0154 passed?

--

System OK

Go to Step 2