GM Service Manual Online
For 1990-2009 cars only

Object Number: 590361  Size: MF
Lighting Systems Components
Backup Lamps
IGN 1, COOL FANS, BATT 1, and BRAKES Fuses
PCM (BAT), A/C COMP, PARK/REV Fuses and A/C COMPRESSOR Relay
Handling ESD Sensitive Parts Notice

Circuit Description

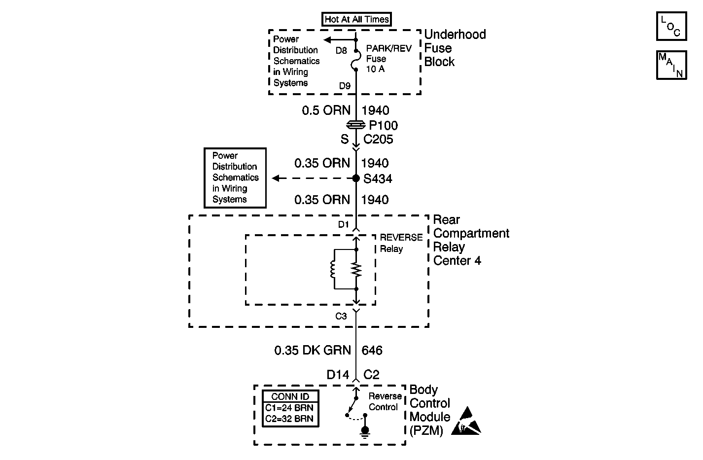
When the body control module (PZM) receives a class 2 serial data message that the transaxle is in reverse, the PZM energizes the reverse lamp relay and the backup lamps are turned on. When the PZM has commanded the backup lamps on, the voltage at connector C2 terminal D14 is measured every 1000 ms.

Conditions for Setting the DTC

The PZM determines the voltage at connector C2 terminal D14 is not at ground potential for at least 2 seconds.

DTC Will Clear When

The PZM determines the voltage at connector C2 terminal D14 is greater than ground for at least 1 monitoring cycle.

Step

Action

Value(s)

Yes

No

1

Did you perform the Lighting Systems Diagnostic System Check?

--

Go to Step 2

Go to Diagnostic System Check - Lighting Systems

2

  1. Disconnect the reverse relay.
  2. Turn ON the ignition, with the engine OFF.
  3. Connect a test lamp between CKT 646 (DK GRN) at terminal C3 of the reverse relay and a good ground.

Does the test lamp illuminate?

--

Go to Step 3

Go to Step 4

3

Test for a short to voltage in CKT 646 (DK GRN) between the reverse relay and the body control module (PZM). Refer to Circuit Testing and Wiring Repairs in Wiring Systems.

Did you find and correct the condition?

--

Go to Step 6

Go to Step 5

4

Replace the reverse relay.

Did you complete the replacement?

--

Go to Step 6

--

5

Replace the Body control module (PZM). Refer to Body Control Module Replacement in Body Control Systems.

Did you complete the replacement?

--

Go to Step 6

--

6

  1. Use the scan tool in order to clear the DTCs.
  2. Operate the vehicle within the Conditions for Running the DTC as specified in the supporting text.

Does the DTC reset?

--

Go to Step 2

System OK.