GM Service Manual Online
For 1990-2009 cars only

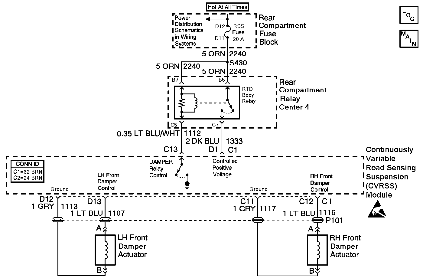
Object Number: 638038  Size: MF

Circuit Description

The LF damper actuator is controlled by the Electronic Suspension Control Module with a Pulse-Width Modulation (PWM) signal. Battery voltage is modulated (switched on and off) at a high frequency (2.0 kHz), thus, controlling the amount of current delivered to the actuator. By controlling the amount of current to the actuator, the Electronic Suspension Control Module can then control the damping force in the damper. A higher level of damping force is achieved by providing correspondingly higher current levels, relating to higher percentages of PWM duty cycle.

The default damper state (no battery voltage) is one that provides a minimum damping force.

Conditions for Running the DTC

    • The ignition is on.
    • The fault is detected during three consecutive ignition cycles, or during the same ignition cycle after clearing the DTC with the scan tool.

Conditions for Setting the DTC

The DTC is set when the Electronic Suspension Control Module measures a feedback voltage between two threshold values during two consecutive damper diagnostic test procedures. The threshold voltages required to set the DTC varies based upon battery voltage and the PWM signal.

Action Taken When the DTC Sets

    • The LF damper actuator will be disabled by commanding 0 percent PWM duty cycle (ground switch open).
    • The LF corner of the vehicle will be soft.
    • The SERVICE RIDE CONTROL message will be displayed.

Conditions for Clearing the MIL/DTC

    • The scan tool can be used to clear the DTC.
    • The On-Board diagnostic CLEAR RSS CODES feature can be used to clear the DTC.
    • The DTC is saved as history when the Electronic Suspension Control Module no longer sees an open in the actuator circuit. The DTC will clear if the fault does not return after 50 consecutive ignition cycles.

Diagnostic Aids

Refer to Testing for Intermittent Conditions and Poor Connections in Wiring Systems.

Test Description

The number(s) below refer to the step number(s) on the diagnostic table.

  1. Tests for voltage at the coil side of the LF strut actuator.

  2. Verifies that the Electronic Suspension Control Module is providing ground to the LF strut actuator.

  3. Tests if ground is constantly being applied to the LF strut actuator.

Step

Action

Value(s)

Yes

No

1

Did you perform the Road Sensing Suspension Diagnostic System Check?

--

Go to Step 2

Go to Diagnostic System Check

2

  1. Install a scan tool.
  2. Turn ON the ignition, with the engine OFF.
  3. With a scan tool, command the LF strut actuator ON and OFF.

Does the LF strut actuator turn ON and OFF with each command?

--

Go to Diagnostic Aids

Go to Step 3

3

  1. Turn OFF the ignition.
  2. Disconnect the LF strut actuator.
  3. Turn ON the ignition, with the engine OFF.
  4. Probe the damper control circuit of the LF strut actuator with a test lamp that is connected to a good ground.

Does the test lamp illuminate?

--

Go to Step 4

Go to Step 10

4

  1. Connect a test lamp between the ground circuit of the LF strut actuator and the damper control circuit of the LF strut actuator.
  2. With a scan tool, command the LF strut actuator ON and OFF .

Does the test lamp turn ON and OFF with each command?

--

Go to Step 8

Go to Step 5

5

Does the test lamp remain illuminated with each command?

--

Go to Step 7

Go to Step 6

6

Test the ground circuit of the LF strut actuator for an open. Refer to Circuit Testing and Wiring Repairs in Wiring Systems.

Did you find and correct the condition?

--

Go to Step 13

Go to Step 9

7

Test the ground circuit of the LF strut actuator for a short to ground. Refer to Circuit Testing and Wiring Repairs in Wiring Systems.

Did you find and correct the condition?

--

Go to Step 13

Go to Step 9

8

Inspect for poor connections at the LF strut actuator. Refer to Testing for Intermittent Conditions and Poor Connections and Connector Repairs in Wiring Systems.

Did you find and correct the condition?

--

Go to Step 13

Go to Step 11

9

Inspect for poor connections at the harness connector of the Electronic Suspension Control Module. Refer to Testing for Intermittent Conditions and Poor Connections and Connector Repairs in Wiring Systems.

Did you find and correct the condition?

--

Go to Step 13

Go to Step 12

10

Repair the damper control circuit of the LF strut actuator. Refer to Wiring Repairs in Wiring Systems.

Did you complete the repair?

--

Go to Step 13

--

11

Replace the LF strut. Refer to Strut Assembly Replacement in Front Suspension.

Did you complete the replacement?

--

Go to Step 13

--

12

Important: Perform the set up and calibration procedure for the Electronic Suspension Control Module.

Replace the Electronic Suspension Control Module. Refer to Electronic Suspension Control Module Replacement .

Did you complete the replacement?

--

Go to Step 13

--

13

  1. Use the scan tool in order to clear the DTCs .
  2. Operate the vehicle within the Conditions for Running the DTC as specified in the supporting text.

Does the DTC reset?

--

Go to Step 2

System OK