GM Service Manual Online
For 1990-2009 cars only

DTC B2111 Lumbar Down Switch Failed AL2


Object Number: 593039  Size: MF
Power Seat Systems Components
Left Power Lumbar (AL2 with A45)
Handling ESD Sensitive Parts Notice
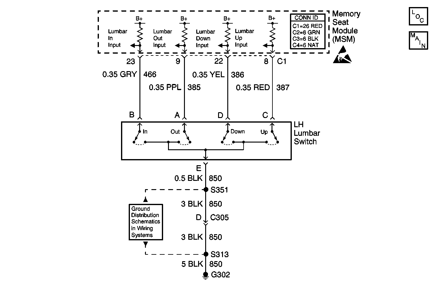
Power Seat Connector End Views
G302 (1 of 2)

Circuit Description

The memory seat module (MSM) receives an input from the LH lumbar switch when the down switch is actuated. When the lumbar switch is operated in the down direction, the MSM lumbar down input via CKT 386 (YEL) is grounded. The MSM recognizes the input and moves the lumbar support in the down direction.

Conditions for Setting the DTC

    •  When the lumbar down switch is active for 30 seconds after motion has ceased, the switch will be considered shorted and the DTC will set.
    •  If the lumbar vertical position sensor DTC B2120 is current and the lumbar down switch is active for 30 seconds, the switch will be considered shorted and the DTC will set.
    • DTC B2111 will set only if DTC B1982 MSM or DTC B1983 MSM is not current.

Action Taken When the DTC Sets

    • The MSM will not move the lumbar support in the down direction.
    • The MSM will continue to respond to valid inputs from the other manual switches.
    • All memory recall function commands will be ignored for all directions.

Conditions for Clearing the DTC

    • The MSM sees that the lumbar down switch is no longer active.
    • Use the On-Boards clearing DTCs feature.
    • Use a scan tool.

Test Description

The numbers below refer to the step numbers on the diagnostic table:

  1. Perform the entire Power Seat Systems Diagnostic System Check before continuing with the diagnosis of this DTC.

  2. Determines whether there is a stuck switch or a short to ground in the wiring input to the memory seat module (MSM). DTC B2111 will set again if there is a short in the wiring or if there is an internal MSM problem. DTC B2111 will not set again if there is a stuck switch because the switch has been disconnected from the memory seat module (MSM) input.

  3. Determines whether there is a short to ground in the input wiring to the MSM.

  4. Clear all DTCs after the repair procedure is complete.

Step

Action

Value(s)

Yes

No

1

Was the entire Power Seat Systems Diagnostic System Check performed?

--

Go to Step 2

Go to Diagnostic System Check - Power Seat Systems

2

  1. Turn the ignition switch to the ON position.
  2. Connect a scan tool to the data link connector (DLC).
  3. Disconnect the LH lumbar switch connector.
  4. Using the scan tool, clear all DTCs. Refer to Diagnostic Trouble Code (DTC) Clearing .

After 30 seconds, does DTC B2111 reset?

--

Go to Step 3

Go to Step 5

3

  1. Disconnect the memory seat module (MSM) connector C2.
  2. Connect a digital multimeter (DMM) from the MSM connector C2 cavity C12 (YEL/BLK) to ground.

Is the resistance less than the specified value?

5 ohms

Go to Step 6

Go to Step 4

4

Replace the memory seat module (MSM). Refer to Memory Seat Control Module Replacement .

Is the MSM replacement complete?

--

Go to Step 7

--

5

Replace the LH lumbar switch. Refer to Power Seat Switch Replacement .

Is the LH lumbar switch replacement complete?

--

Go to Step 7

--

6

Repair the short to ground in CKT 1067 (YEL/BLK). Refer to Wiring Repairs in Wiring Systems.

Is the circuit repair complete?

--

Go to Step 7

--

7

  1. Turn the ignition switch to the OFF position.
  2. Reconnect or install any connectors or components that were disconnected or removed.
  3. Turn the ignition switch to the ON position.
  4. Clear any DTCs. Refer to Diagnostic Trouble Code (DTC) Clearing .

Are all DTCs cleared?

--

Go to Diagnostic System Check - Power Seat Systems

--