GM Service Manual Online
For 1990-2009 cars only

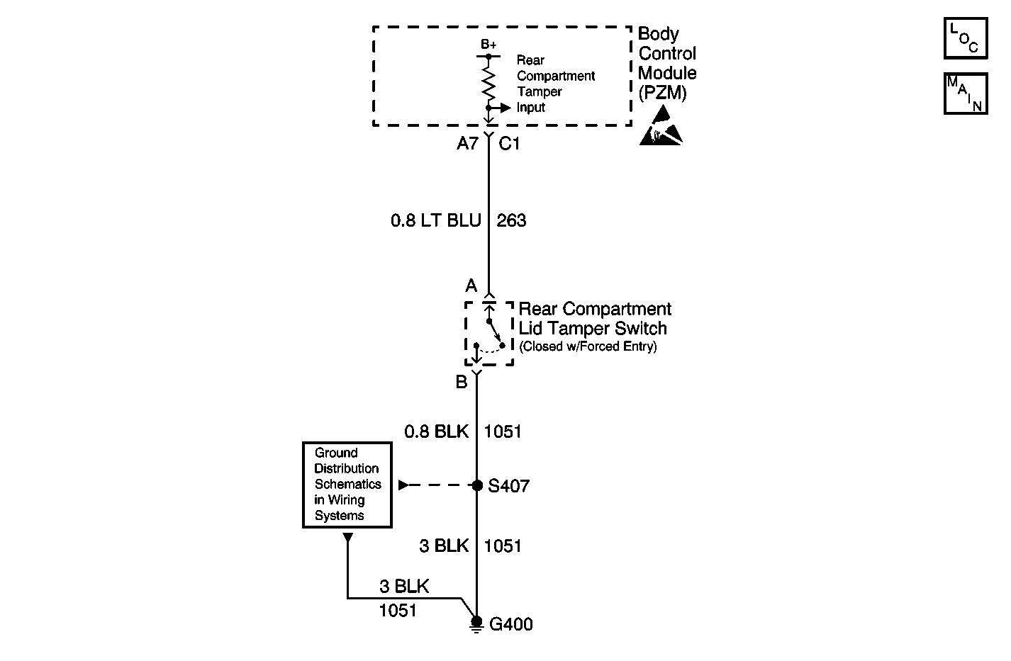
Object Number: 593983  Size: MF
Theft Deterrent System Components
Content Theft Deterrent (CTD)
Handling ESD Sensitive Parts Notice
G400

Circuit Description

The body control module (PZM) runs a test inorder to determine whether the rear compartment lid tamper switch is active. The PZM runs the test when the theft deterrent system is in one of the following states:

    • OFF
    • Idle
    • Ready to arm
    • Arm initiated
    • Arm delay

Conditions for Setting the DTC

The PZM determines that the rear compartment lid tamper switch has been active for 2 seconds.

Action Taken When the DTC Sets

    • The PZM sets DTC B2719 as current, but the PZM still allows the arming of the theft deterrent system, disregarding the input of the rear compartment lid tamper switch.
    • No driver warning message will be displayed for this DTC.

Conditions for Clearing the MIL/DTC

    • The PZM determines that the rear compartment lid switch is no longer active and that the ignition switch has been cycled from OFF to RUN.
    • A history DTC will clear after 50 consecutive ignition cycles if the condition for the malfunction is no longer present.
    • Use the On-Board Clearing DTCs feature.
    • Use a scan tool.

Diagnostic Aids

The following conditions may activate the system intermittently.

    • A loose or corroded rear compartment lid lock cylinder tamper switch connector.
    • The retainer is not firmly installed to the cylinder.

Test Description

The numbers below refer to the step numbers on the diagnostic table.

  1. Perform the Body Control Module Diagnostic System Check.

  2. This tests for a faulty rear compartment lid tamper switch.

  3. This tests CKT 263 for a short to ground.

  4. Clear all of the DTCs after the repair is complete.

DTC B2719 CTD-Trunk Tamper Switch Fault

Step

Action

Value(s)

Yes

No

1

Was the Body Control Module Diagnostic System Check performed?

--

Go to Step 2

Go to Diagnostic System Check - Body Control System

2

  1. Disconnect the body control module (PZM).
  2. Measure the resistance from the PZM connector C1 terminal A7 to ground.

Is the resistance within the specified range?

0-5 ohms

Go to Step 4

Go to Step 3

3

Replace the PZM. Refer to Body Control Module Replacement .

Is the repair complete?

--

Go to Step 7

--

4

  1. Disconnect the rear compartment lid tamper switch.
  2. Measure the resistance from the PZM connector C1 terminal A7 to ground.

Is the resistance within the specified range?

0-5 ohms

Go to Step 5

Go to Step 6

5

Repair the short to ground in CKT 263 (LT BLU).

Refer to Wiring Repairs in Wiring Systems.

Is the repair complete?

--

Go to Step 7

--

6

Replace the rear compartment lid tamper switch.

Is the repair complete?

--

Go to Step 7

--

7

  1. Turn OFF the ignition switch.
  2. Connect or install any connectors or components that were disconnected or removed.
  3. Turn ON the ignition.
  4. Clear all of the DTCs. Refer to Diagnostic Trouble Code (DTC) Clearing in HVAC System-Automatic.

Are all of the DTCs cleared?

--

Go to Diagnostic System Check - Body Control System

--