GM Service Manual Online
For 1990-2009 cars only

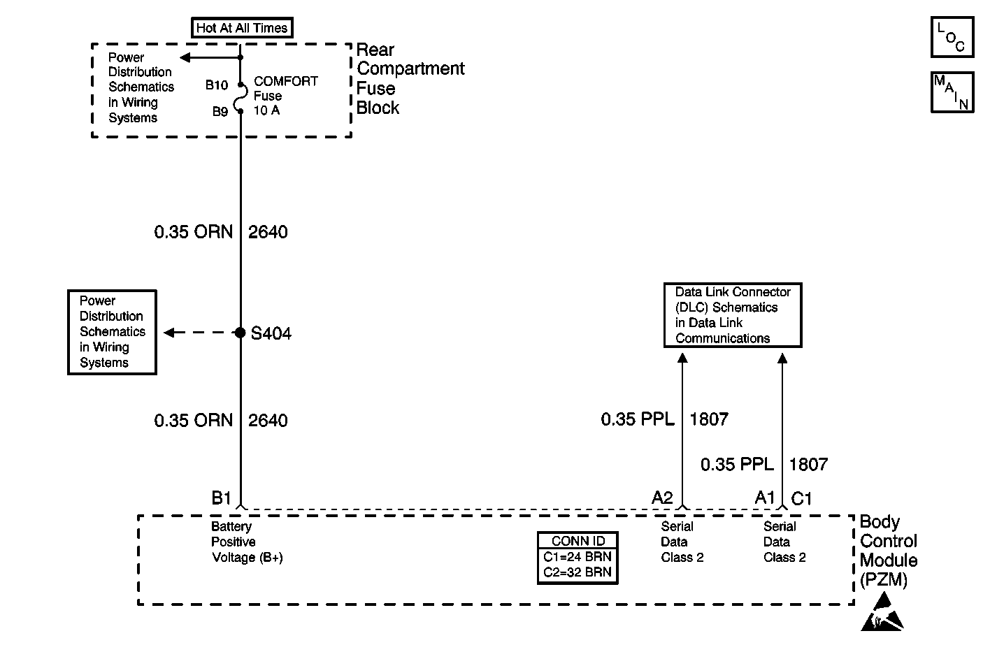
Object Number: 593985  Size: MF
Body Control Module Components
Body Control Module Inputs and Outputs (2 of 4)
BODY 3 and INADVERT Fuses
COMFORT Fuse
Power, Ground, and Class 2 (1 of 2)
Handling ESD Sensitive Parts Notice

Circuit Description

Battery voltage is supplied to the body control module (PZM) at connector C1 terminal B1. While the PZM is awake the battery voltage at connector C1 terminal B3 is measured every 300 ms.

Conditions for Setting the DTC

The battery voltage measured at connector C1 terminal B1 is less than 9 volts for 4 monitoring cycles.

Action Taken When the DTC Sets

When DTC B1983 is current, class 2 loss of serial data DTCs will not be set.

Conditions for Clearing the DTC

    • The battery voltage is more than 9.5 volts in the next monitoring cycle.
    • A history code clears after 50 consecutive ignition cycles if the condition is no longer present.

Diagnostic Aids

Use a scan tool in order to monitor the battery voltage display of several modules. If the displayed battery voltage is 9 volts or less, refer to Diagnostic System Check - Engine Electrical in Engine Electrical.

Step

Action

Value(s)

Yes

No

1

Was the Body Control Module Diagnostic System Check performed?

Go to Step 2

Go to Diagnostic System Check - Body Control System

2

  1. Connect a scan tool to the vehicle.
  2. Turn ON the ignition, engine running.

Retrieve the IPC DTCs?

Is DTC B1983 current?

--

Go to Diagnostic System Check - Engine Electrical in Engine Electrical

Go to Step 3

3

  1. Disconnect the PZM.
  2. Measure the voltage from the PZM connector C1 terminal B1 to ground.

Is the voltage within the specified range?

10-15 V

Go to Step 4

Go to Step 5

4

Replace the PZM. Refer to Body Control Module Replacement .

Is the repair complete?

--

Go to Diagnostic System Check - Body Control System

--

5

Repair the high resistance in CKT 2640 (ORN).

Is the repair complete?

--

Go to Diagnostic System Check - Body Control System

--