GM Service Manual Online
For 1990-2009 cars only
Figure 1:

EBCM Power and Ground, BPMV, and Stop Lamp Switch


Object Number: 714145  Size: FS
Master Electrical Component List
Wheel Speed Sensors
Battery Feeds
LAMPS and IGN 1 Fuses
Cruise Control Module
Turn Signal Flasher, Hazard Flasher, and Stoplamp/AT Shift Lock Control Switch
G103, G107, G109, and G110
Figure 2:

Wheel Speed Sensors


Object Number: 714149  Size: FS
Master Electrical Component List
Vehicle Stability Enhancement System (w/JL4)
Power, Ground, Stoplamp Switch, Solenoid Valves, and Pump Motor
Antilock Brake System Schematic Icons
Antilock Brake System Schematic Icons
Antilock Brake System Schematic Icons
Antilock Brake System Schematic Icons
Antilock Brake System Schematic Icons
Antilock Brake System Schematic Icons
Antilock Brake System Schematic Icons
Antilock Brake System Schematic Icons
Antilock Brake System Schematic Icons
Antilock Brake System Schematic Icons
Figure 3:

Vehicle Stability Enhancement System (w/JL4)


Object Number: 714154  Size: FS
Master Electrical Component List
Suspension Inputs, Class 2, Traction Control, and Variable Effort Steering
Wheel Speed Sensors
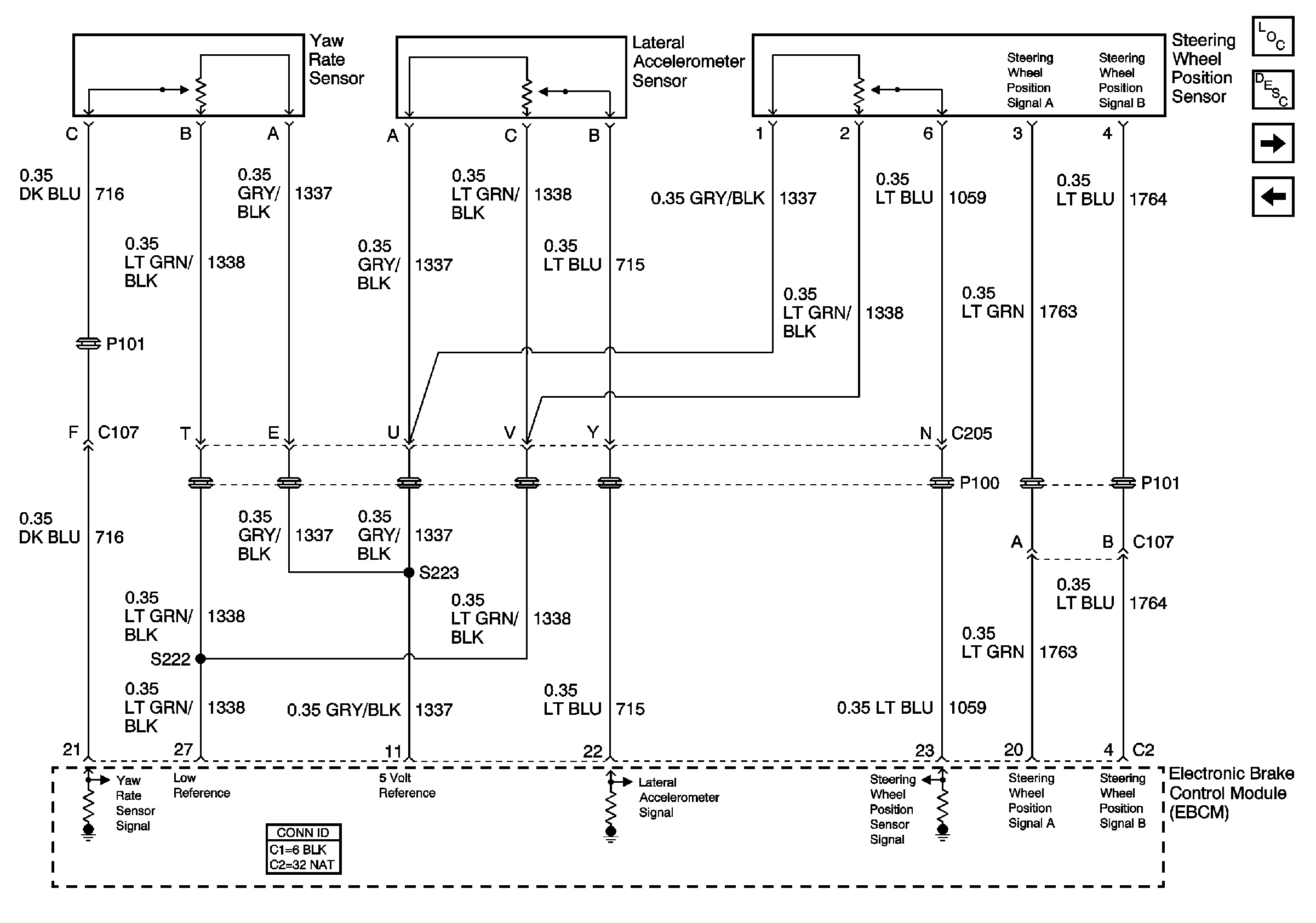
Figure 4:

Suspension Inputs, Class 2, Traction Control, and Variable Effort Steering


Object Number: 714159  Size: FS
Master Electrical Component List
Indicators and Traction Control Switch
Wheel Speed Sensors
Antilock Brake System Schematic Icons
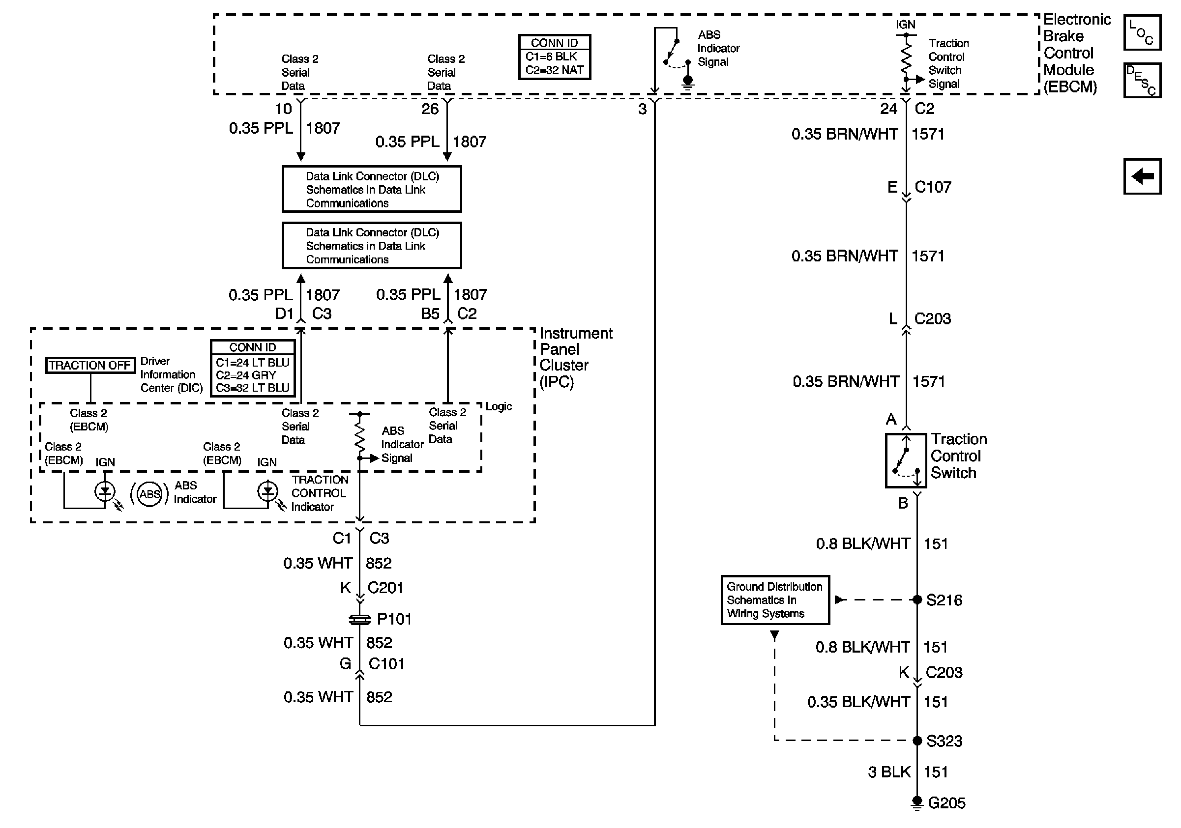
Figure 5:

Indicators and Traction Control Switch


Object Number: 714179  Size: FS
Master Electrical Component List
Suspension Inputs, Class 2, Traction Control, and Variable Effort Steering
Power, Ground and Class 2 (1 of 2)
Power, Ground, and Class 2 (2 of 2)