GM Service Manual Online
For 1990-2009 cars only

Removal Procedure

Servicing of the catalytic converter or pipe requires the replacement of the exhaust system as a complete one-piece unit.

Caution: In order to avoid being burned, do not service the exhaust system while it is still hot. Service the system when it is cool.

Caution: Always wear protective goggles and gloves when removing exhaust parts as falling rust and sharp edges from worn exhaust components could result in serious personal injury.

  1. Raise and support the vehicle. Refer to Lifting and Jacking the Vehicle in General Information.

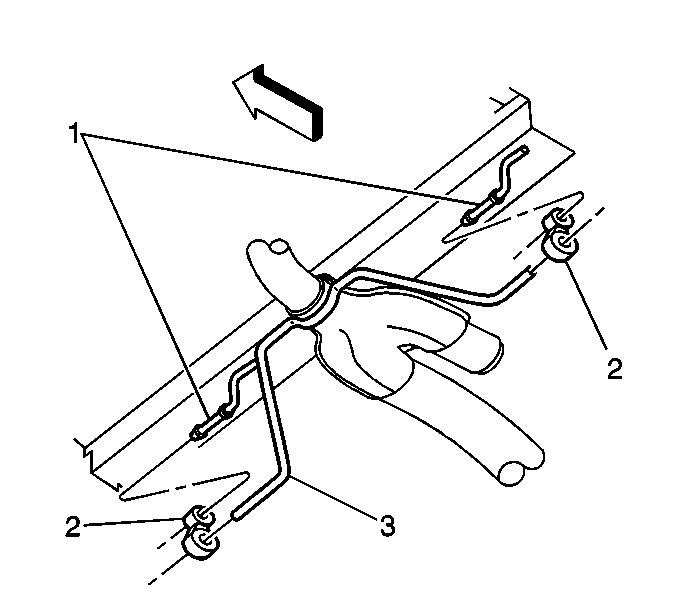
  2. Object Number: 71700  Size: SH
  3. Remove the 4 bolts securing the oxygen sensor wiring harness heat shield to the floor panel.
  4. Remove the oxygen sensor wiring harness heat shield from the floor panel.
  5. Disconnect the heated oxygen sensor at the pigtail.
  6. Remove the heated oxygen sensor if replacement is necessary. Refer to Heated Oxygen Sensor Replacement - Bank 1 Sensor 2 in Engine Controls-4.6L.

  7. Object Number: 722385  Size: SH
  8. Remove the 4 bolts securing the front floor panel tunnel brace to the floor panel.
  9. Remove the front floor panel tunnel brace from the floor panel.
  10. Remove the 4 bolts securing the rear floor panel tunnel brace to the floor panel.
  11. Remove the rear floor panel tunnel brace from the floor panel.

  12. Object Number: 71703  Size: SH
  13. Remove the 4 nuts securing the catalytic converter to the rear exhaust manifold pipe.
  14. Remove the catalytic converter gasket. Do not reuse the gasket.
  15. Suitably support the exhaust system.

  16. Object Number: 720668  Size: SH
  17. Using a pry bar, bend the front body support brackets open, enough to allow the front hangers to be removed.
  18. Remove the front exhaust hangers from both the front body support brackets and the front exhaust pipe hanger rods.

  19. Object Number: 720676  Size: SH
  20. Apply a suitable lubricant to the body support brackets (1) in order to ease the removal of the intermediate exhaust hangers (2).
  21. Pull outward on the intermediate exhaust hangers (2) in order to remove them from the exhaust pipe hanger rods (3).
  22. Pull inward on the intermediate exhaust hangers (2) in order to remove them from the body support brackets (1).

  23. Object Number: 720679  Size: SH
  24. Apply a suitable lubricant to both the body support brackets (1) and the tail pipe hanger rods (3) in order to ease the removal of the tail pipe hangers (2).
  25. Pull outward on the tail pipe hangers (2) in order to remove them from the tail pipe hanger rods (3)
  26. Pull inward on the tail pipe hangers (2) in order to remove them from the body support brackets (1).

  27. Object Number: 722391  Size: SH
  28. With the aid of an assistant, Lower the exhaust system.

Installation Procedure


    Object Number: 71703  Size: SH

    Notice: When inspecting or replacing exhaust system components, make sure there is adequate clearance from all points on the underbody to prevent overheating of the floor pan and possible damage to the passenger compartment insulation and trim materials.

  1. Place a NEW catalytic converter gasket over the catalytic converter studs.
  2. Notice: Do not over-flex or damage the flex joint when moving the flex joint from the normal mounting position.

  3. With the aid of an assistant, raise the exhaust system into position, aligning the catalytic converter with the rear exhaust manifold pipe.
  4. Finger tighten the four nuts to the catalytic converter studs.

  5. Object Number: 720679  Size: SH
  6. Apply a soapy solution to both the body support brackets (1), the tail pipe hanger rods (3), and the inner diameter of the tail pipe hangers (2) in order to ease the installation of the hangers (2).
  7. Press the tail pipe hangers (2) over the body support brackets (1).
  8. Press the tail pipe hangers (2) over the tail pipe hanger rods (3).

  9. Object Number: 720676  Size: SH
  10. Apply a soapy solution to the body support brackets (1) and the inner diameter of the intermediate exhaust hangers (2) in order to ease the installation of the hangers (2).
  11. Press the intermediate exhaust hangers (2) over the body support brackets (1).
  12. Press the intermediate exhaust hangers (2) over the exhaust pipe hanger rods (3).

  13. Object Number: 720671  Size: SH
  14. Place the front exhaust hangers under the front exhaust pipe hanger rods.
  15. Place the front exhaust hangers over the front body support brackets.
  16. Important: Ensure that the gap (1) between the body and the front body support brackets do not exceed 6 mm (0.23 in).

  17. Using a pry bar, bend the front body support brackets closed, securing the front exhaust hangers to the front body support brackets.
  18. Notice: Use the correct fastener in the correct location. Replacement fasteners must be the correct part number for that application. Fasteners requiring replacement or fasteners requiring the use of thread locking compound or sealant are identified in the service procedure. Do not use paints, lubricants, or corrosion inhibitors on fasteners or fastener joint surfaces unless specified. These coatings affect fastener torque and joint clamping force and may damage the fastener. Use the correct tightening sequence and specifications when installing fasteners in order to avoid damage to parts and systems.

  19. Tighten the 4 catalytic converter nuts previously installed in step 3.
  20. Tighten
    Tighten the catalytic converter nuts to 25 N·m (18 lb ft).

  21. Install the heated oxygen sensor. Refer to Heated Oxygen Sensor Replacement - Bank 1 Sensor 2 in Engine Controls-4.6L.

  22. Object Number: 722385  Size: SH
  23. Position the front floor panel tunnel brace to the floor panel.
  24. Install the 4 bolts securing the front floor panel tunnel brace to the floor panel.
  25. Position the rear floor panel tunnel brace to the floor panel.
  26. Install the 4 bolts securing the rear floor panel tunnel brace to the floor panel.
  27. Tighten
    Tighten the floor panel tunnel brace bolts to 24 N·m (18 lb ft).


    Object Number: 71700  Size: SH
  28. Position the oxygen sensor wiring harness heat shield to the floor panel.
  29. Align the holes in the oxygen sensor wiring harness heat shield with the threaded holes in the floor panel.
  30. Install the 4 bolts securing the oxygen sensor wiring harness heat shield to the floor panel.
  31. Tighten
    Tighten the oxygen sensor wiring harness heat shield bolts to 6 N·m (53 lb in).

  32. Lower the vehicle.