GM Service Manual Online
For 1990-2009 cars only

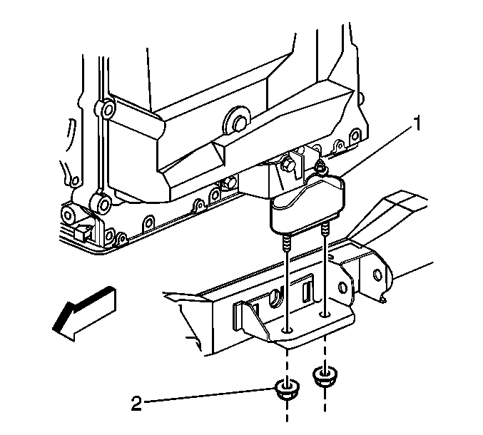
Removal Procedure

  1. Raise the vehicle. Refer to Lifting and Jacking the Vehicle in General Information.
  2. Install a jack stand under the transmission in order to support the powertrain.
  3. Remove the lower mount nuts (2).
  4. Remove the 3 upper mount bolts.
  5. Using the jack stand, slowly raise the powertrain.

  6. Object Number: 644876  Size: SH
  7. Remove the mount (1).

Installation Procedure

  1. Install the transmission mount (1) into the mount bracket.
  2. Using the jack stand, slowly lower the powertrain and load the mount.

  3. Object Number: 644876  Size: SH

    Notice: Use the correct fastener in the correct location. Replacement fasteners must be the correct part number for that application. Fasteners requiring replacement or fasteners requiring the use of thread locking compound or sealant are identified in the service procedure. Do not use paints, lubricants, or corrosion inhibitors on fasteners or fastener joint surfaces unless specified. These coatings affect fastener torque and joint clamping force and may damage the fastener. Use the correct tightening sequence and specifications when installing fasteners in order to avoid damage to parts and systems.

  4. Install the mount nuts (2) and bolts.
  5. Tighten
    Tighten the mount nuts and bolts to 50 N·m (37 lb ft).

  6. Remove the jack stand.
  7. Lower the vehicle. Refer to Lifting and Jacking the Vehicle in General Information.