GM Service Manual Online
For 1990-2009 cars only

Tools Required

    • J 37097-A Hose Clamp Remover/Installer
    • J 38185 Hose Clamp Pliers
    • J 39580 Universal Engine Support Table
    • J 42504 Engine Lift Bracket

Removal Procedure

  1. Disconnect the battery negative cable. Refer to Battery Negative Cable Disconnection and Connection in Engine Electrical.

  2. Object Number: 640486  Size: SH
  3. Disconnect the battery positive cable from the battery and secure to the top of the engine.
  4. Recover the A/C refrigerant system. Refer to Refrigerant Recovery and Recharging in Heating, Ventilation and Air Conditioning.

  5. Object Number: 522640  Size: SH
  6. Disconnect the vacuum brake booster hose from the vacuum connection and position aside.
  7. Remove the air cleaner assembly. Refer to Air Cleaner Assembly Replacement in Engine Controls-4.6L.
  8. Disconnect the fuel inlet and return quick-connect fittings at the fuel rail and secure to the air inlet grille. Refer to Metal Collar Quick Connect Fitting Service or Plastic Collar Quick Connect Fitting Service in Engine Controls-4.6L.

  9. Object Number: 293272  Size: SH
  10. Disconnect the hose (4) from the evaporative emission canister purge valve (3) and secure behind the cruise control module.
  11. Remove the radiator support sight shield. Refer to Radiator Support Sight Shield Replacement in Body Front End.

  12. Object Number: 475295  Size: SH
  13. Remove the 2 nuts (2) from the intake manifold sight shield (1).
  14. Remove the sight shield (1) from the engine.

  15. Object Number: 740369  Size: SH
  16. Disconnect and secure the following wiring harness electrical connectors to the top of the engine:
  17. • The PCM
    • Refer to Powertrain Control Module Replacement in Engine Controls-4.6L.
    • The C101 (1)
    • The engine electrical harness
    • Refer to Underhood Electrical Center or Junction Block Replacement in Wiring Systems.

    Object Number: 723742  Size: SH
  18. Remove the nut securing the battery negative cable to the engine.

  19. Object Number: 474813  Size: SH

    Caution: In order to avoid possible injury or vehicle damage, always replace the accelerator control cable with a NEW cable whenever you remove the engine from the vehicle.

    In order to avoid cruise control cable damage, position the cable out of the way while you remove or install the engine. Do not pry or lean against the cruise control cable and do not kink the cable. You must replace a damaged cable.

  20. Push the lock release and remove the cruise control cable (2) from the throttle body bracket and lever (1).
  21. Remove the accelerator control cable from the throttle body. Refer to Accelerator Control Cable Replacement in Engine Controls-4.6L.

  22. Object Number: 599655  Size: SH
  23. Remove the shift cable (2) from the bracket and manual shift lever (1) and position aside.
  24. Drain the cooling system. Refer to Cooling System Draining and Filling in Engine Cooling.

  25. Object Number: 518337  Size: SH
  26. Position the J 37097-A to the clamp in order to remove the radiator inlet hose (1) from the water housing crossover and position aside.
  27. Position the J 38185 to the clamp in order to remove the radiator outlet hose (2) from the thermostat housing and position aside.
  28. Remove the cooling fans. Refer to Engine Cooling Fan Replacement in Engine Cooling.

  29. Object Number: 739337  Size: SH
  30. Disconnect the surge tank inlet hose from the surge tank.
  31. Remove the accumulator tube, and position the accumulator aside. Refer to Air Conditioning Accumulator Replacement in Heating, Ventilation, and Air Conditioning.

  32. Object Number: 739338  Size: SH
  33. Disconnect the surge tank outlet hose from the heater pipe.
  34. Disconnect the heater hoses from the heater pipes.

  35. Object Number: 740370  Size: SH
  36. Remove the upper transaxle oil cooler pipe fitting from the radiator.
  37. Remove the lower transaxle oil cooler pipe fitting from the radiator.
  38. Notice: The wheels of the vehicle must be straight ahead and the steering column in the LOCK position before disconnecting the steering column or intermediate shaft from the steering gear. Failure to do so will cause the SIR coil assembly to become uncentered, which may cause damage to the coil assembly.

  39. Lock the steering column by removing the ignition key.

  40. Object Number: 740371  Size: SH
  41. Remove the right and left side strut tower nuts.
  42. Remove the engine mount struts. Refer to Engine Mount Strut Replacement .
  43. Raise and support the vehicle. Refer to Lifting and Jacking the Vehicle in General Information.
  44. Remove the rear exhaust manifold pipe. Refer to Exhaust Manifold Rear Pipe Replacement in Engine Exhaust.
  45. Remove the front wheels. Refer to Tire and Wheel Removal and Installation in Tires and Wheels.

  46. Object Number: 740373  Size: SH
  47. Disconnect the front wheel speed sensor electrical connectors.
  48. Disconnect the front wheel speed sensor electrical leads from the strut brackets.

  49. Object Number: 740375  Size: SH
  50. Disconnect the following items, if equipped:
  51. • The road sensing suspension electrical connector (3) from the main body harness
    • The road sensing suspension electrical leads (1) from the electronic suspension position sensor brackets
    • The road sensing suspension electrical leads (1) from the body frame rail retainer (4)
    • The electronic suspension position sensor links (2) from the lower control arms
  52. Remove the engine splash shield. Refer to Engine Splash Shield Replacement in Body Front End.
  53. Remove the front fascia extensions. Refer to Front Bumper Fascia Extension Replacement in Body Front End.
  54. Remove the secondary air injection (AIR) pump. Refer to Secondary Air Injection Pump Replacement in Engine Controls-4.6L.
  55. Caution: Brake fluid may irritate eyes and skin. In case of contact, take the following actions:

       • Eye contact--rinse thoroughly with water.
       • Skin contact--wash with soap and water.
       • If ingested--consult a physician immediately.

  56. Clean all dirt and foreign material from the brake hose and the brake pipe fittings.

  57. Object Number: 497903  Size: SH
  58. Remove the front left brake pipe fitting from the brake hose.
  59. Plug the open outlet ports to prevent fluid loss and contamination.

  60. Object Number: 497902  Size: SH
  61. Use a flat-bladed tool in order to remove the front left brake hose retainer from the brake hose.
  62. Remove the front left brake hose retainer from the brake hose retaining bracket.

  63. Object Number: 740376  Size: SH
  64. Remove the bolt (2) securing the front right brake pipe frame bracket (1) to the body frame rail.
  65. Disconnect the front right brake pipe from the retainer at the body frame rail.
  66. Carefully pull the front right brake pipe away from the body frame rail.

  67. Object Number: 740377  Size: SH

    Important: Record the location of the brake pipes to the brake pressure modulator valve (BPMV) for use as an aid during installation.

  68. Remove the following brake pipes from the BPMV:
  69. • The master cylinder brake pipes
    • The rear brake pipes
    • The left front brake pipe
  70. Plug the open outlet ports to prevent fluid loss and contamination.
  71. Disconnect the A/C pressure sensor.

  72. Object Number: 304954  Size: SH
  73. Disconnect the A/C discharge/suction hose (1) from the compressor (3) and secure to the bottom of the radiator assembly.

  74. Object Number: 105357  Size: SH

    Caution: Failure to disconnect the intermediate shaft from the rack and pinion stub shaft can result in damage to the steering gear and/or damage to the intermediate shaft. This damage may cause loss of steering control which could result in personal injury.

    Notice: The wheels of the vehicle must be straight ahead and the steering column in the LOCK position before disconnecting the steering column or intermediate shaft from the steering gear. Failure to do so will cause the SIR coil assembly to become uncentered, which may cause damage to the coil assembly.

  75. Remove the intermediate shaft pinch bolt.
  76. Remove the steering gear from the intermediate shaft.
  77. Disconnect the post HO2S at the sensor pigtail. Refer to Oxygen Sensor Wiring Harness Heat Shield Replacement in Engine Exhaust.
  78. Remove the engine oil cooler pipes from the engine oil filter adapter, and position aside, if equipped. Refer to Engine Oil Cooler Hose/Pipe Replacement in Engine Cooling.
  79. Remove the generator wire from the back of the generator. Refer to Generator Replacement in Engine Electrical.
  80. Disconnect the positive battery cable from the front of the frame.

  81. Object Number: 333127  Size: SH
  82. Remove the brace between the engine oil pan and the transaxle case.
  83. Remove the torque converter cover. Refer to Torque Converter Cover Replacement in Automatic Transaxle-4T80-E.
  84. Important: Mark the flywheel to torque converter relationship prior to removal of the bolts.

  85. Remove the torque converter to the flywheel bolts.

  86. Object Number: 333118  Size: SH
  87. Position the J 39580 powertrain support dolly under the engine frame.
  88. Lower the vehicle on to the J 39580 .

  89. Object Number: 333761  Size: SH
  90. If the powertrain support dolly is unavailable. Support the powertrain with 4 suitable jackstands.
  91. Caution: To avoid any vehicle damage, serious personal injury or death when major components are removed from the vehicle and the vehicle is supported by a hoist, support the vehicle with jack stands at the opposite end from which the components are being removed and strap the vehicle to the hoist.

  92. Secure the front hoist pads to the vehicle.

  93. Object Number: 105376  Size: SH
  94. Remove the 6 frame-to-body mounting bolts (3).
  95. Important: Ensure clearance is maintained between the engine/transaxle assembly and the following components:

       • The A/C accumulator hose
       • The A/C compressor hose
       • The brake pipes
       • The heater hoses
       • The radiator hoses
       • The wheel speed sensor leads
       • The wiring harnesses

  96. Carefully raise the vehicle in order to clear the supported engine/transaxle assembly.
  97. Drain the engine oil. Refer to Engine Oil and Oil Filter Replacement .
  98. Disconnect the intermediate hose from the AIR valve at bank 2.
  99. Remove the nut securing the intermediate hose to the AIR valve at bank 1.
  100. Remove the bolt securing the AIR pipe to the left engine mount strut bracket.
  101. Remove the EGR pipes. Refer to Exhaust Gas Recirculation Pipe Replacement in Engine Controls-4.6L.
  102. Remove the heater pipes. Refer to Heater Inlet Pipe Replacement , and to Heater Outlet Pipe Replacement in Heating, Ventilation and Air Conditioning.

  103. Object Number: 588929  Size: SH
  104. Remove the nut (3) securing the coil cassette ground wire to the right cylinder head.
  105. Disconnect the engine wiring harness from the engine. Refer to Engine Controls Component Views in Engine Controls-4.6L.
  106. Remove the drive belt. Refer to Drive Belt Replacement .

  107. Object Number: 604181  Size: SH
  108. Disconnect the power steering return hose from the power steering pump reservoir.
  109. Remove the power steering return hose retaining bolt from the right engine mount strut bracket.

  110. Object Number: 323565  Size: SH
  111. Remove the power steering pressure hose (1) from the power steering pump (2).

  112. Object Number: 323564  Size: MH
  113. Remove the power steering pressure hose (1) retaining bolt from the engine.

  114. Object Number: 522535  Size: SH
  115. Remove the bolt securing the top of the generator to the right engine mount strut bracket.
  116. Remove the 3 bolts securing the right engine mount strut bracket to the cylinder head.
  117. Remove the right engine mount strut bracket from the engine.

  118. Object Number: 682326  Size: SH
  119. Install the J 42504 to the cylinder head.
  120. Remove the power steering pump from the engine in order to provide clearance for the lift chain. Refer to Power Steering Pump Replacement in Power Steering System.
  121. Install a engine lift chain to the engine lift brackets and attach to an engine lift devise.

  122. Object Number: 644881  Size: SH
  123. Remove the 2 nuts (2) securing the right transaxle mount (1) to the engine frame.
  124. Remove the 3 bolts securing the right transaxle mount (1) to the engine and transaxle.
  125. Remove the right transaxle mount (1).

  126. Object Number: 588757  Size: SH
  127. Remove the bolt (2) securing the rear transaxle brace (1) to the transaxle.
  128. Remove the nuts (3) securing the rear transaxle brace (1) to the stud located on the right cylinder head.
  129. Remove the rear transaxle brace (1).

  130. Object Number: 694213  Size: SH
  131. Remove the nuts (2,3) securing the vehicle speed sensor heat shield (1) to the transaxle.

  132. Object Number: 599639  Size: SH
  133. Remove the bolts securing the front transaxle brace to the engine and transaxle.

  134. Object Number: 644878  Size: SH
  135. Remove the 2 nuts (2) securing the front engine mount (2) to the engine frame.

  136. Object Number: 97535  Size: SH
  137. Remove the bolts attaching the engine to the transaxle.
  138. Raise the engine from the supported frame and transaxle assembly.
  139. Remove the front engine mount. Refer to Engine Front Mount Replacement .

Installation Procedure

  1. Install the front engine mount. Refer to Engine Front Mount Replacement .

  2. Object Number: 97535  Size: SH
  3. Carefully position the engine to the supported frame and transaxle assembly, aligning the engine dowels to the transaxle cover.
  4. Notice: Use the correct fastener in the correct location. Replacement fasteners must be the correct part number for that application. Fasteners requiring replacement or fasteners requiring the use of thread locking compound or sealant are identified in the service procedure. Do not use paints, lubricants, or corrosion inhibitors on fasteners or fastener joint surfaces unless specified. These coatings affect fastener torque and joint clamping force and may damage the fastener. Use the correct tightening sequence and specifications when installing fasteners in order to avoid damage to parts and systems.

  5. Install the bolts attaching the engine to the transaxle.
  6. Tighten
    Tighten the bolts to 75 N·m (55 lb ft).


    Object Number: 644878  Size: SH
  7. Install the 2 nuts (2) securing the front engine mount (2) to the engine frame.
  8. Tighten
    Tighten the nuts to 50 N·m (37 lb ft).


    Object Number: 599639  Size: SH
  9. Install the 4 bolts securing the front transaxle brace to the engine and transaxle.
  10. Tighten
    Tighten the bolts to 50 N·m (37 lb ft).


    Object Number: 694213  Size: SH
  11. Install the retaining nuts (2,3) securing the vehicle speed sensor heat shield (1) to the transaxle.
  12. Tighten
    Tighten the nuts to 50 N·m (37 lb ft).


    Object Number: 588757  Size: SH
  13. Position the rear transaxle brace over the studs located at the rear of the right cylinder head.
  14. Loosely install the nuts (3) securing the rear transaxle brace (1) to the cylinder head.
  15. Install the bolts (2) securing the rear transaxle brace (1) to the transaxle.
  16. Tighten
    Tighten the nuts and bolt to 50 N·m (37 lb ft).


    Object Number: 644881  Size: SH
  17. Position the right transaxle mount (1) to the engine/transaxle assembly.
  18. Install the 3 bolts securing the right transaxle mount (1) to the engine and transaxle.
  19. Tighten
    Tighten the bolts to 50 N·m (37 lb ft).

  20. Install the 2 nuts (2) securing the right transaxle mount (1) to the engine frame.
  21. Tighten
    Tighten the nuts to 50 N·m (37 lb ft).

  22. Remove the engine lift chain from the engine lift brackets.

  23. Object Number: 682326  Size: SH
  24. Remove the J 42504 from the cylinder head.
  25. Install the power steering pump to the engine. Refer to Power Steering Pump Replacement in Power Steering System.

  26. Object Number: 522535  Size: SH
  27. Position the right engine mount strut bracket to the engine.
  28. Install the 3 bolts securing the right engine mount strut bracket to the cylinder head.
  29. Tighten
    Tighten the bolts to 50 N·m (37 lb ft).

  30. Install the bolt securing the top of the generator to the right engine mount strut bracket.
  31. Tighten
    Tighten the bolt to 50 N·m (37 lb ft).


    Object Number: 323565  Size: SH
  32. Install the power steering pressure hose (1) to the power steering pump (2).
  33. Tighten
    Tighten the hose to 30 N·m (22 lb ft).


    Object Number: 323564  Size: MH
  34. Install the power steering pressure hose (1) retaining bolt to the engine.
  35. Tighten
    Tighten the nut to 9 N·m (80 lb in).


    Object Number: 604181  Size: SH
  36. Connect the power steering return hose to the power steering pump reservoir.
  37. Install the power steering return hose retaining bolt to the right engine mount strut bracket.
  38. Tighten
    Tighten the bolt to 13 N·m (115 lb in).

  39. Install the drive belt. Refer to Drive Belt Replacement .

  40. Object Number: 588929  Size: SH
  41. Connect the engine wiring harness to the engine. Refer to Engine Controls Component Views in Engine Controls-4.6L.
  42. Install the nut (3) securing the coil cassette ground wire to the cylinder head.
  43. Tighten
    Tighten the nut to 17 N·m (13 lb ft).

  44. Install the heater pipes. Refer to Heater Inlet Pipe Replacement and Heater Outlet Pipe Replacement in Heating, Ventilation and Air Conditioning.
  45. Install the EGR pipes. Refer to Exhaust Gas Recirculation Pipe Replacement in Engine Controls.
  46. Install the bolt securing the intermediate pipe to the left engine mount strut bracket.
  47. Install the nut securing the intermediate hose to the AIR valve at bank 1.
  48. Tighten
    Tighten the nut to 9 N·m (80 lb in).

  49. Connect the intermediate hose to the AIR valve at bank 2.
  50. Tighten
    Tighten the bolt to 9 N·m (80 lb in).


    Object Number: 105376  Size: SH
  51. Position the engine/transaxle assembly under the vehicle.
  52. Important: Ensure clearance is maintained between the engine/transaxle assembly and the following:

       • The A/C accumulator hose
       • The A/C compressor hose
       • The brake pipes
       • The heater hoses
       • The radiator hoses
       • The wheel speed sensor leads
       • The wiring harnesses

  53. Carefully lower the vehicle over the engine/transaxle assembly, aligning the struts to the strut towers.
  54. Install the six frame mounting bolts (3) retaining the frame (2) to the vehicle.
  55. Using dowel pins in the alignment holes (1), align the engine frame (2) with the vehicle.

    Tighten
    Tighten the bolts to 98 N·m (72 lb ft).

  56. Raise and support the vehicle. Refer to Lifting and Jacking the Vehicle in General Information.

  57. Object Number: 333118  Size: SH
  58. Remove the J 39580 powertrain support dolly from under the engine frame.
  59. Important: Line up the flywheel and converter, using the alignment marks made during disassembly.

  60. Install the bolts securing the flywheel to the torque converter.
  61. Tighten
    Tighten the bolts to 60 N·m (44 lb ft).

  62. Install the torque converter cover. Refer to Torque Converter Cover Replacement in Automatic Transaxle-4T80-E.

  63. Object Number: 333127  Size: SH
  64. Install the oil pan to transaxle brace.
  65. Tighten
    Tighten the bolts to 50 N·m (37 lb ft).

  66. Connect the positive battery cable to the front of the frame.
  67. Install the generator wire from the back of the generator. Refer to Generator Replacement in Engine Electrical.
  68. Install the engine oil cooler pipes to the engine oil filter adapter, if equipped. Refer to Engine Oil Cooler Hose/Pipe Replacement in Engine Cooling.
  69. Connect the post HO2S at the sensor pigtail. Refer to Oxygen Sensor Wiring Harness Heat Shield Replacement in Engine Exhaust.

  70. Object Number: 105357  Size: SH

    Caution: When installing the intermediate shaft make sure that the shaft is seated prior to pinch bolt installation. If the pinch bolt is inserted into the coupling before shaft installation, the two mating shafts may disengage. Disengagement of the two mating shafts will cause loss of steering control which could result in personal injury.

  71. Connect the intermediate shaft to the steering gear.
  72. Install the pinch bolt.
  73. Tighten
    Tighten the bolt to 45 N·m (33 lb ft).


    Object Number: 304954  Size: SH
  74. Connect the A/C discharge/suction hose (1) to the compressor (3).
  75. Tighten
    Tighten the nut to 30 N·m (20 lb ft).

  76. Connect the A/C pressure sensor.

  77. Object Number: 740377  Size: SH
  78. Install the following brake pipes to the BPMV using the location recorded during the removal procedure:
  79. • The master cylinder brake pipes
    • The rear brake pipes
    • The left front brake pipe

    Tighten
    Tighten the brake pipes to 15 N·m (11 lb ft).


    Object Number: 740376  Size: SH
  80. Install the bolt (2) securing the front right brake pipe frame bracket (1) to the body frame rail.
  81. Tighten
    Tighten the bolt to 17 N·m (11 lb ft).

  82. Connect the front right brake pipe to the retainer at the body frame rail.

  83. Object Number: 497902  Size: SH
  84. Install the front left brake hose retainer to the brake hose retaining bracket.

  85. Object Number: 497903  Size: SH
  86. Install the front left brake pipe fitting to the brake hose.
  87. Tighten
    Tighten the brake pipe to 15 N·m (11 lb ft).

  88. Install the AIR pump. Refer to Secondary Air Injection Pump Replacement in Engine Controls-4.6L.
  89. Install the front fascia extensions. Refer to Front Bumper Fascia Extension Replacement in Body Front End.
  90. Install the engine splash shield. Refer to Engine Splash Shield Replacement in Body Front End.

  91. Object Number: 740373  Size: SH
  92. Connect the front wheel speed sensor electrical connectors.
  93. Connect the front wheel speed sensor electrical leads to the strut brackets.

  94. Object Number: 740375  Size: SH
  95. Connect the following items, if equipped:
  96. • The road sensing suspension electrical connector (3) to the main body harness
    • The road sensing suspension electrical leads (1) to the electronic suspension position sensor brackets
    • The road sensing suspension electrical leads (1) to the body frame rail retainer (4)
    • The electronic suspension position sensor links (2) to the lower control arms
  97. Install the rear exhaust manifold pipe. Refer to Exhaust Manifold Rear Pipe Replacement in Engine Exhaust.
  98. Install the front wheels. Refer to Tire and Wheel Removal and Installation in Tires and Wheels.
  99. Lower the vehicle ONLY enough to allow the studs on the struts to align with the holes in the strut towers.

  100. Object Number: 740371  Size: SH
  101. Install the right and left side strut tower nuts.
  102. Tighten
    Tighten the nuts to 21 N·m (15 lb ft).

  103. Lower the vehicle.
  104. Install the engine mount struts. Refer to Engine Mount Strut Replacement .

  105. Object Number: 740370  Size: SH

    Important: Ensure the lower transaxle oil cooler line is positioned horizontally while tightening.

  106. Connect the lower transaxle oil cooler pipe fitting to the radiator.
  107. Tighten
    Tighten the pipe fitting to 35 N·m (26 lb ft).

    Important: Ensure the upper transaxle oil cooler line is positioned vertically while tightening.

  108. Connect the upper transaxle oil cooler pipe fitting to the radiator.
  109. Tighten
    Tighten the pipe fitting to 35 N·m (26 lb ft).

  110. Install the accumulator tube. Refer to Air Conditioning Accumulator Replacement in Heating, Ventilation, and Air Conditioning.

  111. Object Number: 739338  Size: SH
  112. Connect the surge tank outlet hose to the heater pipe.
  113. Connect the heater hoses to the heater pipes.

  114. Object Number: 739337  Size: SH
  115. Connect the surge tank inlet hose to the surge tank.
  116. Install the cooling fans. Refer to Engine Cooling Fan Replacement in Engine Cooling.

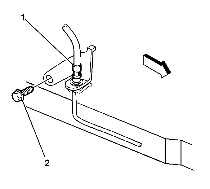
  117. Object Number: 518337  Size: SH
  118. Position the J 38185 to the clamp in order to connect the radiator outlet hose (2) to the thermostat housing.
  119. Position the J 37097-A to the clamp in order to connect the radiator inlet hose (1) to the engine.

  120. Object Number: 599655  Size: SH
  121. Install the shift cable (1) to the manual shift lever (2) and the bracket.

  122. Object Number: 474813  Size: SH

    Caution: In order to avoid possible injury or vehicle damage, always replace the accelerator control cable with a NEW cable whenever you remove the engine from the vehicle.

    In order to avoid cruise control cable damage, position the cable out of the way while you remove or install the engine. Do not pry or lean against the cruise control cable and do not kink the cable. You must replace a damaged cable.

  123. Install a NEW accelerator control cable to the throttle body. Refer to Accelerator Control Cable Replacement in Engine Controls-4.6L.
  124. Install the cruise control cable (2) to the throttle body lever (1).
  125. Slide the cruise control fully into the throttle body bracket until the cruise control snaps into place.

  126. Object Number: 723742  Size: SH
  127. Install the nut securing the battery negative cable to the engine.
  128. Tighten
    Tighten the nut to 25 N·m (18 lb ft).


    Object Number: 740369  Size: SH
  129. Connect the wiring harness electrical connectors to the following components:
  130. • The PCM
    • Refer to Powertrain Control Module Replacement in Engine Controls-4.6L.
    • The C101 (1)
    • The engine electrical harness
    • Refer to Underhood Electrical Center or Junction Block Replacement in Wiring Systems.
  131. Install the radiator support sight shield. Refer to Radiator Support Sight Shield Replacement in Body Front End.

  132. Object Number: 293272  Size: SH
  133. Connect the hose (4) to the evaporative emission canister purge valve (3).
  134. Connect the fuel inlet and return quick-connect fittings at the fuel rail. Refer to Metal Collar Quick Connect Fitting Service , or to Plastic Collar Quick Connect Fitting Service in Engine Controls-4.6L.
  135. Install the air cleaner assembly. Refer to Air Cleaner Assembly Replacement in Engine Controls-4.6L.

  136. Object Number: 522640  Size: SH
  137. Connect the vacuum brake booster hose to the vacuum connection.

  138. Object Number: 475295  Size: SH
  139. Position the intake manifold sight shield (1) to the engine.
  140. Install the 2 intake manifold sight shield nuts (2).
  141. Tighten
    Tighten the nuts to 3 N·m (27 lb in).


    Object Number: 640486  Size: SH
  142. Connect the battery positive cable to the battery.
  143. Tighten
    Tighten the battery cable bolt to 17 N·m (13 lb ft).

  144. Connect the battery negative cable. Refer to Battery Negative Cable Disconnection and Connection in Engine Electrical.
  145. Fill the engine with oil. Refer to Engine Oil and Oil Filter Replacement .
  146. Fill the cooling system. Refer to Cooling System Draining and Filling in Engine Cooling.
  147. Bleed the hydraulic brake system. Refer to Hydraulic Brake System Bleeding in Hydraulic Brakes.
  148. Recharge the A/C refrigerant system. Refer to Refrigerant Recovery and Recharging in Heating, Ventilation and Air Conditioning.
  149. Bleed the power steering system. Refer to Power Steering System Bleeding in Power Steering System.
  150. Measure the wheel alignment. Refer to Wheel Alignment Measurement in Wheel Alignment.

Engine Final Test and Inspection

Complete the following procedure after the engine is installed in the vehicle:

  1. With the ignition OFF or disconnected, crank the engine several times. Listen for any unusual noises or evidence that any parts are binding.
  2. Start the engine and listen for abnormal conditions.
  3. Check the vehicle oil pressure gauge or light and confirm that the engine has acceptable oil pressure.
  4. Run the engine at approximately 1000 RPM until the engine reaches normal operating temperature.
  5. While the engine continues to idle raise and support the vehicle. Refer to Lifting and Jacking the Vehicle in General Information.
  6. Inspect for oil, coolant and exhaust leaks while the engine is idling.
  7. Lower the vehicle.
  8. Perform the CKP System Variation Learn Procedure. Refer to Crankshaft Position System Variation Learn in Engine Controls-4.6L.
  9. Perform a final inspection for the proper engine oil and coolant levels.
  10. Road test the vehicle.