GM Service Manual Online
For 1990-2009 cars only

Removal Procedure

  1. Raise and support the vehicle. Refer to Lifting and Jacking the Vehicle in General Information.

  2. Object Number: 655654  Size: SH
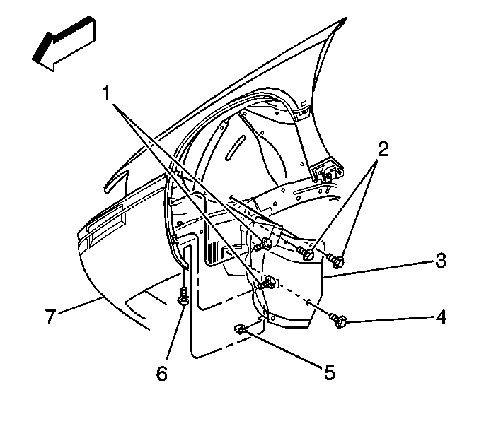
  3. Remove the fasteners (1, 2, 6) from the bumper fascia extension (3).
  4. Remove the fastener (4) that retains the bumper fascia extension (3) to the front splash shield.
  5. Remove the front fascia extension (3).

Installation Procedure


    Object Number: 655654  Size: SH
  1. Position the front fascia extension (3) to the front fascia.
  2. Notice: Use the correct fastener in the correct location. Replacement fasteners must be the correct part number for that application. Fasteners requiring replacement or fasteners requiring the use of thread locking compound or sealant are identified in the service procedure. Do not use paints, lubricants, or corrosion inhibitors on fasteners or fastener joint surfaces unless specified. These coatings affect fastener torque and joint clamping force and may damage the fastener. Use the correct tightening sequence and specifications when installing fasteners in order to avoid damage to parts and systems.

  3. Install the fasteners (1, 6) that retains the bumper fascia extension (3) to the front fascia.
  4. Install the fastener (2) in order to secure the extension to the body.
  5. Tighten
    Tighten the fasteners (1, 2, 6) to 2 N·m (18 lb in).

  6. Install the front fascia extension to splash shield fastener (4).
  7. Tighten
    Tighten the fastener to 6 N·m (53 lb in).

  8. Lower the vehicle.