GM Service Manual Online
For 1990-2009 cars only

Removal Procedure


    Object Number: 367581  Size: SH
  1. Remove the rear compartment sill plate. Refer to Rear Compartment Sill Trim Plate Replacement .
  2. Disconnect the electrical connector.

  3. Object Number: 655620  Size: SH
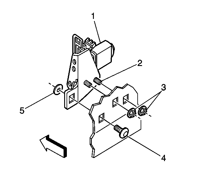
  4. Remove the fasteners (3) that retain the actuator to the rear end panel.
  5. Remove the nut and bolt (4).
  6. Remove the rear compartment lid striker assembly.

Installation Procedure


    Object Number: 655620  Size: SH
  1. Install the rear compartment lid striker assembly (1) to the rear end panel.
  2. Notice: Use the correct fastener in the correct location. Replacement fasteners must be the correct part number for that application. Fasteners requiring replacement or fasteners requiring the use of thread locking compound or sealant are identified in the service procedure. Do not use paints, lubricants, or corrosion inhibitors on fasteners or fastener joint surfaces unless specified. These coatings affect fastener torque and joint clamping force and may damage the fastener. Use the correct tightening sequence and specifications when installing fasteners in order to avoid damage to parts and systems.

  3. Install the fasteners (3, 4, 5) in order to retain the striker assembly to the body rear end panel.
  4. Tighten
    Tighten the fasteners to 10 N·m (89 lb in).


    Object Number: 367581  Size: SH
  5. Connect the electrical connector.
  6. Install the rear compartment sill plate. Refer to Rear Compartment Sill Trim Plate Replacement .