GM Service Manual Online
For 1990-2009 cars only
Figure 1:

Left Front of the Vehicle, Right Side Similar


Object Number: 321217  Size: LF
(1)C103 (RH), C104 (LH)
(2)S132 (RH), S133 (LH)
(3)S134 (RH), S131 (LH)
Figure 2:

Engine Compartment, Front


Object Number: 321313  Size: LF
(1)Cooling Fan Motor - Right
(2)S117
(3)Cooling Fan 1 Relay
(4)Cooling Fan S/P Relay
(5)Cooling Fan 2 Relay
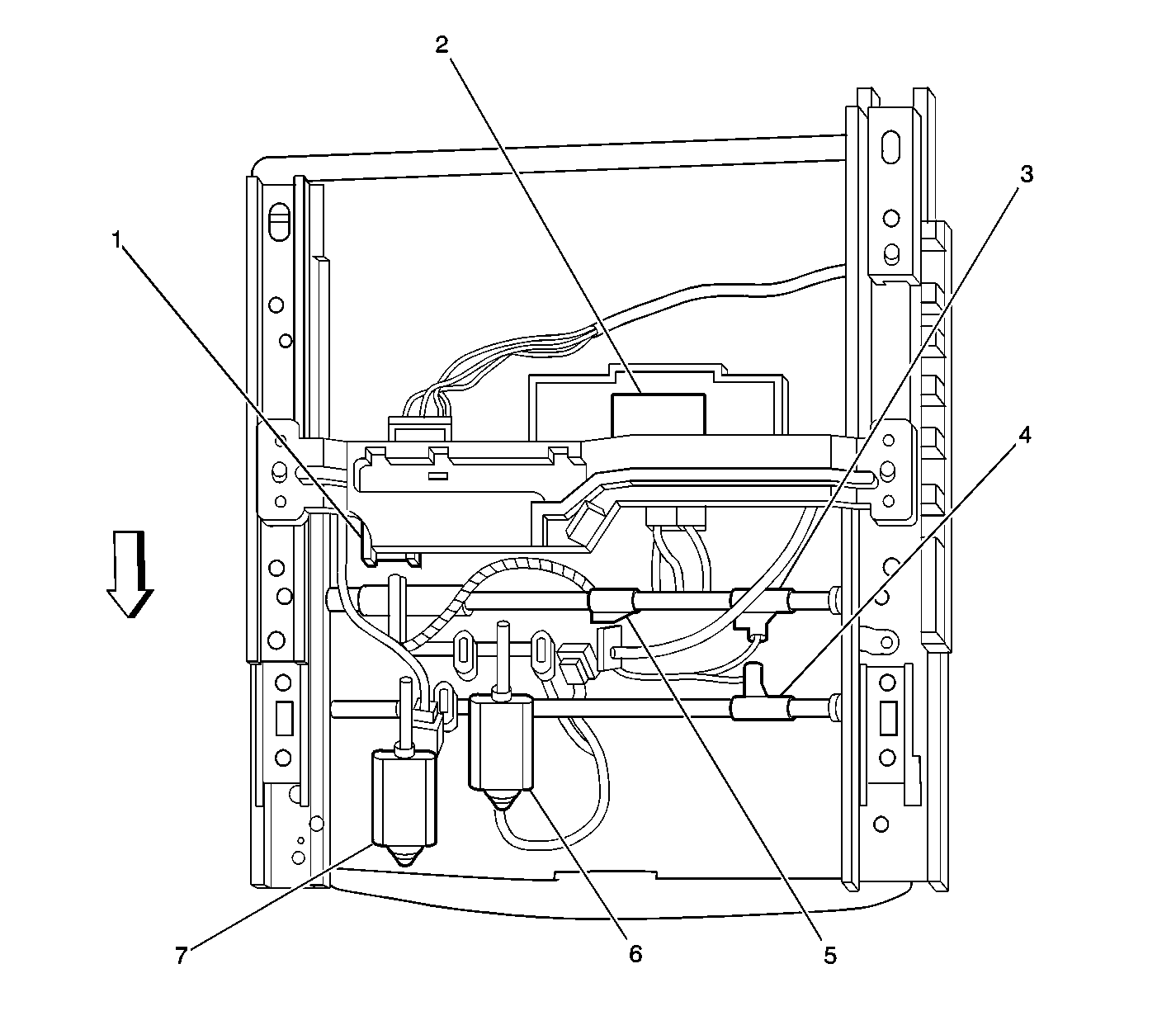
(6)S130
(7)S129
(8)Cooling Fan Motor - Left
Figure 3:

Engine Compartment, Left Front


Object Number: 321315  Size: LF
(1)G101
(2)G110
(3)S106
Figure 4:

Engine Compartment, on the Left Side


Object Number: 798114  Size: LF
(1)Fuse Block - Underhood
(2)Inadvertant Power Relay
(3)S112
(4)Relay Block - Underhood
(5)Starter Relay
(6)Secondary Air Injection (AIR) Pump Relay
(7)Ignition 1 Relay
(8)Fuse Block Right Underhood
(9)S121
(10)S119
(11)Fuse Block - Left Underhood
(12)S154
(13)S122
(14)C101
(15)Fuse Block - Underhood
(16)S104 and S105
Figure 5:

Engine, RH Front


Object Number: 321360  Size: LF
(1)G100
(2)Battery
(3)G105
Figure 6:

Engine Compartment, Left Rear Corner


Object Number: 321319  Size: LF
(1)S102
(2)Harness to the Brake Fluid Level Switch
(3)S101
(4)P106 (RH), P105 (LH Similar)
(5)P101
(6)Harness to the Windshield Wiper/Washer Module
(7)S100
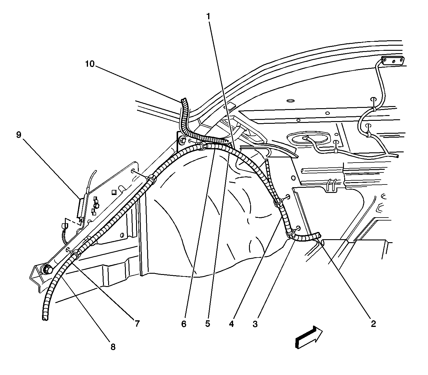
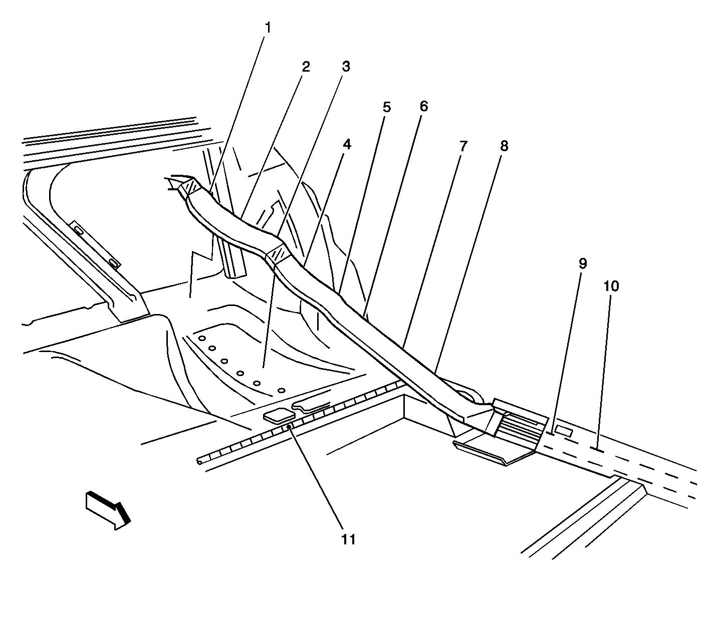
Figure 7:

Engine, Lower Right Front


Object Number: 321338  Size: LF
(1)A/C High Pressure Switch
(2)S153
(3)A/C Compressor Clutch Diode
(4)S152
(5)A/C Compressor Clutch
Figure 8:

Engine, Top Left


Object Number: 321342  Size: LF
(1)Mass Air Flow (MAF) Sensor
(2)S126
(3)S125
(4)Throttle Postion (TP) Sensor
(5)Idle Air Control (IAC) Valve
Figure 9:

Engine, Left Side


Object Number: 778389  Size: LF
(1)S124
(2)Harness to the Powertrain Control Module (PCM)
(3)S123
Figure 10:

Engine, Fuel Rail and Intake Area


Object Number: 321346  Size: LF
(1)Fuel Injector 7
(2)S110
(3)S111
(4)Fuel Injector 8
(5)Fuel Injector 6
(6)Fuel Injector4
(7)Fuel Injector 2
(8)Fuel injector 1
(9)Fuel Injector 3
(10)Fuel Injector 5
Figure 11:

Engine, on the Lower Left Front Corner


Object Number: 800550  Size: LF
(1)C100
(2)G103
(3)G104
(4)G107
(5)S118
(6)C119
Figure 12:

Engine, Left Rear


Object Number: 321351  Size: LF
(1)Engine Coolant Temperature (ECT) Sensor
(2)Variable Effort Steering Actuator
(3)S127
Figure 13:

Engine, Right Rear


Object Number: 749575  Size: LF
(1)S223
(2)S222
Figure 14:

Engine, Right Rear


Object Number: 802456  Size: LF
(1)Camshaft Position (CMP) Sensor
(2)C110
(3)Vehicle Speed Sensor
(4)Heated Oxygen Sensor (HO2S) Bank 1 Sensor 1
(5)C131
Figure 15:

Wheel Speed Sensor (WSS) - Front, Under the Left Front of the Vehicle, Above the Front Axle


Object Number: 802454  Size: LF
(1) Wheel Speed Sensor (WSS) - LF (RF Similar)
(2)C111
Figure 16:

Passenger Compartment, Behind the Instrument Panel Cluster


Object Number: 321363  Size: LF
(1)S218
(2)S217
(3)Inflatable Restraint IP Module
(4)C203
(5)S215
(6)S216
(7)S201
(8)Headlamp Switch
(9)S220
(10)S219
Figure 17:

Instrument Panel Cluster, Below the Upper Pad


Object Number: 321366  Size: LF
(1)S207
(2)S210
(3)S206
(4)Instrument Panel Cluster (IPC)
Figure 18:

Instrument Panel Cluster, Below the Left Side


Object Number: 321367  Size: LF
(1)G203 (Hidden)
(2)S200
(3)S202
(4)G204
(5)S201
(6)S205
Figure 19:

Instrument Panel Cluster (IPC), at the Base of the Steering Column


Object Number: 794505  Size: LF
(1)Steering Column Fuse Holder
(2)Steering Column
(3)P101
(4)Steering Wheel Postion Sensor
(5)C202
(6)C206
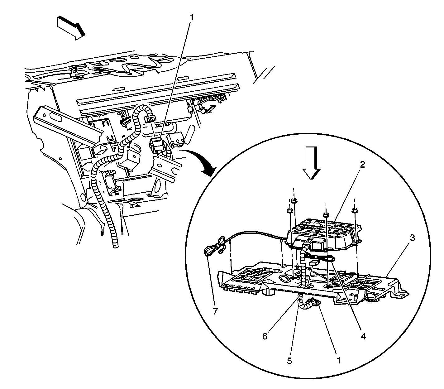
Figure 20:

Instrument Panel Cluster, Below the Steering Column


Object Number: 321377  Size: LF
(1)S225
(2)S226
(3)Brake Pedal
(4)Stoplamp/AT Shift Lock Control Switch
(5)Stoplamp Switch
(6)Steering Column Support Bracket
Figure 21:

Instrument Panel Cluster, Below the Right Side


Object Number: 321382  Size: LF
(1)C201
(2)S221
(3)C205
(4)HVAC Control Processor
Figure 22:

Instrument Panel Cluster, Beneath the Right Side


Object Number: 605470  Size: LF
(1)P100
(2)Vacuum Control Assembly
(3)S212
(4)S211
(5)C205
(6)S223
(7)S222
Figure 23:

Instrument Panel Cluster, Below the Right Side


Object Number: 321386  Size: LF
(1)G201
(2)S323
(3)G205
Figure 24:

Headliner, Top


Object Number: 805987  Size: LF
(1)Headliner
(2)S341
(3)S342
(4)S338
(5)S339
(6)S366
(7)S337
(8)S340
Figure 25:

Passenger Compartment, in the Center Front of the Headliner


Object Number: 321390  Size: LF
(1)Sunroof Module
(2)Sunroof Motor
(3)C360
Figure 26:

Passenger Compartment, Below the Center Console


Object Number: 321393  Size: LF
(1)S346
(2)S343
(3)S345
(4)S347
(5)S344
Figure 27:

Passenger Compartment, Behind the Lower Left Front Trim


Object Number: 321395  Size: LF
(1)Retained Accessory Power (RAP) Relay
(2)S307
(3)S322
(4)S203
(5)S320
(6)Harness to the SDM
(7)S316
(8)S317
(9)S371
(10)S319
(11)S318
Figure 28:

Passenger Compartment, Below the Left Front Seat


Object Number: 321396  Size: LF
(1)S313
(2)G302
(3)S314
(4)S312
(5)S311
(6)C345
(7)C305
(8)C316 (LH), C317 (RH)
Figure 29:

Passenger Compartment, Below the RH Front Seat


Object Number: 321399  Size: LF
(1)Radio Connector Breakout Harness
(2)S324
(3)S325
(4)S326
(5)C307
(6)Cross Car Breakout Harness
(7)S315
(8)C309
(9)C301
(10)C308
Figure 30:

Passenger Compartment, Below the Left Front Seat


Object Number: 321397  Size: LF
(1)Infatable Restraint Sensing and Diagnostic Module (SDM)
(2)G306
Figure 31:

Passenger Compartment, Left Front Seat


Object Number: 321402  Size: LF
(1)Seat Rear Vertical Motor (Hidden)
(2)Seat Recline Postion Sensor
(3)Seat Recline Motor
(4)S351 (Left), S356 (Right)
(5)S352 (Left), S357 (Right)
(6)C323 (Left) (Hidden)
(7)C305 (Left) C303 (Right)
(8)Seat Horizontal Postion Sensor
(9)Seat Rear Vertical Postion Sensor
(10)Memory Seat Module (MSM)
(11)Seat Horizontal Motor
(12)C320 (Left), C321 (Right) (Hidden)
(13)Seat Lumbar Vertical Relay
(14)Lumbar Switch
(15)Seat Switch
(16)Seat Front Vertical Motor
(17)Lumbar Horizontal Relay
(18)S349 (Left), S348 (Right)
Figure 32:

Front View of Seat


Object Number: 321400  Size: LF
(1)Seat Lumbar Vertical Up/Down Motor - Driver and Front Passenger
(2)Lumbar Horizontal In/Out Motor - Driver and Front Passenger
Figure 33:

Driver Seat Underside


Object Number: 722727  Size: LF
(1)Seat Horizontal Motor - Driver
(2)Memory Seat Module (MSM)
(3)Lumbar Horizontal Position Sensor - Driver
(4)Seat Front Vertical Position Sensor
(5)Seat Rear Vertical Position Sensor
(6)Seat Rear Vertical Motor - Driver
(7)Seat Front Vertical Motor - Driver
Figure 34:

Front Passenger Seat Underside


Object Number: 701413  Size: LF
(1)Seat Lumbar Horizontal Relay - Front Passenger
(2)Seat Recline Motor - Front Passenger
(3)Seat Rear Vertical Motor - Front Passenger
(4)Heated Seat Module - Front Passenger
(5)Seat Lumbar Vertical Relay - Front Passenger
(6)Seat Front Vertical Motor - Front Passenger
(7)Seat Horizontal Motor - Front Passenger
Figure 35:

Passenger Compartment, in the Right Rear


Object Number: 778802  Size: LF
(1)Rear Cross Car Breakout
(2)S327
(3)S360
(4)S432
(5)S434
(6)C401
(7)S328
(8)S329
Figure 36:

Passenger Compartment, on the Left Sail Panel


Object Number: 321409  Size: LF
(1)C315
(2)C313
Figure 37:

Passenger Compartment, on the Right Sail Panel


Object Number: 321411  Size: LF
(1)Seat Belt Retractor Actuator - Right (LH Similar)
(2)C314
Figure 38:

Passenger Compartment, Behind the Rear Seat


Object Number: 238886  Size: LF
(1)Continuously Variable Road Sensing Suspension (CVRSS) Module
(2)Remote Control Door Lock Receiver (RCDLR)
(3)Radio Interface Module (RIM)
(4)Relay Block - Rear #1
(5)Relay Block - Rear #2
(6)Fuse Block - Rear
(7)Body Control Module (BCM)
(8)S410
(9)Relay Block - Rear #3
(10)Relay Block - Rear #4
(11)S430
(12)Automatic Level Control (ALC) Fuse Block-in the Harness
(13)P400
(14)S431
(15)Door Lock Relay
(16)Relay Block - Rear #5
(17)G403
Figure 39:

Passenger Compartment, Left Side Behind the Seats and Carpet


Object Number: 805980  Size: LF
(1)S300
(2)S301
(3)S302
(4)S303
(5)S304
(6)S305
(7)S306
(8)S307
(9)S308
(10)S406
(11)Rear Cross Car Breakout Harness
Figure 40:

Passenger Compartment, Below the Rear Seat


Object Number: 321417  Size: LF
(1)#4 Bar
(2)G400
(3)G401
(4)S402
(5)S405
(6)S401
(7)S407
(8)S406
(9)S404
(10)S408
(11)S409
Figure 41:

Rear Compartment, in the Left Side


Object Number: 749577  Size: LF
(1)S414
(2)S403
(3)S411
(4)S412
(5)S415
(6)S416
(7)S418
(8)S417
(9)Fuel Door Release Actuator
(10)Harness to the Rear Compartment Lid
Figure 42:

Rear Compartment, at the Rear


Object Number: 321431  Size: LF
(1)S457, S450, S423 (Hidden)
(2)P404
(3)S481
(4)S457
(5)C420
(6)S423
(7)G402
(8)C426
(9)S424
(10)S458
(11)S480
(12)P406
(13)C422
(14)Rear Compartment Lid Pulldown Motor
Figure 43:

Rear Compartment, Behind Rear Seat Back (w/UE1)


Object Number: 658821  Size: LF
(1)C345
(1)C345
(2)Vehicle Communications Unit (VCU) and Vehicle Interface Unit (VIU)
(3)Module Board
(4)Onstar GPS Antenna Lead
(5)S361
(6)S360
(7)Onstar Cellular Antenna Lead
Figure 44:

Rear Compartment Lid Harness


Object Number: 801060  Size: LF
(1)C408
(2)S429
(3)S425
(4)P405
(5)License Lamp
(6)Right Backup Lamp (Hidden)
(7)Left Backup Lamp
(8)License Lamp
Figure 45:

Rear of the Vehicle, Below the Passenger Compartment


Object Number: 321436  Size: MF
(1)Suspension Postion Sensor - RR
(2)Strut Actuator Connector - RR
(3)C412
(4)Strut Actuator Connector - LR
(5)Suspension Postion Sensor - LR
Figure 46:

Below the Right Rear of the Vehicle


Object Number: 321440  Size: LF
(1)C415
(2)Automatic Level Control (ALC) Compressor
(3)Wheel Speed Sensor (WSS) - RR (LR Similar)