GM Service Manual Online
For 1990-2009 cars only

Ignition Coil Module Installation - Right Side Seville/DeVille


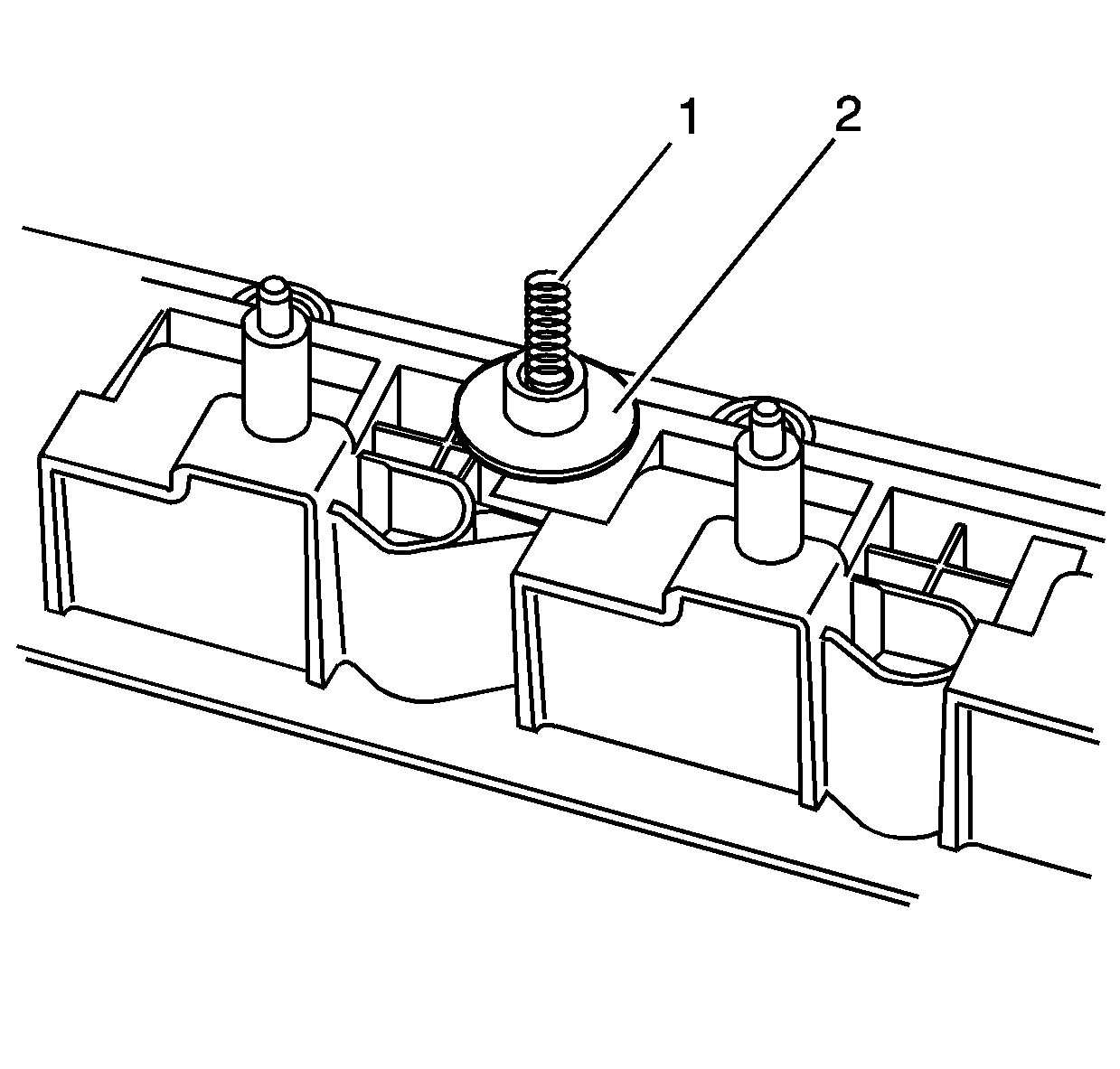
    Object Number: 651082  Size: SH
  1. Ensure the RFI/ground spring (1) and the seal (2) are in place and inspect each for serviceability.

  2. Object Number: 522712  Size: SH
  3. Install the right spark plug boots onto the ignition coil assembly.

  4. Object Number: 522715  Size: SH

    Notice: Use the correct fastener in the correct location. Replacement fasteners must be the correct part number for that application. Fasteners requiring replacement or fasteners requiring the use of thread locking compound or sealant are identified in the service procedure. Do not use paints, lubricants, or corrosion inhibitors on fasteners or fastener joint surfaces unless specified. These coatings affect fastener torque and joint clamping force and may damage the fastener. Use the correct tightening sequence and specifications when installing fasteners in order to avoid damage to parts and systems.

  5. Install the right spark plugs.
  6. Tighten
    Tighten the spark plugs to 15 N·m (11 lb ft).


    Object Number: 522711  Size: SH
  7. Position the ignition coil assembly on the right camshaft cover.

  8. Object Number: 600013  Size: SH

    Important: DO NOT damage the ignition coil perimeter seal.

  9. Install the ignition coil assembly bolts in sequence.
  10. Tighten
    Tighten the ignition coil assembly bolts to 9 N·m (80 lb in).

Ignition Coil Module Installation - Right Side Eldorado


    Object Number: 651082  Size: SH
  1. Ensure the RFI/ground spring (1) and the seal (2) are in place and inspect each for serviceability.

  2. Object Number: 522712  Size: SH
  3. Install the right spark plug boots onto the ignition coil assembly.

  4. Object Number: 522715  Size: SH

    Notice: Use the correct fastener in the correct location. Replacement fasteners must be the correct part number for that application. Fasteners requiring replacement or fasteners requiring the use of thread locking compound or sealant are identified in the service procedure. Do not use paints, lubricants, or corrosion inhibitors on fasteners or fastener joint surfaces unless specified. These coatings affect fastener torque and joint clamping force and may damage the fastener. Use the correct tightening sequence and specifications when installing fasteners in order to avoid damage to parts and systems.

  5. Install the right spark plugs.
  6. Tighten
    Tighten the spark plugs to 15 N·m (11 lb ft).


    Object Number: 522711  Size: SH
  7. Position the ignition coil assembly on the right camshaft cover.

  8. Object Number: 600013  Size: SH

    Important: DO NOT damage the ignition coil perimeter seal.

  9. Install the ignition coil assembly bolts in sequence.
  10. Tighten
    Tighten the ignition coil assembly bolts to 9 N·m (80 lb in).


    Object Number: 522709  Size: SH
  11. Install the fuel injector sight shield bracket.
  12. Install the fuel injector sight shield bracket bolts.
  13. Tighten
    Tighten the fuel injector sight shield bracket bolts to 8 N·m (71 lb in).