GM Service Manual Online
For 1990-2009 cars only
Makes
🢒
Cadillac
🢒
2001
🢒
Eldorado
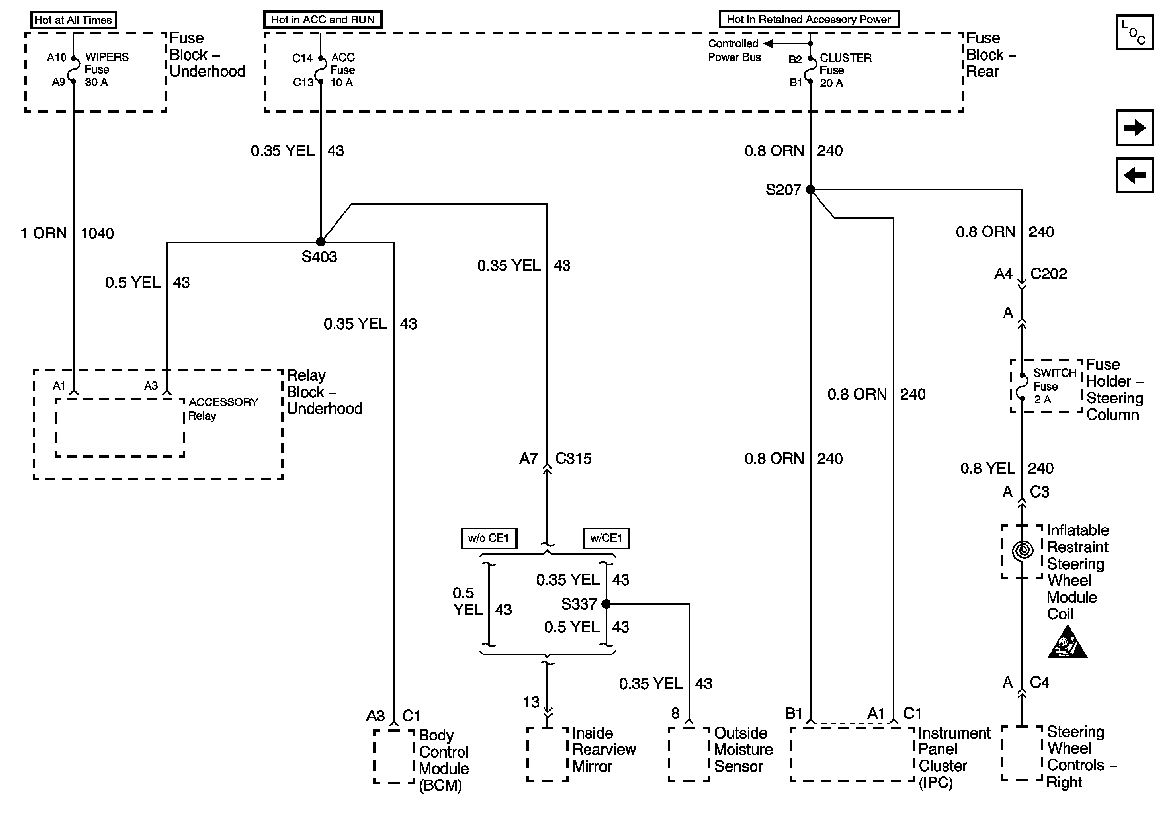
🢒 WIPERS, ACC, and CLUSTER Fuses
WIPERS, ACC, and CLUSTER Fuses
WIPERS, ACC, and CLUSTER Fuses
Master Electrical Component List
ELC Fuse and Circuit Breaker
CONVENIENCE Fuse