GM Service Manual Online
For 1990-2009 cars only
Makes
🢒
Cadillac
🢒
2001
🢒
Eldorado
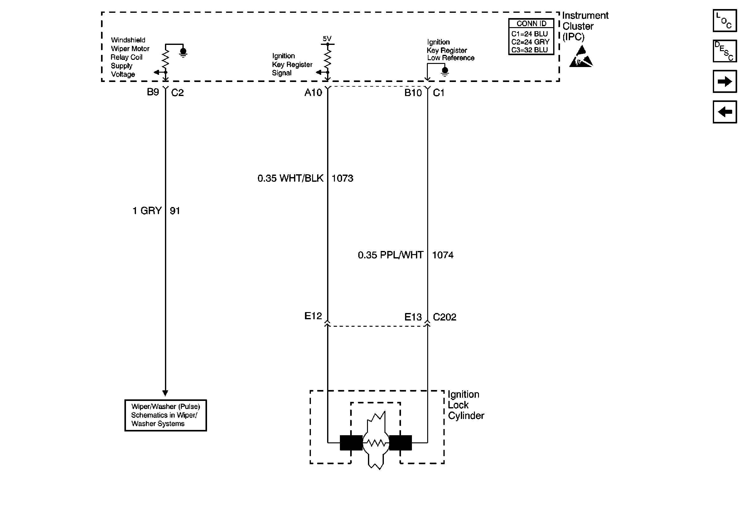
🢒 Ignition Lock Control
Ignition Lock Control
Ignition Lock Control
Master Electrical Component List
Interior Lighting and Park Switch Signals
Instrument Cluster, PCM
w/o CE1