GM Service Manual Online
For 1990-2009 cars only
Makes
🢒
Cadillac
🢒
2001
🢒
Eldorado
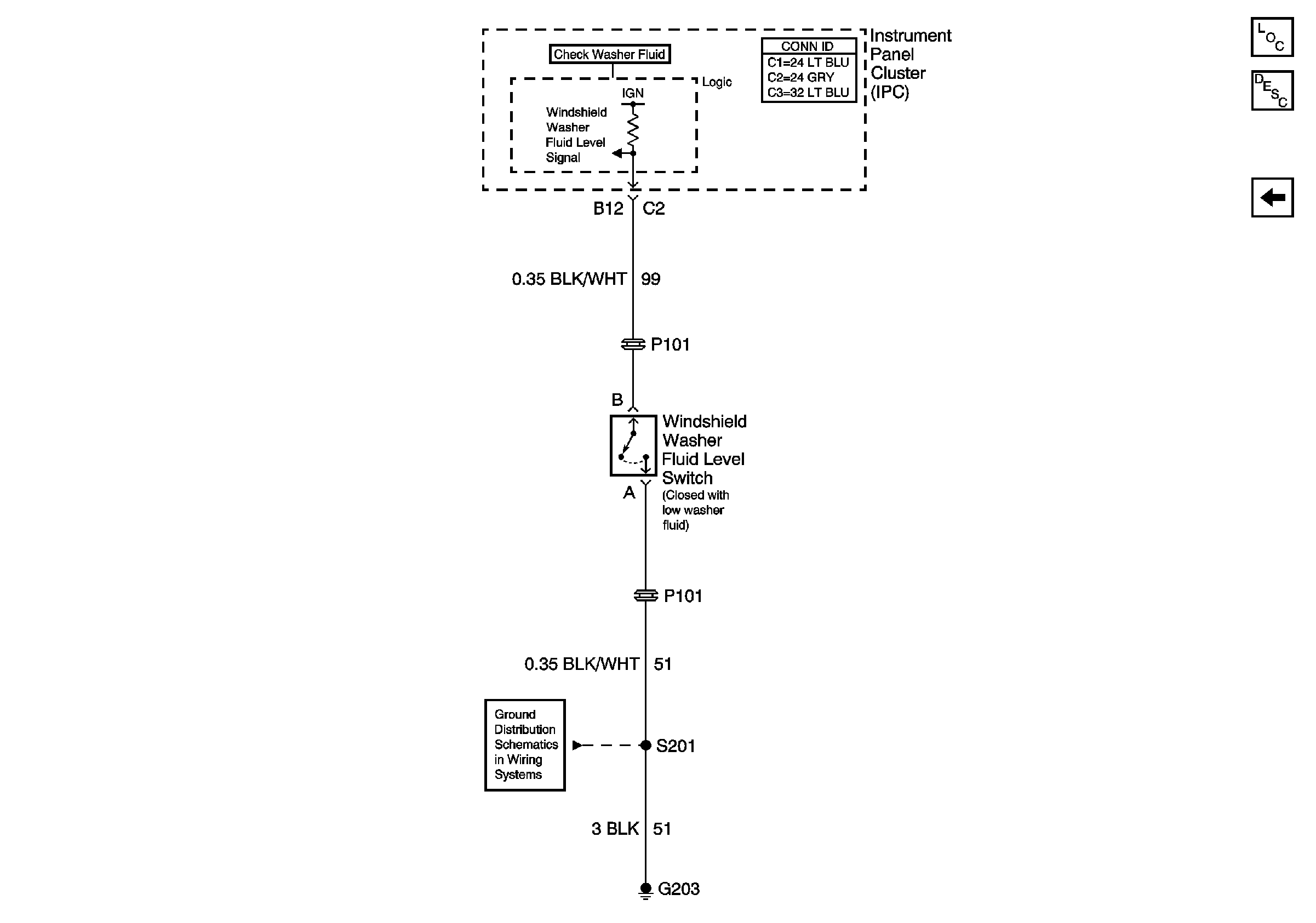
🢒 02E - Fluid Level Switch Schematic
02E - Fluid Level Switch Schematic
Fluid Level Switch
Master Electrical Component List
Wiper/Washer System Description and Operation With Moisture Sensitive Feature CE1
Module, Pump, and Sensor Circuits w/CE1
G203