GM Service Manual Online
For 1990-2009 cars only

Front Fender Wheel Opening Molding Replacement Left

Removal Procedure

    Caution: Unless directed otherwise, the ignition and start switch must be in the OFF or LOCK position, and all electrical loads must be OFF before servicing any electrical component. Disconnect the negative battery cable to prevent an electrical spark should a tool or equipment come in contact with an exposed electrical terminal. Failure to follow these precautions may result in personal injury and/or damage to the vehicle or its components.

  1. Remove the negative battery cable.
  2. Remove the left fender. Refer to Front Fender Replacement in Body Front End.

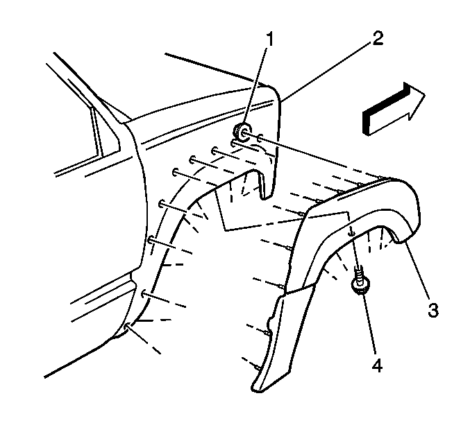
  3. Object Number: 311550  Size: SH
  4. Remove the speed nuts (2) and clips from the molding.
  5. Remove the molding (4) from the fender.

Installation Procedure


    Object Number: 311550  Size: SH
  1. Install the molding (4) to the fender.
  2. Install the speed nuts (2) and clips to the molding.
  3. Install the fender. Refer to Front Fender Replacement in Body Front End.
  4. Install the negative battery cable.

Front Fender Wheel Opening Molding Replacement Right

Removal Procedure

    Caution: Unless directed otherwise, the ignition and start switch must be in the OFF or LOCK position, and all electrical loads must be OFF before servicing any electrical component. Disconnect the negative battery cable to prevent an electrical spark should a tool or equipment come in contact with an exposed electrical terminal. Failure to follow these precautions may result in personal injury and/or damage to the vehicle or its components.

  1. Remove the negative battery cable.
  2. Remove the battery. Refer to Battery Replacement in Engine Electrical.
  3. Remove the fender from the vehicle. Refer to Front Fender Replacement in Body Front End.

  4. Object Number: 519713  Size: SH
  5. Remove the speed nuts (2) and clips from the molding.
  6. Remove the molding (4) from the fender.

Installation Procedure


    Object Number: 519713  Size: SH
  1. Install the molding (4) to the fender.
  2. Install the speed nuts (2) and clips to the molding.
  3. Install the fender. Refer to Front Fender Replacement in Body Front End.
  4. Install the battery.