GM Service Manual Online
For 1990-2009 cars only

Product Safety - Positive Battery Cable Routing

Subject:02036 -- Positive Battery Cable Routing

Models:2003 Cadillac AWD Escalade



Condition

General Motors has decided that a defect which relates to motor vehicle safety exists in certain 2003 Cadillac All-Wheel Drive Escalades. Some of these vehicles were built without a power steering bracket to secure the positive battery cable, allowing the cable to come in contact with the steering shaft. Over time this contact could cause a wear-through of the cable insulation. This could expose the wire core and result in intermittent electrical shorting, and if enough current is discharged at the point of contact, an engine compartment fire could occur.

Correction

Dealers are to inspect the positive battery cable routing and reroute, if necessary.

Vehicles Involved

Involved are the 2003 Cadillac Escalades listed below.

 

3R100149

3R100160

3R100169

3R100173

3R100180

3R100186

3R100201

3R100205

3R100214

3R100221

3R100226

3R100233

3R100251

3R100277

3R100282

3R100293

3R100299

3R100333

3R100337

3R100345

3R100349

3R100355

3R100359

3R100363

3R100367

3R100387

3R100397

3R100401

3R100405

3R100409

3R100413

3R100422

3R100433

3R100440

3R100452

3R100456

3R100467

3R100471

3R100484

3R100488

3R100502

3R100507

3R100512

3R100516

3R100524

3R100528

3R100536

3R100550

3R100554

3R100559

3R100564

3R100568

3R100572

3R100576

3R100588

3R100592

3R100600

3R100604

3R100609

3R100624

3R100632

3R100636

3R100644

3R100653

3R100672

3R100678

3R100697

3R100701

3R100713

3R100720

3R100724

3R100729

3R100733

3R100738

3R100746

3R100754

3R100758

3R100762

3R100774

3R100779

3R100788

3R100797

3R100805

3R100810

3R100818

3R100822

3R100826

3R100830

3R100834

3R100842

3R100846

3R100850

3R100854

3R100859

3R100863

3R100867

3R100871

3R100883

3R100887

3R100899

3R100903

3R100907

3R100911

3R100927

3R100935

3R100951

3R100959

3R100964

3R100968

3R100984

3R100990

3R100994

3R100998

3R101010

3R101014

3R101022

3R101026

3R101030

3R101035

3R101040

3R101044

3R101058

3R101071

3R101076

3R101080

3R101084

3R101094

3R101098

3R101107

3R101111

3R101116

3R101120

3R101124

3R101128

3R101132

3R101148

3R101153

3R101157

3R101165

3R101169

3R101173

3R101182

3R101190

3R101200

3R101209

3R101218

3R101222

3R101230

3R101234

3R101242

3R101246

3R101250

3R101258

3R101263

3R101275

3R101279

3R101292

3R101301

3R101305

3R101309

3R101317

3R101321

3R101328

3R101336

3R101340

3R101344

3R101348

3R101356

3R101360

3R101364

3R101368

3R101372

3R101380

3R101384

3R101388

3R101392

3R101396

3R101400

3R101408

3R101412

3R101416

3R101420

3R101424

3R101428

3R101432

3R101436

3R101440

3R101444

3R101448

3R101452

3R101456

3R101460

3R101464

3R101468

3R101478

3R101482

3R101486

3R101490

3R101494

3R101498

3R101515

3R101519

3R101535

3R101543

3R101547

3R101551

3R101557

3R101565

3R101571

3R101579

3R101592

3R101596

3R101600

3R101607

3R101612

3R101616

3R101621

3R101625

3R101629

3R101641

3R101645

3R101653

3R101657

3R101661

3R101665

3R101669

3R101673

3R101685

3R101689

3R101693

3R101701

3R101705

3R101709

3R101713

3R101721

3R101725

3R101733

3R101737

3R101741

3R101745

3R101749

3R101753

3R101757

3R101769

3R101773

3R101777

3R101781

3R101785

3R101798

3R101802

3R101806

3R101810

3R101814

3R101822

3R101831

3R101835

3R101843

3R101847

3R101855

3R101859

3R101863

3R101867

3R101871

3R101879

3R101887

3R101891

3R101895

3R101899

3R101903

3R101907

3R101918

3R101922

3R101926

3R101930

3R101934

3R101938

3R101942

3R101946

3R101950

3R101954

3R101969

3R101973

3R101978

3R101983

3R101987

3R101991

3R101995

3R101999

3R102003

3R102011

3R102019

3R102023

3R102035

3R102039

3R102044

3R102048

3R102056

3R102060

3R102064

3R102076

3R102080

3R102084

3R102088

3R102096

3R102100

3R102104

3R102112

3R102131

3R102135

3R102139

3R102143

3R102147

3R102151

3R102155

3R102159

3R102167

3R102171

3R102175

3R102179

3R102184

3R102192

3R102199

3R102203

3R102207

3R102211

3R102215

3R102219

3R102231

3R102235

3R102240

3R102245

3R102250

3R102255

3R102259

3R102263

3R102267

3R102279

3R102283

3R102287

3R102295

3R102299

3R102303

3R102307

3R102311

3R102315

3R102319

3R102323

3R102331

3R102339

3R102343

3R102347

3R102351

3R102355

3R102359

3R102371

3R102376

3R102380

3R102384

3R102388

3R102392

3R102398

3R102412

3R102420

3R102426

3R102431

3R102437

3R102441

3R102446

3R102458

3R102463

3R102467

3R102472

3R102477

3R102484

3R102489

3R102494

3R102504

3R102510

3R102515

3R102520

3R102539

3R102551

3R102557

3R102561

3R102566

3R102571

3R102585

3R102589

3R102594

3R102607

3R102612

3R102617

3R102623

3R102627

3R102631

3R102636

3R102640

3R102644

3R102657

3R102669

3R102673

3R102681

3R102685

3R102689

3R102693

3R102698

3R102704

3R102713

3R102717

3R102723

3R102731

3R102739

3R102743

3R102747

3R102751

3R102755

3R102759

3R102763

3R102767

3R102775

3R102779

3R102783

3R102787

3R102791

3R102795

3R102800

3R102804

3R102808

3R102813

3R102821

3R102825

3R102829

3R102833

3R102837

3R102841

3R102845

3R102849

3R102853

3R102857

3R102861

3R102865

3R102869

3R102873

3R102877

3R102881

3R102886

3R102890

3R102894

3R102898

3R102902

3R102911

3R102915

3R102919

3R102931

3R102936

3R102949

3R102955

3R102961

3R102966

3R102977

3R102982

3R102990

3R103008

3R103013

3R103017

3R103021

3R103025

3R103029

3R103033

3R103037

3R103041

3R103050

3R103058

3R103065

3R103069

3R103074

3R103078

3R103082

3R103086

3R103090

3R103094

3R103105

3R103109

3R103134

3R103142

3R103152

3R103161

3R103177

3R103181

3R103189

3R103195

3R103203

3R103213

3R103222

3R103227

3R103239

3R103243

3R103247

3R103251

3R103259

3R103263

3R103267

3R103285

3R103289

3R103295

3R103301

3R103313

3R103317

3R103321

3R103326

3R103334

3R103338

3R103343

3R103347

3R103351

3R103357

3R103361

3R103367

3R103373

3R103381

3R103385

3R103393

3R103397

3R103405

3R103409

3R103413

3R103417

3R103421

3R103429

3R103433

3R103443

3R103447

3R103464

3R103473

3R103481

3R103489

3R103493

3R103497

3R103505

3R103521

3R103542

3R103546

3R103554

3R103560

3R103573

3R103577

3R103586

3R103591

3R103595

3R103600

3R103605

3R103609

3R103617

3R103622

3R103639

3R103652

3R103666

3R103671

3R103677

3R103683

3R103689

3R103703

3R103709

3R103719

3R103725

3R103734

3R103747

3R103751

3R103755

3R103759

3R103777

3R103782

3R103789

3R103794

3R103815

3R103819

3R103832

3R103836

3R103847

3R103851

3R103857

3R103865

3R103869

3R103873

3R103883

3R103888

3R103901

3R103905

3R103911

3R103922

3R103926

3R103931

3R103941

3R103949

3R103953

3R103962

3R103966

3R103977

3R103983

3R103987

3R103992

3R104007

3R104011

3R104016

3R104026

3R104038

3R104042

3R104051

3R104064

3R104083

3R104108

3R104135

3R104139

3R104143

3R104152

3R104156

3R104177

3R104194

3R104215

3R104219

3R104227

3R104232

3R104236

3R104241

3R104245

3R104251

3R104268

3R104279

3R104287

3R104292

3R104298

3R104310

3R104319

3R104346

3R104350

3R104439

3R104444

3R104472

3R104496

3R104550

3R104562

3R104583

3R104588

3R104592

3R104598

3R104606

3R104610

3R104616

Important: Dealers should confirm vehicle eligibility through GMVIS (GM Vehicle Inquiry System) before beginning recall repairs.

Involved vehicles have been identified by Vehicle Identification Number. Dealer listing will not be provided. Verify eligibility through GMVIS.

Parts Information

No parts are required for this recall.

Service Procedure

For additional information and illustrations, refer to the Engine Electrical subsection in the Engine section of the Service Manual.

  1. Open the hood and inspect the routing of the positive battery cable.
  2. • If the positive battery cable is routed between the two power steering hoses as shown in the illustration, no repair is required. Install the GM Recall Identification Label.
    • If the positive battery cable is routed in a manner where it is contacting the steering shaft, or if it is routed differently than described above, reroute the cable as described below.

    Important: The following repair procedure should only be performed if the inspected above instructed it Do NOT perform the repair described below if the inspection stated that "no repair is required."

    Important: The negative battery cable must be disconnected in the next step before proceeding.

  3. Disconnect the negative battery cable from the battery.
  4. Remove the cover and disconnect the positive battery cable from the battery.
  5. Remove the four (4) bolts that attach the curved left upper fender brace between the left fender and the plenum near the hood hinge spring. Remove the brace.
  6. Remove the top cover and the lower housing cover from the Underhood Bussed Electrical Center (UBEC).
  7. Figure 1


    Object Number: 662502  Size: SH

    Important: The positive battery cable also has a smaller positive cable that goes from the battery terminal to the UBEC. The bolt that attaches the smaller positive battery cable to the UBEC in the next step is part of the small cable end and should not be removed.

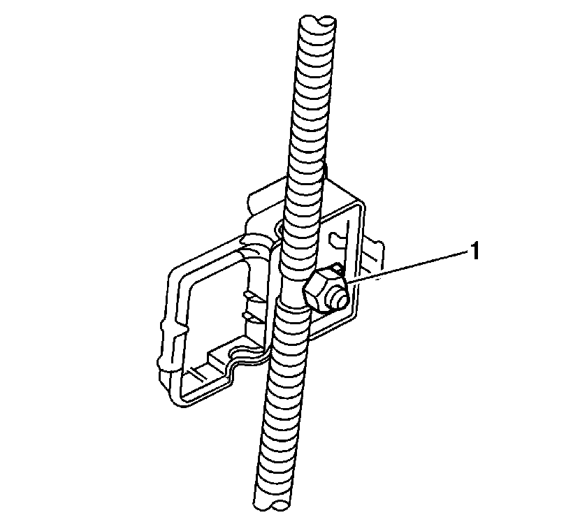
  8. Remove the bolt attaching the small positive battery cable to the UBEC and disconnect the cable. Refer to Figure 1
  9. Important: The junction block referred to in the next step is also the remote jump-start terminal for the positive jumper cable attachment.

  10. Open the junction block cover.
  11. Figure 2


    Object Number: 905475  Size: SH
  12. Remove the nut attaching the battery cable and remove the cable from the junction block.
  13. Release the plastic fastener attaching the negative battery cable to the positive cable near the power steering pump. Leave the fastener attached to the negative cable.
  14. Figure 3


    Object Number: 905521  Size: MF
  15. Route the positive battery cable as shown in Figure 3.
  16. When routed properly, the cable will be between the two power steering hoses that go up to the hydro-boost and between the power steering pump and the cooler line going to the power steering cooler core.

  17. Reinstall the positive battery cable in the junction block and install the attaching nut. Tighten to 19 N·m (14 lb ft). Close the junction block cover.
  18. Reattach the negative battery cable to the positive battery cable with the plastic fastener that was released in Step 9.
  19. Connect the small positive cable to the UBEC.
  20. Tighten
    Tighten the bolt to 9 N·m (80 lb in).

  21. Install the UBEC lower housing cover and the upper cover.
  22. Install the left upper fender brace and install the four (4) bolts.
  23. Tighten
    Tighten to 25 N·m (18 lb ft).

    Important: The positive battery cable must be connected first.

  24. Connect the positive battery cable to the battery.
  25. Tighten
    Tighten to 17 N·m (13 lb ft).

  26. Install the positive battery cable cover.
  27. Connect the negative battery cable to the battery.
  28. Tighten
    Tighten to 17 N·m (13 lb ft).

  29. Install the GM Recall Identification Label.

Recall Identification Label

Place a Program Identification Label on each vehicle corrected in accordance with the instructions outlined in this Product Program Bulletin. Each label provides a space to include the program number and the five (5) digit dealer code of the dealer performing the program service. This information may be inserted with a typewriter or a ball point pen.

Put the Program Identification Label on a clean and dry surface of the radiator core support in an area that will be visible to people servicing the vehicle. When installing the Program Identification Label, be sure to pull the tab to allow the adhesion of the clear protective covering. Additional Program Identification Labels for US dealers can be obtained from Dealer Support Materials by either ordering on the web from DWD Store, gm-dealerworld.com, or calling 1-866-700-0001 (Monday-Friday, 8:00 am to 5:00 pm EST). Request Item Number S-1015 when ordering.

Claim Information

Submit a Product Recall Claim with the information indicated below:

Repair Performed

Part Count

Part No.

Parts Allow

CC-FC

Labor Op

Labor Hours*

Inspect Positive Cable Routing - No Action Required

0

N/A

N/A

MA-96

V0890

0.2

Inspect Positive Cable Routing and Reroute

0

N/A

N/A

MA-96

V0891

0.5

* -- For Recall Administrative Allowance, add 0.1 hours to the "Labor Hours".

Customer Notification

There will be owner notification. Vehicles are in-transit to dealers.

Dealer Recall Responsibility

All unsold new vehicles in dealers' possession and subject to this recall MUST be held and inspected/repaired per the service procedure of this recall bulletin BEFORE customers take possession of these vehicles.