GM Service Manual Online
For 1990-2009 cars only

Information on Attachment Sequence for Proper Front Liner to Fender Fit

Subject:Information on Attachment Sequence for Proper Front Liner to Fender Fit

Models:2007 Cadillac Escalade, Escalade ESV, Escalade EXT
2007 Chevrolet Tahoe
2007 GMC Yukon



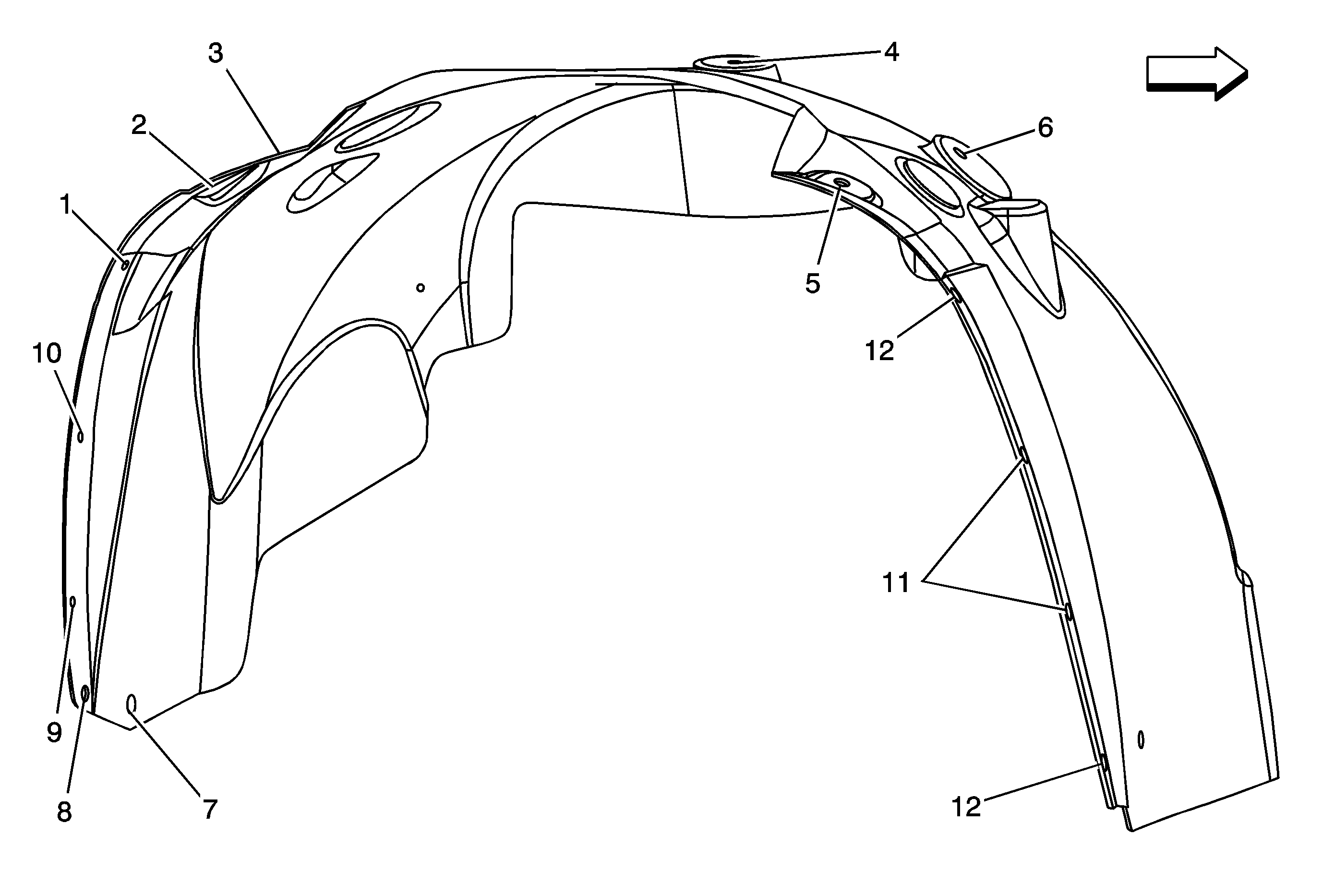
This bulletin is being issued to provide the technician with the proper attaching sequence procedure. This procedure will ensure a tight fit between the liner and the fender.

Right Front


Object Number: 1783916  Size: MF

Left Front


Object Number: 1783909  Size: MF

Parts Information

Part Number

Description

11518531

Push Nuts

11609487

Screws