GM Service Manual Online
For 1990-2009 cars only
Table 1: Electronic Brake Control Module (EBCM) - C1 (w/o JL4)
Table 2: Electronic Brake Control Module (EBCM) - C2 (w/o JL4)
Table 3: Electronic Brake Control Module (EBCM) (w/JL4)
Table 4: Precharge Pump
Table 5: Steering Wheel Speed/Position Sensor
Table 6: Stop Lamp Switch (w/o JL4)
Table 7: Stop Lamp Switch (w/ JL4)
Table 8: Traction Control Switch (w/o JL4)
Table 9: Traction Control Switch (w/JL4)
Table 10: Wheel Speed Sensor (WSS) - LF
Table 11: Wheel Speed Sensor (WSS) - RF
Table 12: Wheel Speed Sensor (WSS) - LR (10 Series w/JL4 )
Table 13: Wheel Speed Sensor (WSS) - RR (10 Series w/JL4)
Table 14: Wheel Speed Sensor (WSS) - RR (20 Series w/JL4)
Table 15: YAW and Lateral Acceleration Sensor

Electronic Brake Control Module (EBCM) - C1 (w/o JL4)


Object Number: 684792  Size: CH

Connector Part Information

    • 12052613
    • 2-Way F Metri-Pack 480 Series Sealed (BLK)

Pin

Wire Color

Circuit No.

Function

A

BLK

2150

Ground

B

RED

442

Battery Positive Voltage

Electronic Brake Control Module (EBCM) - C2 (w/o JL4)


Object Number: 365992  Size: CH

Connector Part Information

    • 12193519
    • 16-Way F Micro-Pack 100W (NAT)

Pin

Wire Color

Circuit No.

Function

A1

BRN

441

Ignition 3 Voltage

A2

YEL

873

Left Front Wheel Speed Sensor Low Reference

A3

DK GRN

872

Right Front Wheel Speed Sensor Signal

A4

TAN/BLK

464

Delivered Torque Signal

A5-A7

--

--

Not Used

A8

BLK/WHT

1695

Traction Control Switch Signal

B1

YEL/BLK

1827

Vehicle Speed Signal

B2

LT BLU

830

Left Front Wheel Speed Sensor Signal

B3

TAN

833

Right Front Wheel Speed Sensor Low Reference

B4

ORN/BLK

463

Requested Torque Signal

B5

PPL

420

TCC Brake Switch/Cruise Control Release Signal

B6

LT BLU

1122

ABS/TCS Class 2 Serial Data

B7

--

--

Not Used

B8

PPL

333

Brake Pressure Sensor Signal (1500 Series)

PPL

333

Brake Fluid Level Sensor Signal (2500 Series)

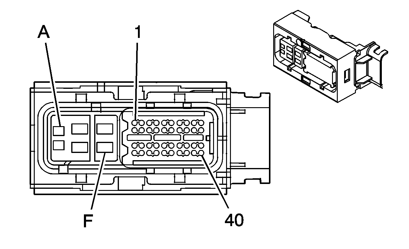
Electronic Brake Control Module (EBCM) (w/JL4)


Object Number: 1199759  Size: CH

Connector Part Information

    • 15405468
    • 46-Way F GT 280 (BLK)

Pin

Wire Color

Circuit No.

Function

1

DK GRN

2087

5-Volt Reference

2-3

--

--

Not Used

4

LT BLU

1122

ABS/TCS Class 2 Serial Data

5

LT BLU

2088

Low Reference

6-10

--

--

Not Used

11

BRN

441

Ignition 3 Voltage

12-13

--

--

Not Used

14

ORN/BLK

463

Requested Torque Signal

15

TAN/BLK

464

Delivered Torque Signal

16

--

--

Not Used

17

LT BLU

715

Lateral Accelerometer Signal

18-20

--

--

Not Used

21

LT GRN/

BLK

5352

Sensor Self Test Signal Circuit

22

PPL

420

TCC Brake Switch/Cruise Control Release Signal

23

LT GRN

1763

Steering Wheel Position Signal A

24

YEL

5353

YAW Rate Frequency

25

--

--

Not Used

26

WHT

1765

Steering Wheel Position Marker Pulse Signal

27

LT BLU

1764

Steering Wheel Position Signal B

28

--

--

Not Used

29

LT BLU

2206

Traction Control Preference Switch Signal

30

DK BLU

716

Yaw Rate Sensor Signal

31

PPL

333

Brake Fluid Level/Pressure Sensor Signal

32

YEL/BLK

1827

Vehicle Speed Signal

33

YEL

873

Left Front Wheel Speed Sensor Low Reference

34

LT BLU

830

Left Front Wheel Speed Sensor Signal

35

TAN

833

Right Front Wheel Speed Sensor Low Reference

36

DK GRN

872

Right Front Wheel Speed Sensor Signal

37

RED

885

Left Rear Wheel Speed Sensor Low Reference

38

BLK

884

Left Rear Wheel Speed Sensor Signal

39

WHT

883

Right Rear Wheel Speed Sensor Low Reference

40

BRN

882

Right Rear Wheel Speed Sensor Signal

A

DK GRN

2878

Precharge Motor Low

B

RED

4042

Battery Positive Voltage

C

BLK

2150

Ground

D

DK BLU

2877

Precharge Motor Hi

E

BLK

2150

Ground

F

RED

442

Battery Positive Voltage

Precharge Pump


Object Number: 603213  Size: CH

Connector Part Information

    • 15326679
    • 2-Way F GT 280 Sealed (BLK)

Pin

Wire Color

Circuit No.

Function

A

DK GRN

2878

Precharge Motor Low

B

DK BLU

2877

Precharge Motor Hi

Steering Wheel Speed/Position Sensor


Object Number: 280793  Size: CH

Connector Part Information

    • 12052444
    • 8-Way F Micro-Pack 100 Series (BLK)

Pin

Wire Color

Circuit No.

Function

1

GRY

1056

Steering Wheel Position Sensor 5V Reference Voltage

2

BLK

1835

Security System Sensor Low Reference

3

LT GRN

1763

Steering Wheel Position Sensor Phase A Signal

4

LT BLU

1764

Steering Wheel Position Sensor Phase B Signal

5

WHT

1765

Steering Wheel Position Marker Pulse Signal

6

LT BLU

1059

Steering Wheel Position Sensor Signal

7

PNK

41

Ignition 3 Voltage

8

BLK

1851

Ground

Stop Lamp Switch (w/o JL4)


Object Number: 62424  Size: CH

Connector Part Information

    • 12040551
    • 6-Way F Metri-Pack 680 Series (BLK)

Pin

Wire Color

Circuit No.

Function

A

DRK GRN/WHT

17

Stop Lamp Switch Signal

B

LT GRN/BLK

1540

Battery Positive Voltage

C

BRN

441

Ignition 3 Voltage

D

PUR

420

TCC Brake Switch/Cruise Control Release Signal

E

ORN

584

A/T Shift Lock Control Switch Supply Voltage

F

WHT

1135

A/T Shift Lock Control Solenoid Supply Voltage

Stop Lamp Switch (w/ JL4)


Object Number: 62424  Size: CH

Connector Part Information

    • 12040551
    • 6-Way F Metri-Pack 680 Series (BLK)

Pin

Wire Color

Circuit No.

Function

A

WHT

1135

A/T Shift Lock Control Solenoid Supply Voltage

B

ORN

584

A/T Shift Lock Control Switch Supply Voltage

C

BRN

441

Ignition 3 Voltage

D

PUR

420

TCC Brake Switch/Cruise Control Release Signal

E

LT GRN/BLK

1540

Battery Positive Voltage

F

DRK GRN/WHT

17

Stop Lamp Switch Signal

Traction Control Switch (w/o JL4)


Object Number: 40446  Size: CH

Connector Part Information

    • 12177194
    • 6-Way F Metri-Pack 150 Series (NAT)

Pin

Wire Color

Circuit No.

Function

A-B

--

--

Not Used

C

BLK/WHT

1851

Ground

D

BRN/WHT

230

Instrument Panel Lamps Dimming Control

E

BRN

441

Ignition 3 Voltage

F

BRN/WHT

1571

Traction Control Switch Signal

Traction Control Switch (w/JL4)


Object Number: 304345  Size: CH

Connector Part Information

    • 12177195
    • 6-Way F Metri-Pack 150 Series (BLK)

Pin

Wire Color

Circuit No.

Function

A-B

--

--

Not Used

C

BLK/WHT

1851

Ground

D

BRN/WHT

230

Instrument Panel Lamps Dimming Control

E

BRN

441

Ignition 3 Voltage

F

LT BLU

2206

Traction Control Preference Switch Signal

Wheel Speed Sensor (WSS) - LF


Object Number: 635009  Size: CH

Connector Part Information

    • 12052641
    • 2-Way F Metri-Pack 150 Series (BLK)

Pin

Wire Color

Circuit No.

Function

A

LT BLU

830

Left Front Wheel Speed Sensor Signal

B

YEL

873

Left Front Wheel Speed Sensor Low Reference

Wheel Speed Sensor (WSS) - RF


Object Number: 635009  Size: CH

Connector Part Information

    • 12052641
    • 2-Way F Metri-Pack 150 Series (BLK)

Pin

Wire Color

Circuit No.

Function

A

DK GRN

872

Right Front Wheel Speed Sensor Signal

B

TAN

833

Right Front Wheel Speed Sensor Low Reference

Wheel Speed Sensor (WSS) - LR (10 Series w/JL4 )


Object Number: 635009  Size: CH

Connector Part Information

    • 12052641
    • 2-Way F Metri-Pack 150 Series (BLK)

Pin

Wire Color

Circuit No.

Function

A

BLK

884

Left Rear Wheel Speed Sensor Signal

B

RED

885

Left Rear Wheel Speed Sensor Low Reference

Wheel Speed Sensor (WSS) - RR (10 Series w/JL4)


Object Number: 635009  Size: CH

Connector Part Information

    • 12052641
    • 2-Way F Metri-Pack 150 Series (BLK)

Pin

Wire Color

Circuit No.

Function

A

BRN

882

Right Rear Wheel Speed Sensor Signal

B

WHT

883

Right Rear Wheel Speed Sensor Low Reference

Wheel Speed Sensor (WSS) - RR (20 Series w/JL4)


Object Number: 523630  Size: CH

Connector Part Information

    • 15326801
    • 2-Way F GT150 Series (BLK)

Pin

Wire Color

Circuit No.

Function

A

BRN

882

Right Rear Wheel Speed Sensor Signal

B

WHT

883

Right Rear Wheel Speed Sensor Low Reference

YAW and Lateral Acceleration Sensor


Object Number: 697024  Size: CH

Connector Part Information

    • 15421324
    • 6-Way F MQS Sealed (BLK)

Pin

Wire Color

Circuit No.

Function

1

DK GRN

2087

YAW Rate Sensor 5-Volt Reference

2

LT BLU

715

Lateral Accelerometer Signal

3

DK BLU

716

Yaw Rate Sensor Signal

4

--

--

Not Used

5

YEL

5353

YAW Rate Frequency

6

LT BLU

2088

YAW Rate Sensor Low Reference