GM Service Manual Online
For 1990-2009 cars only

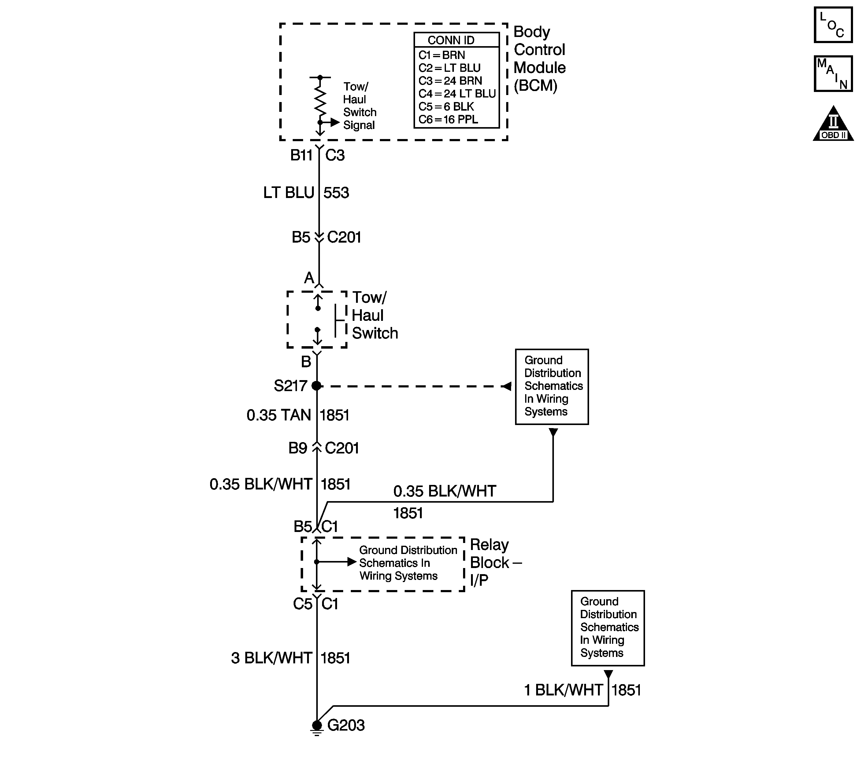
Object Number: 1327921  Size: LF
Master Electrical Component List
Automatic Transmission Controls Schematics
OBD II Symbol Description Notice

Circuit Description

Tow/haul mode enables the operator to achieve enhanced shift performance when towing or hauling a load. When tow/haul mode is selected, the tow/haul switch input signal to the body control module (BCM) is momentarily toggled to zero volts. This signals the powertrain control module (PCM) to extend the length of time between upshifts and increase transmission line pressure. Cycling the tow/haul switch again disables tow/haul mode and returns the transmission to a normal shift pattern.

Diagnostic Aids

If the electrical circuit tests are OK and the tow/haul shift pattern is not occurring, there may be a mechanical/hydraulic condition that prevents tow/haul operation. Refer to Symptoms - Automatic Transmission .

Test Description

The numbers below refer to the step numbers on the diagnostic table.

  1. This step tests for a faulty tow/haul switch.

  2. This step tests for voltage input from the BCM to the tow/haul switch.

  3. This step tests for ground integrity.

Tow/Haul Switch/Indicator Always On or Inoperative

Step

Action

Value(s)

Yes

No

1

  1. Install a scan tool.
  2. Turn ON the ignition, with the engine OFF.
  3. Cycle the tow/haul switch while observing Tow/Haul Mode on the scan tool.

Does the scan tool display Active when the switch is first pressed, and then Inactive when the switch is pressed again?

--

Go to Intermittent Conditions in Engine Controls - 4.8L, 5.3L and 6.0L

Go to Step 2

2

  1. Remove the connector from the tow/haul switch.
  2. Using the J 35616 GM Terminal Test Kit, install a fused jumper wire from terminal B to terminal A of the tow/haul switch connector.

Does the scan tool Tow/Haul Mode indicate a status change?

--

Go to Step 7

Go to Step 3

3

Using the DMM and the J 35616 , measure the voltage at terminal D of the tow/haul switch connector.

Is ignition voltage measured?

--

Go to Step 6

Go to Step 4

4

Using the DMM and the J 35616 , measure the voltage at terminal C3-B11 of the body control module (BCM).

Is ignition voltage measured?

--

Go to Step 5

Go to Step 8

5

Test the signal circuit of the tow/haul switch for an open or shorted condition. Refer to Circuit Testing and Wiring Repairs in Wiring Systems.

Did you find and correct the condition?

--

Go to Step 9

Go to Intermittent Conditions in Engine Controls - 4.8L, 5.3L and 6.0L

6

Test the ground circuit of the tow/haul switch for an open or shorted condition. Refer to Circuit Testing and Wiring Repairs in Wiring Systems.

Did you find and correct the condition?

--

Go to Step 9

Go to Intermittent Conditions in Engine Controls - 4.8L, 5.3L and 6.0L

7

Replace the tow/haul switch. Refer to Shift Lever Replacement in Steering Wheel and Column.

Did you complete the replacement?

--

Go to Step 9

--

8

Test the BCM for proper operation. Refer to Diagnostic Starting Point - Body Control System in Body Control System.

Did you find and correct the condition?

--

Go to Step 9

--

9

After the repair is complete, observe Tow/Haul Mode on the scan tool display, while cycling the tow/haul switch.

Does the scan tool display Active when the switch is first pressed, and then Inactive when the switch is pressed again?

--

System OK

Go to Step 1