GM Service Manual Online
For 1990-2009 cars only

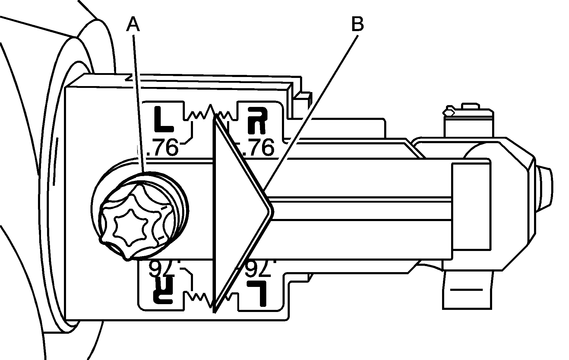
Turn the horizontal aiming screw (A) until the indicator (B) is lined up with zero.


Object Number: 805780  Size: B3

Once the horizontal aim is adjusted, then adjust the vertical aim.