GM Service Manual Online
For 1990-2009 cars only
Makes
🢒
Cadillac
🢒
2004
🢒
Escalade - 2WD
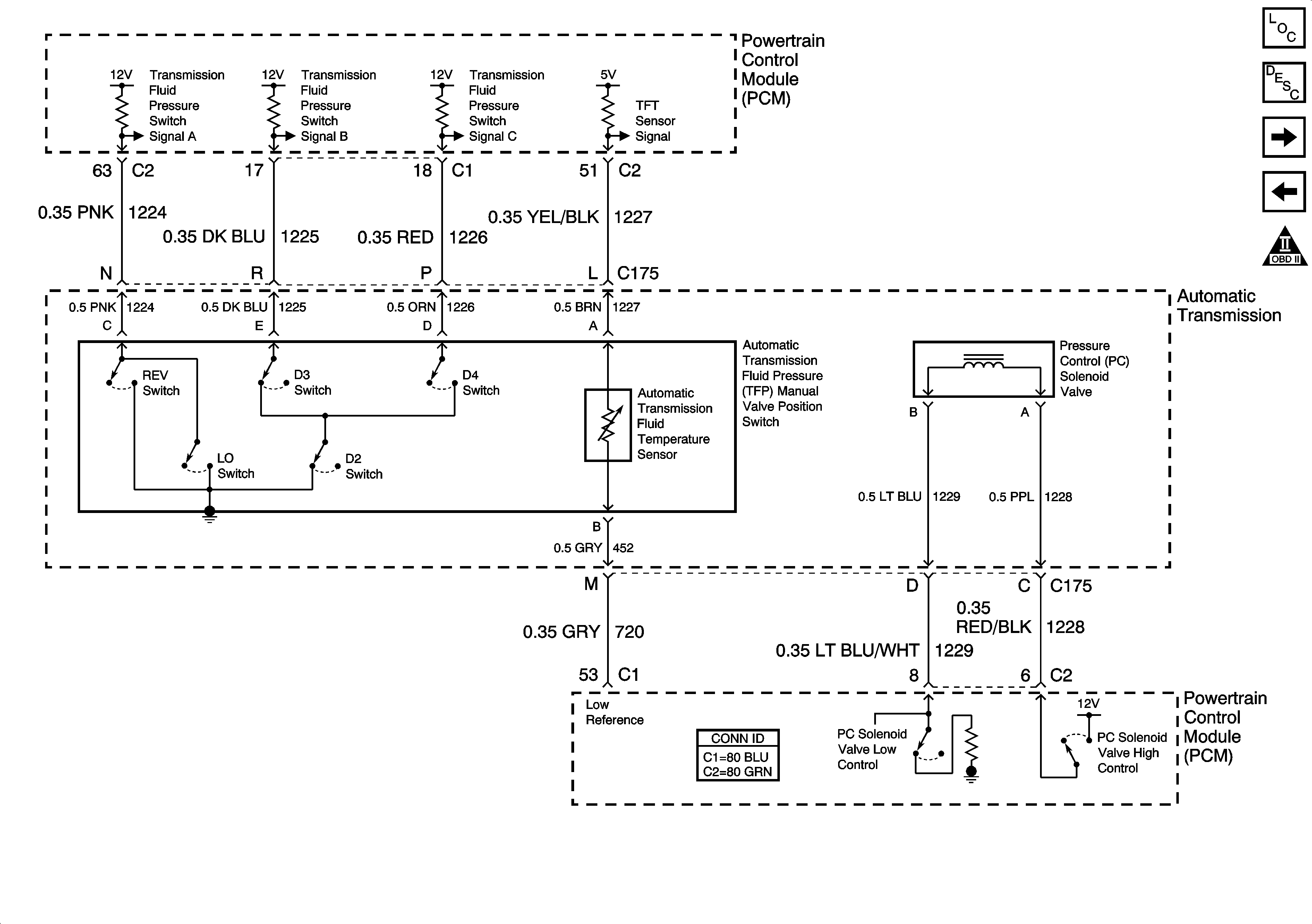
🢒 Switch Inputs
Switch Inputs
Switch Inputs
Master Electrical Component List
Electronic Component Description
Tow/Haul Switch and PNP Switch Inputs
Valve Controls and Brake Switch
Engine Controls Schematic Icons