GM Service Manual Online
For 1990-2009 cars only

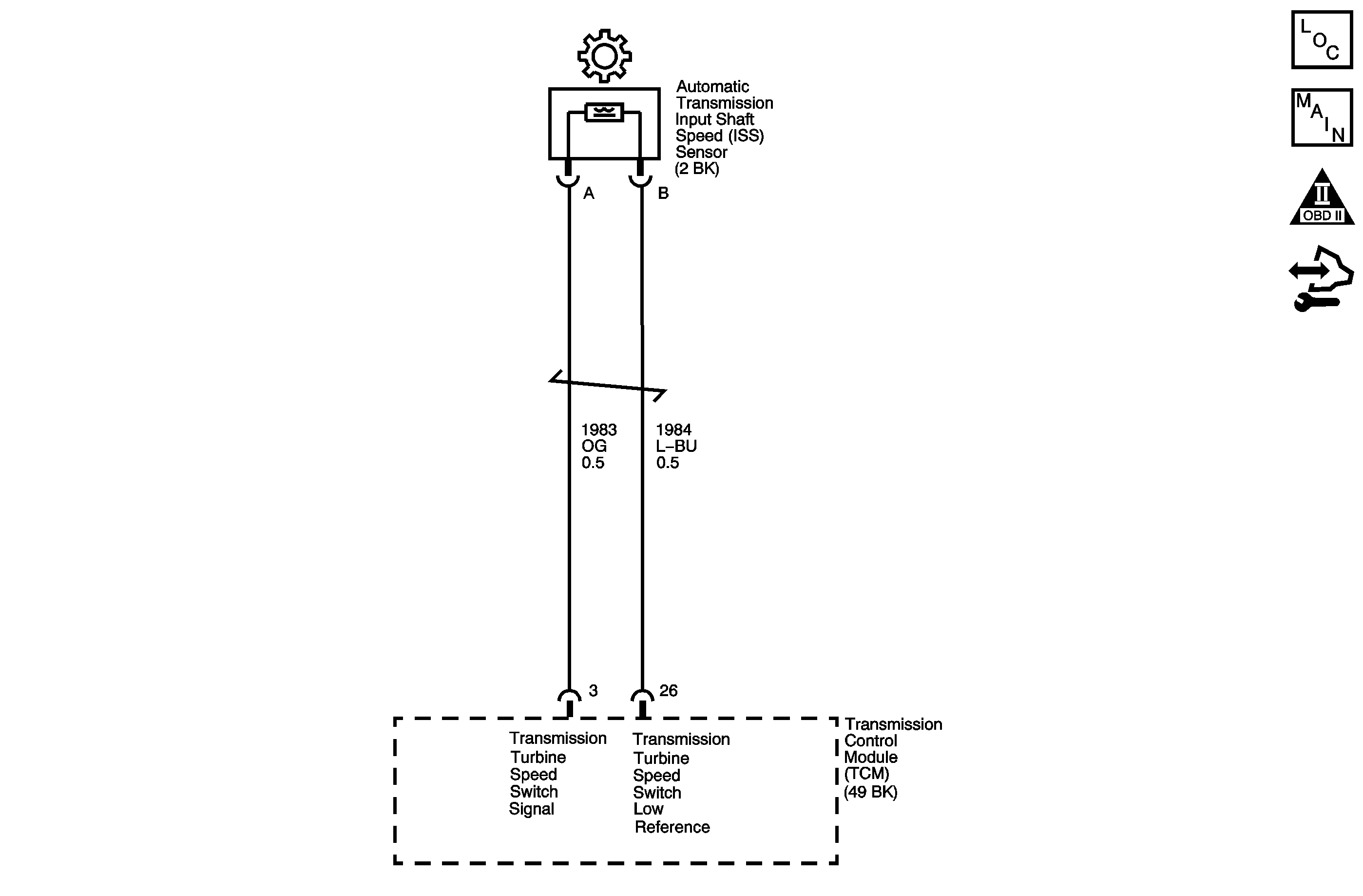
Object Number: 1778975  Size: MF
Master Electrical Component List
Automatic Transmission Controls Schematics
OBD II Symbol Description Notice
Control Module References

Circuit Description

The automatic transmission input shaft speed (AT ISS) sensor provides transmission input speed to the transmission control module (TCM). The AT ISS sensor is a permanent magnet (PM) generator. The sensor mounts into the transmission case and maintains a slight air gap between the sensor and the forward clutch housing. The PM generator produces an AC voltage as the forward clutch housing rotor teeth pass through the magnetic field of the sensor. The AC voltage level increases as the turbine shaft speed increases. The TCM converts the AC voltage into a digital signal. The TCM determines actual turbine speed using the digital signal. The TCM uses the input speed to calculate torque converter slip speed, and gear ratios.

When the TCM detects an unreasonably large change in the input speed, in a very short period of time, then DTC P0716 sets. DTC P0716 is a type B DTC.

DTC Descriptor

This diagnostic procedure supports the following DTC:

DTC P0716 Input Speed Sensor Performance

Conditions for Running the DTC

    • No ISS DTC P0717.
    • No OSS DTCs P0722 or P0723.
    • No 2-3 shift solenoid performance DTC P0757.
    • No 1-2 shift solenoid electrical DTCs P0973 or P0974.
    • The system voltage is 8-18 volts.
    • The engine is running for greater than 5 seconds.
    • The engine torque is greater than 50 N·m (37 lb ft).
    • The input speed is 1,050 RPM or greater and does not change greater than 1,000 RPM for 2 seconds or greater.
    • The calc. throttle position is 8 percent or greater.
    • The vehicle speed is 16 km/h (10 mph) or greater.

Conditions for Setting the DTC

The input speed changes by 1,000 RPM or greater for 3.25 seconds or greater.

Action Taken When the DTC Sets

    • The TCM requests the engine control module (ECM) to illuminate the malfunction indicator lamp (MIL) during the second consecutive trip in which the Conditions for Setting the DTC are met.
    • The TCM commands maximum line pressure.
    • The TCM freezes transmission adaptive functions.
    • The ECM records the operating conditions when the Conditions for Setting the DTC are met. The ECM stores this information as Freeze Frame and Failure Records.
    • The TCM records the operating conditions when the Conditions for Setting the DTC are met. The TCM stores information as Failure Records.
    • The TCM stores the DTC P0716 in TCM history during the second consecutive trip in which the Conditions for Setting the DTC are met.
    • The TCM calculates input speed from gear ratio and output speed.

Conditions for Clearing the MIL/DTC

    • The ECM turns OFF the MIL after the third consecutive drive trip in which the TCM does not send a MIL illumination request.
    • A scan tool can clear the MIL/DTC.
    • The TCM clears the DTC from TCM history if the vehicle completes 40 warm-up cycles without an emission related diagnostic fault occurring.

Diagnostic Aids

DTC P0716 defaults to an elevated line pressure condition which may result in partial torque converter clutch (TCC) apply. This may produce an idle surge that could stall the engine.

Test Description

The number below refers to the step number on the diagnostic table.

  1. This step tests for proper operation of the AT ISS sensor.

Step

Action

Value

Yes

No

1

Did you perform the Diagnostic System Check - Vehicle?

--

Go to Step 2

Go to Diagnostic System Check - Vehicle

2

  1. Install a scan tool.
  2. Turn ON the ignition, with the engine OFF.
  3. Important: Before clearing the DTC, use the scan tool in order to record the ECM and TCM Freeze Frame and Failure Records for reference. Using the Clear Info function erases the Freeze Frame and Failure Records from the ECM and TCM.

  4. Record the DTC Freeze Frame and Failure Records.
  5. Clear the DTC.
  6. Raise and support the rear axle assembly.
  7. Start the engine.
  8. Place the transmission in any drive range.

With the drive wheels rotating, does the scan tool Transmission ISS increase with the drive wheel speed?

--

Go to Testing for Intermittent Conditions and Poor Connections

Go to Step 3

3

  1. Turn OFF the ignition.
  2. Disconnect the TCM connector.
  3. Using the DMM and J 35616 GM-approved terminal test kit, measure the resistance between the AT ISS high signal and the AT ISS low signal.

Does the resistance measure within the specified range?

1,085-2,140 ohms

Go to Step 4

Go to Step 6

4

Measure the resistance between the AT ISS high signal and ground.

Does the resistance measure greater than the specified value?

10 M ohms

Go to Step 5

Go to Step 8

5

  1. Connect the TCM connector.
  2. Disconnect the engine wiring harness from the ISS sensor assembly.
  3. Turn ON the ignition, with the engine OFF.
  4. Test the high signal circuit for a short to voltage.
  5. Test the low signal circuit for short to voltage.

Refer to Testing for a Short to Voltage and Wiring Repairs .

Did you find and correct the condition?

--

Go to Step 13

Go to Step 12

6

  1. Disconnect the engine wiring harness from the ISS sensor assembly.
  2. Measure the resistance of the ISS sensor assembly.

Does the resistance measure within the specified range?

1,085-2,140 ohms

Go to Step 7

Go to Step 11

7

Was the resistance measured in Step 3 greater than the specified value?

2,140 ohms

Go to Step 9

Go to Step 10

8

  1. Test the high signal circuit for a short to ground.
  2. Test the low signal circuit for a short to ground.

Refer to Testing for Short to Ground and Wiring Repairs .

Did you find and correct the condition?

--

Go to Step 13

--

9

  1. Test the high signal circuit for an open.
  2. Test the low signal circuit for an open.

Refer to Testing for Continuity and Wiring Repairs .

Did you find and correct the condition?

--

Go to Step 13

--

10

Test the high signal circuit and the low signal circuit for a short together. Refer to Circuit Testing and Wiring Repairs .

Did you find and correct the condition?

--

Go to Step 13

--

11

Replace the ISS sensor assembly. Refer to Input Speed Sensor Replacement .

Did you complete the replacement?

--

Go to Step 13

--

12

Replace the TCM. Refer to Control Module References for replacement, setup, and programming.

Did you complete the replacement?

--

Go to Step 13

--

13

Perform the following procedure in order to verify the repair:

  1. Select DTC.
  2. Select Clear Info.
  3. Operate the vehicle under the following conditions:
  4. • The transmission input speed is greater than 500 RPM.
    • The transmission input speed change is 500 RPM or less for 3 seconds or greater.
  5. Select Specific DTC.
  6. Enter DTC P0716.

Has the test run and passed?

--

Go to Step 14

Go to Step 2

14

With the scan tool, observe the stored information, capture info and DTC info.

Does the scan tool display any DTCs that you have not diagnosed?

--

Go to Diagnostic Trouble Code (DTC) List - Vehicle

System OK