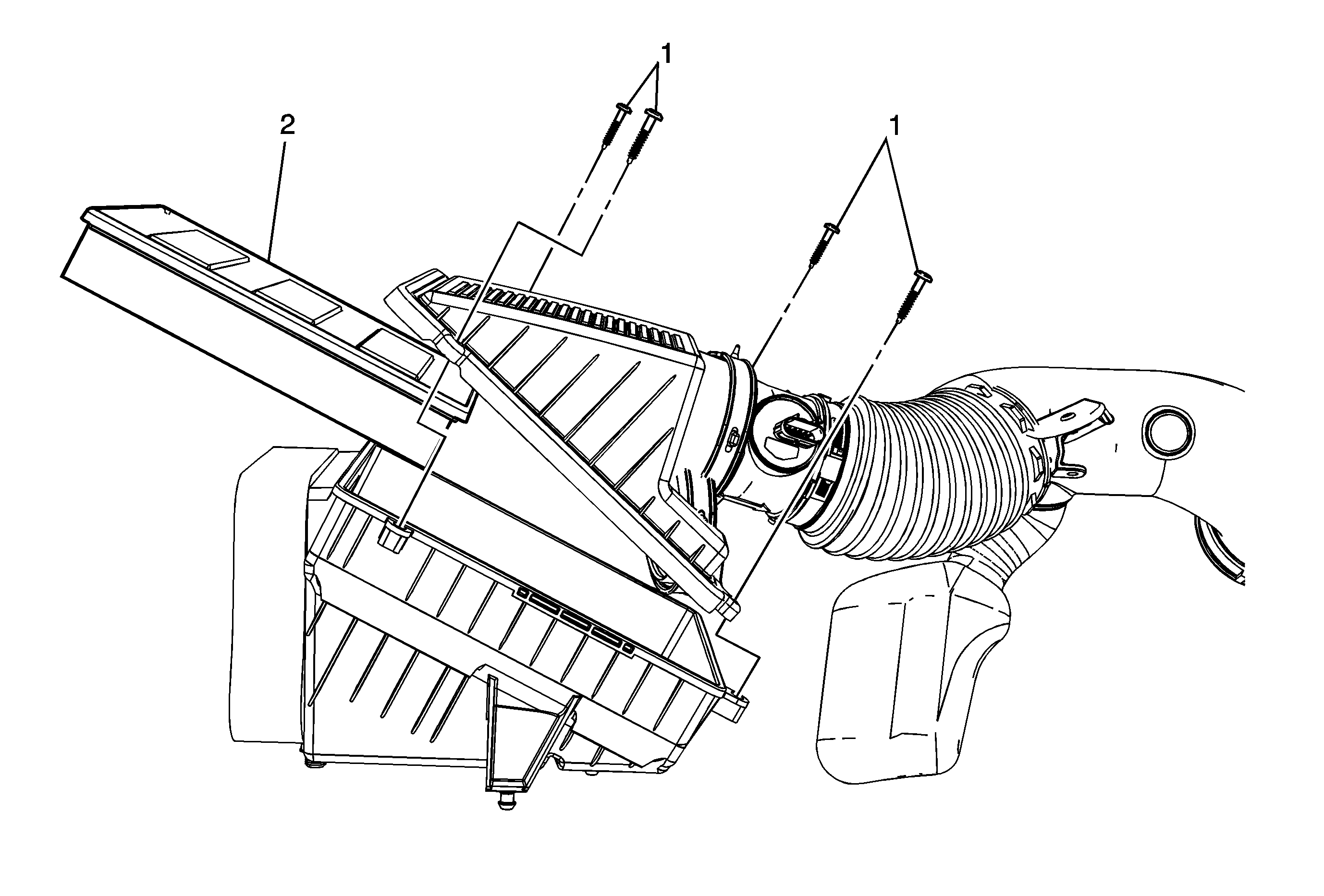
Callout
Component Name
1
Air Filter Housing Fastener (Qty: 4)
Caution: Refer to Fastener Caution in the Preface section.
Tighten3 N·m(27 lb in)
2
Air Filter Element