Callout | Component Name |
|---|---|
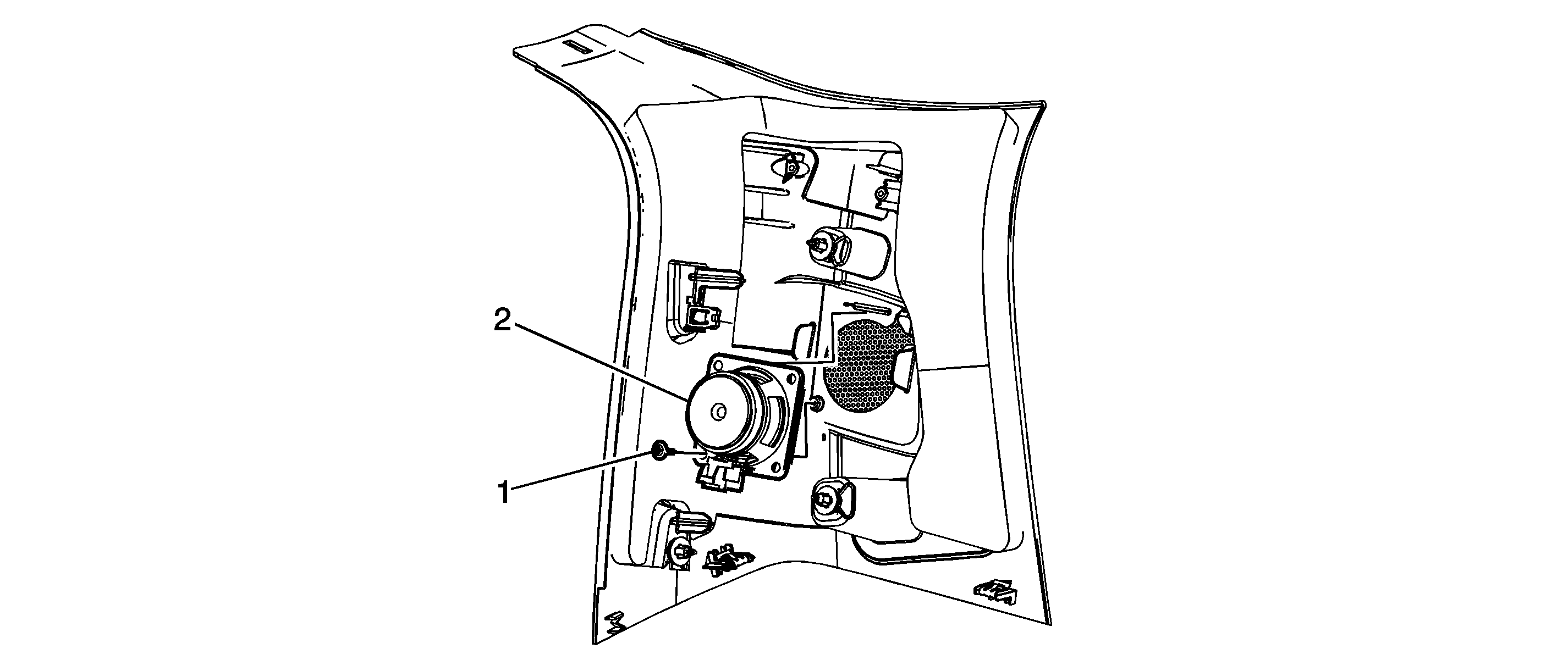
Preliminary ProcedureRemove the rear corner garnish molding. Refer to Body Rear Corner Garnish Molding Replacement - Right Side or Body Rear Corner Garnish Molding Replacement - Left Side. | |
1 | Radio Rear Speaker Assembly Screw Caution: Refer to Fastener Caution in the Preface section. Tighten |
2 | Radio Rear Speaker Assembly |