GM Service Manual Online
For 1990-2009 cars only

Object Number: 1552881  Size: MF
OBD II Symbol Description Notice
Handling ESD Sensitive Parts Notice

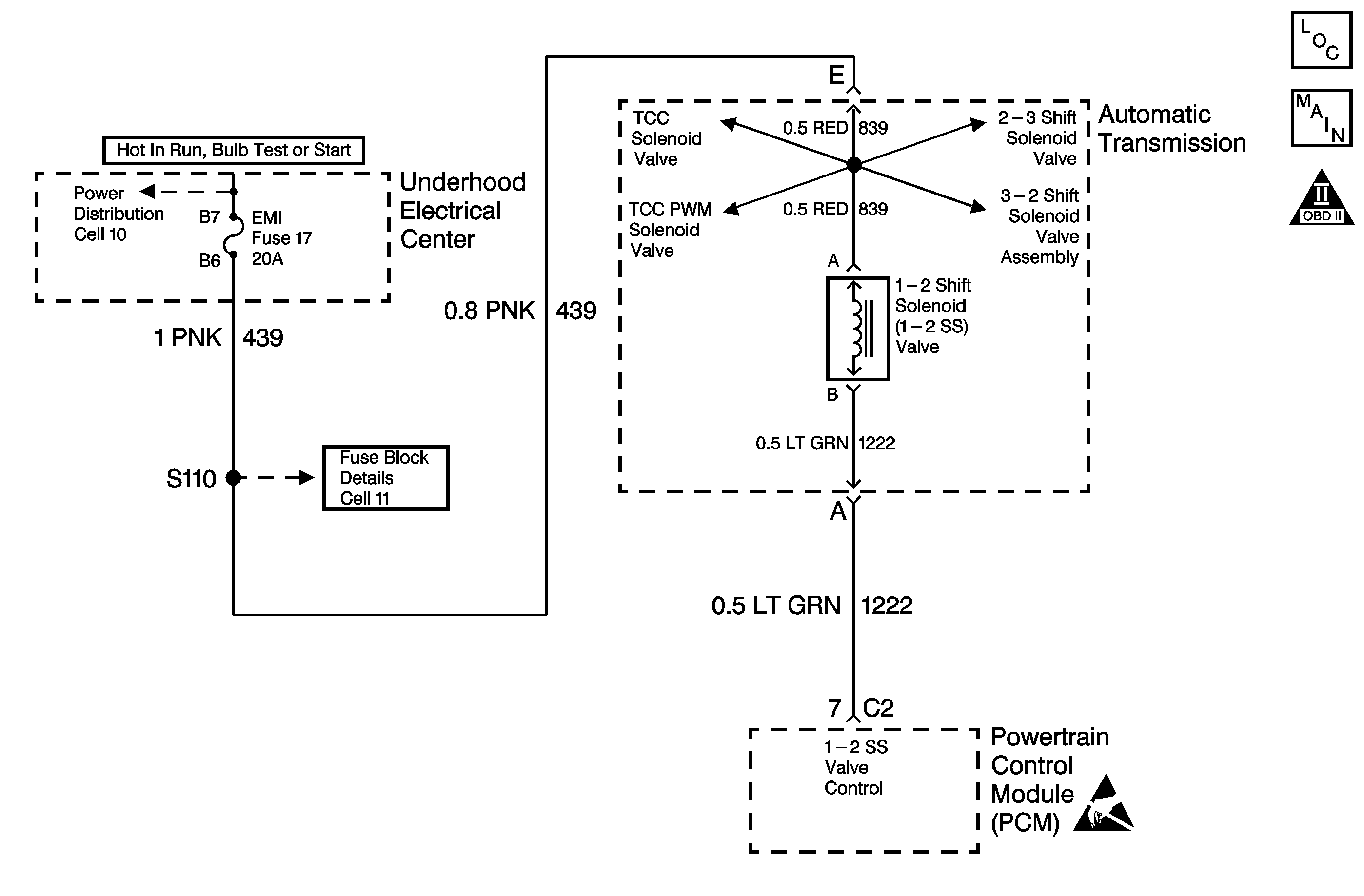
Circuit Description

The 1-2 Shift Solenoid Valve (1-2 SS Valve) controls the fluid flow acting on the 1-2 and 3-4 shift valve. The solenoid is a normally-open exhaust valve. The combination of the 2-3 Shift Solenoid Valve and the 1-2 SS Valve allows four different shifting combinations. The solenoid attaches to the control valve body within the transmission. Circuit 439 supplies ignition voltage directly to the 1-2 SS Valve. The PCM controls the solenoid by providing a ground path through circuit 1222.

If the PCM detects a continuous open or a short to ground in the 1-2 SS Valve circuit or the 1-2 SS Valve, then DTC P0753 sets. DTC P0753 is a type A DTC.

Conditions for Setting the DTC

    • The ignition is ON.
    • The system voltage is 10-17 volts.
    • The PCM commands the solenoid ON and the voltage remains high (Battery Positive Voltage).
    • The PCM commands the solenoid OFF and the voltage remains low (0 volts).
    • All conditions met for 5 seconds.

Action Taken When the DTC Sets

    • The PCM commands maximum line pressure.
    • The PCM freezes shift adapts from being updated.
    • The PCM illuminates the Malfunction Indicator Lamp (MIL).

Conditions for Clearing the MIL/DTC

    • The PCM turns OFF the MIL after three consecutive ignition cycles without a failure reported.
    • A scan tool can clear the DTC from the PCM history. The PCM clears the DTC from the PCM history if the vehicle completes 40 warm-up cycles without a failure reported.
    • The PCM cancels the DTC default actions when the fault no longer exists and the ignition is OFF long enough in order to power down the PCM.

Diagnostic Aids

    • Inspect the wiring for any poor electrical connections at the PCM. Inspect the wiring at the TCC brake switch. Look for the following conditions:
       - A bent terminal
       - A backed out terminal
       - A damaged terminal
       - Poor terminal tension
       - A chafed wire
       - A broken wire inside the insulation
    • When diagnosing for an intermittent short or an open condition, massage the wiring harness while watching the test equipment for a change.
    • An open feed circuit can set multiple DTCs.
    • Refer to Shift Solenoid Valve State and Gear Ratio .

Test Description

The numbers below refer to the step numbers on the diagnostic table.

  1. This step verifies that the 1-2 SS Valve and the Automatic Transmission Wiring Harness Assembly are functioning normally.

  2. This step verifies that the ignition supplies power to the 1-2 SS Valve through the PCM Emissions fuse.

  3. This step verifies that the valve's resistance is within specifications.

DTC P0753 1-2 Shift Solenoid Valve - Electrical

Step

Action

Value(s)

Yes

No

1

Was the Powertrain On-Board Diagnostic (OBD) System Check performed?

--

Go to Step 2

Go to Powertrain On Board Diagnostic (OBD) System Check , Section 6.

2

  1. Install the Scan Tool ®.
  2. With the engine OFF, turn the ignition switch to the RUN position.
  3. Important: Before clearing the DTCs, use the scan tool in order to record the Freeze Frame and Failure Records for reference. The Clear Info function will erase the data.

  4. Record the DTC Freeze Frame and Failure Records.
  5. Have DTCs P0753, P0758, P1860, P1864, and P1886 set?

--

Go to Step 3

Go to Step 4

3

  1. Inspect the following components for an open or a short to ground.
  2. • Circuit 439 (PNK)
    • The solenoid
    • The Emissions fuse
    • The Automatic Transmission Wiring Harness Assembly
  3. Repair the harness, the solenoid, and the circuit if necessary.

Refer to Electrical Diagnosis, Section 8.

Did you find and correct a problem?

--

Go to Step 22

--

4

Using the scan tool, command the 1-2 SS Valve ON and OFF three times while listening to the bottom of the transmission pan (a stethoscope may be necessary).

Did the solenoid click when commanded?

--

Go to Step 5

Go to Step 6

5

  1. Inspect every connection at the PCM for the following conditions:
  2. • Poor connections
    • Bent connector pins
    • Backed out connector pins
  3. Inspect every connection at the transmission 20-way harness for the following conditions:
  4. • Poor connections
    • Bent connector pins
    • Backed out connector pins

Did you find and correct a problem?

--

Go to Step 22

Go to Diagnostic Aids

6

  1. Turn the ignition switch to the OFF position.
  2. Disconnect the transmission 20-way connector (additional DTCs will set).
  3. Install the J 39775 Jumper Harness on the engine harness connector .
  4. With the engine OFF, turn the ignition switch to the RUN position.
  5. Connect a test lamp from J 39775 Jumper Harness cavity E to ground.

Did the test lamp Illuminate?

--

Go to Step 7

Go to Step 8

7

  1. Install a test lamp between cavities E and A of the J 39775 Jumper Harness.
  2. Using the scan tool, command the 1-2 Shift Solenoid Valve ON and OFF three times.

Does the test lamp illuminate when you command the solenoid valve ON, and turn OFF when you command the solenoid valve OFF?

--

Go to Step 14

Go to Step 9

8

Repair the open or short to ground in the ignition feed circuit 439 (PNK) to the 1-2 SS Valve.

Refer to Electrical Diagnosis, Section 8.

Did you find and correct a problem?

--

Go to Step 22

--

9

Monitor the test lamp.

Was the test lamp OFF continuously?

--

Go to Step 10

Go to Step 11

10

  1. Inspect circuit 1222 (LT GRN) for the following conditions:
  2. • An open
    • A poor PCM connection
    • A poor shift solenoid connection
  3. Repair the circuit if necessary.

Refer to Electrical Diagnosis, Section 8.

Did you find and correct a problem?

--

Go to Step 22

Go to Step 13

11

Was the test lamp illuminated continuously?

--

Go to Step 12

--

12

  1. Inspect circuit 1222 (LT GRN) for a short to ground.
  2. Repair the circuit if necessary.

Refer to Electrical Diagnosis, Section 8.

Did you find and correct a problem?

--

Go to Step 22

Go to Step 13

13

  1. Inspect the PCM connector for the following conditions:
  2. • Damaged connector pins
    • Backed out connector pins
    • Weak terminal tension
  3. Repair the connectors if necessary.

Did you find and correct a problem?

--

Go to Step 22

Go to Step 21

14

  1. Turn the ignition switch to the OFF position.
  2. Install the J 39775 Jumper Harness on the transmission 20-way connector ( Connector End View ).
  3. Measure the resistance between terminal A and the transmission case (ground).
  4. Measure the resistance between terminal E and the transmission case (ground).

Are both readings greater than the specified value?

250kohms

Go to Step 15

Go to Step 18

15

  1. Turn the ignition switch to the OFF position.
  2. Install the J 39775 Jumper Harness on the transmission 20-way connector ( Connector End View ).
  3. Measure the resistance between terminals A and E.

Is the resistance within the specified range?

19-31ohms

Go to Diagnostic Aids

Go to Step 16

16

  1. Disconnect the Automatic Transmission Wiring Harness Assembly from the 1-2 SS Valve.
  2. Measure the resistance of the 1-2 SS Valve.

Is the resistance within the specified range?

19-31ohms

Go to Step 17

Go to Step 20

17

  1. Inspect the Automatic Transmission Wiring Harness Assembly for an open circuit.
  2. Repair the harness if necessary.

Refer to Electrical Diagnosis, Section 8.

Did you find and correct a problem?

--

Go to Step 22

--

18

  1. Disconnect the Automatic Transmission Wiring Harness Assembly from the 1-2 SS Valve.
  2. Measure the resistance from the component's terminals to ground.

Are both readings greater than the specified value?

250kohms

Go to Step 19

Go to Step 20

19

  1. Inspect the Automatic Transmission Wiring Harness Assembly for a short to ground.
  2. Repair the harness if necessary.

Refer to Electrical Diagnosis, Section 8.

Did you find and correct a problem?

--

Go to Step 22

--

20

Replace the 1-2 SS Valve. Refer to Control Valve Body and Pressure Switch, in On-Vehicle Service.

Is the replacement complete?

--

Go to Step 22

--

21

Replace the PCM.

Refer to Powertrain Control Module Replacement/Programming , Section 6.

Is the replacement complete?

--

Go to Step 22

--

22

  1. After the repair is complete, select DTC.
  2. Select Clear Info.
  3. Operate the vehicle under the following conditions:
  4. • When the 1-2 SS Valve is commanded ON, the voltage decreases to zero.
    • When the 1-2 SS Valve is commanded OFF, the voltage increases to Battery Positive Voltage
    • All conditions met for 5 seconds.
  5. Select Specific DTC. Enter DTC P0753.

Has the test run and passed?

--

System OK

Begin the diagnosis again. Go to Step 1