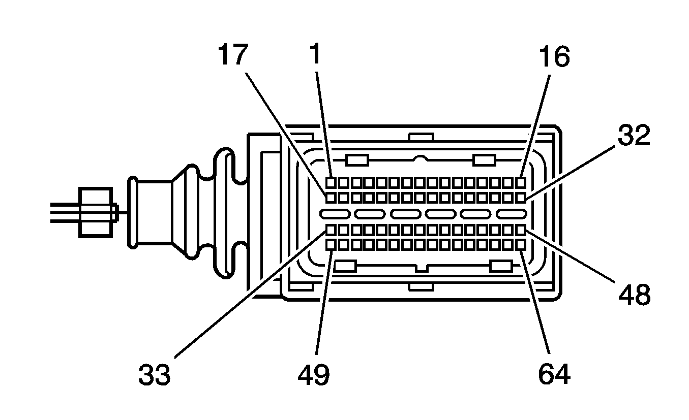
| Table 1: | Engine Control Module (ECM) C1 |
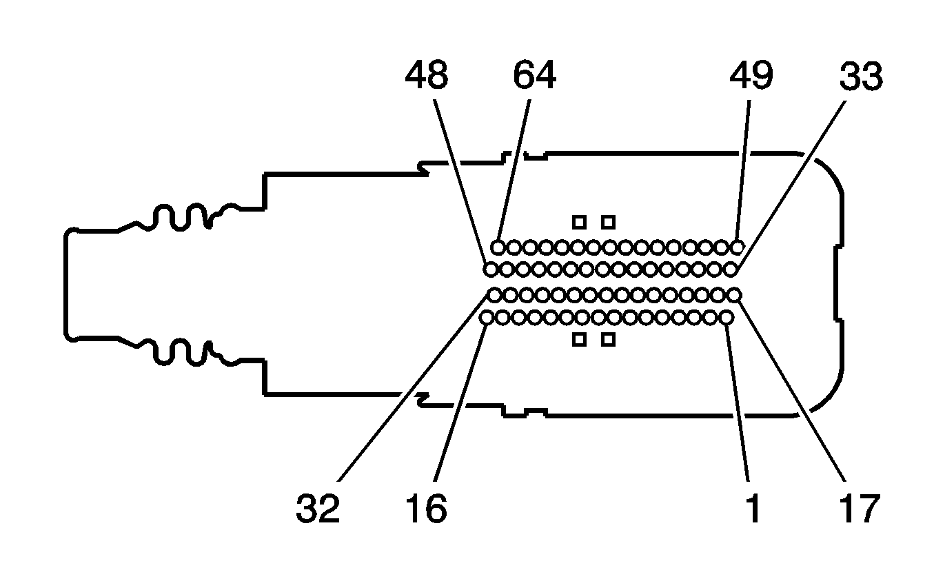
| Table 2: | Engine Control Module (ECM) C2 |
Pin | Wire | Circuit | Function |
|---|---|---|---|
1 | TN | 407 | KS Low Reference Bank 2 |
2 | OG | 5280 | Heated Oxygen Sensor Input Pump Current Bank 2 Sensor (1) |
3 | L-GN | 5278 | Heated Oxygen Sensor Input Pump Current Bank 1 Sensor (1) |
4 | OG | 5275 | Camshaft Position Intake Sensor (1) |
5 | GY | 605 | Reference Voltage Feed - 5-Volt Reference |
6 | YE | 7017 | Variable Intake Manifold Position Signal |
7 | TN | 470 | Low Reference |
8 | PU | 486 | Throttle Position Sensor Signal 2 |
9 | D-GN/WH | 2124 | Electronic Spark Timing Signal Cylinder 4 |
10 | WH/BK | 5039 | Engine Speed Sensor High |
11 | -- | -- | Not Used |
12 | OG/BK | 5272 | Camshaft Phaser Intake Solenoid (2) |
13 | L-GN | 5282 | Camshaft Phaser Exhaust Solenoid (1) |
14 | -- | -- | Not Used |
15 | BN | 582 | Throttle Motor Feed - Close |
16 | GY/WH | 3113 | Heated Oxygen Sensor Heater Low Control Bank 1 Sensor (1) |
17 | GY | 1716 | Knock Sensor Return |
18 | TN | 1657 | HO2S Low Reference Bank 1 Sensor 1 |
19 | PU | 1665 | Oxygen Sensor Signal - Right - Forward of Catalytic Converter |
20 | D-GN | 5273 | Camshaft Position Exhaust Sensor (1) |
21 | GY | 23 | Alternator Field Duty Cycle Signal |
22 | -- | -- | Not Used |
23 | YE | 410 | Coolant Temperature Sensor Signal |
24 | -- | -- | Not Used |
25 | L-BU/WH | 2126 | Electronic Spark Timing Signal Cylinder 6 |
26 | OG/WH | 2122 | Electronic Spark Timing Signal Cylinder 2 |
27-28 | -- | -- | Not Used |
29 | PU | 5284 | Camshaft Phaser Intake Solenoid (1) |
30 | WH/BK | 5283 | Camshaft Phaser Exhaust Solenoid (2) |
31 | YE | 581 | Throttle Motor Feed - Open |
32 | L-BU | 3212 | Heated Oxygen Sensor Heater Low Control Bank 2 Sensor (1) |
33 | D-BU | 496 | Knock Sensor Signal 1 |
34 | PU | 1666 | Oxygen Sensor Signal - Left - Forward of Catalytic Converter |
35 | WH | 5279 | Heated Oxygen Sensor Pump Current Bank 1 Sensor (1) |
36 | PU | 5274 | Camshaft Position Exhaust Sensor (2) |
37-38 | -- | -- | Not Used |
39 | TN | 2752 | Sensor Return - Throttle Position Sensor |
40 | TN/BK | 231 | Oil Pressure Switch Signal |
41 | D-GN | 2125 | Electronic Spark Timing Signal Cylinder 5 |
42 | PU | 2121 | Electronic Spark Timing Signal Cylinder 1 |
43 | OG | 225 | Alternator Output - Regulator Reference Voltage |
44 | L-BU/BK | 5041 | Intake Manifold Control (1) |
45 | L-BU/BK | 844 | Fuel Injector 4 Output |
46 | PK/BK | 1746 | Fuel Injector 3 Output |
47 | TN/WH | 845 | Fuel Injector 5 Output |
48 | D-GN/WH | 428 | Canister Purge Solenoid Output |
49 | GY/BK | 1798 | Return |
50 | L-BU | 1876 | Knock Sensor Signal 2 |
51 | PU/WH | 5281 | Heated Oxygen Sensor Pump Current Bank 2 Sensor (1) |
52 | TN | 1664 | Oxygen Sensor Return - Right - Forward of Catalytic Converter |
53 | YE | 5276 | Camshaft Position Intake Sensor (2) |
54 | GY | 2701 | Reference Voltage Feed - 5-Volt Ref - Throttle Position Sensor |
55 | D-GN | 485 | Throttle Position Sensor Signal 1 |
56 | L-GN | 432 | BARO Sensor Signal |
57 | GY | 705 | Reference Voltage Feed - 5-Volt Reference |
58 | L-BU | 2123 | Electronic Spark Timing Signal Cylinder 3 |
59 | PU/WH | 5024 | Engine Speed Sensor Low |
60-61 | -- | -- | Not Used |
62 | L-GN/BK | 1745 | Fuel Injector 2 Output |
63 | TN | 1744 | Fuel Injector 1 Output |
64 | YE/BK | 846 | Fuel Injector 6 Output |
Pin | Wire | Circuit | Function |
|---|---|---|---|
1 | PK/BK | 5290 | Engine Main Relay Fused Control (1) |
2 | BK/WH | 3122 | Oxygen Sensor Heater Control Low - Front |
3 | PK | 239 | Run/Crank Ignition 1 Voltage |
4 | D-BU | 473 | High Speed Cooling Fan Relay Control |
5-6 | -- | -- | Not Used |
7 | WH/BK | 1164 | Electronic Throttle - Pedal Position 5-Volt Ref 1 |
8 | PU | 1272 | Electronic Throttle - Pedal Position 2 |
9 | OG/BK | 380 | Air Conditioning Refrigerant Pressure Sensor Signal |
10 | WH | 17 | Stop Lamp Switch Signal |
11 | TN | 472 | Manifold Absolute Temperature Sensor Signal |
12 | D-GN | 890 | Fuel Tank Pressure Sensor Signal |
13-16 | -- | -- | Not Used |
17 | PK/BK | 5290 | Engine Main Relay Fused Control (1) |
18 | OG/WH | 3223 | Oxygen Sensor Signal - Bank 2 Sensor 2 Heater Control Low |
19 | D-GN/WH | 465 | Fuel Pump Primary Relay Control |
20 | D-GN | 335 | Low Speed Cooling Fan Relay Control |
21 | -- | -- | Not Used |
22 | BN | 818 | Vehicle Speed Signal |
23 | TN/BK | 2500 | High Speed Serial Data (+) (1) |
24 | BN | 5069 | Engine Main Relay Coil Control |
25 | BK | 452 | Sensor Return |
26 | TN | 2760 | Sensor Return - Induction Air Temperature |
27 | L-BU | 1937 | Fuel Gage Sensor Signal - Right |
28 | -- | -- | Not Used |
29 | PU/WH | 1668 | Heated Oxygen Sensor High Signal Bank 1 Sensor (2) |
30-31 | -- | -- | Not Used |
32 | OG/BK | 1786 | Transmission Park/Neutral Signal |
33 | WH | 1310 | Canister Purge Solenoid Output |
34 | -- | -- | Not Used |
35 | YE | 447 | Starter Relay Coil Control |
36 | RD/WH | 1440 | Battery Positive Voltage |
37-38 | -- | -- | Not Used |
39 | GY | 596 | Reference Voltage Feed - 5-Volt Reference |
40 | BN | 1271 | Electronic Throttle - Pedal Position Return 1 |
41 | TN | 1671 | Heated Oxygen Sensor Low Signal Bank 2 Sensor (2) |
42 | D-BU | 1936 | Fuel Gage Sensor Signal - Left |
43 | YE | 492 | Mass Air Flow Signal |
44 | L-BU | 1162 | Electronic Throttle - Pedal Position Signal 2 |
45-48 | -- | -- | Not Used |
49 | D-GN/WH | 459 | A/C Compressor Clutch Relay Control |
50 | BN/WH | 419 | Check Engine Indicator Lamp Output |
51-54 | -- | -- | Not Used |
55 | TN | 2501 | High Speed GMLAN Serial Data (-) (1) |
56 | TN | 1274 | Electronic Throttle - Pedal Position 5-Volt Ref 2 |
57 | TN/WH | 1669 | HO2S Signal Bank 2 Sensor 2 |
58 | YE/BK | 5728 | ECM/TCM Serial Data Wake Up |
59 | -- | -- | Not Used |
60 | D-BU | 1161 | Electronic Throttle - Pedal Position Signal 1 |
61 | PU | 1670 | Heated Oxygen Sensor High Signal Bank 2 Sensor (2) |
62-64 | -- | -- | Not Used |