GM Service Manual Online
For 1990-2009 cars only

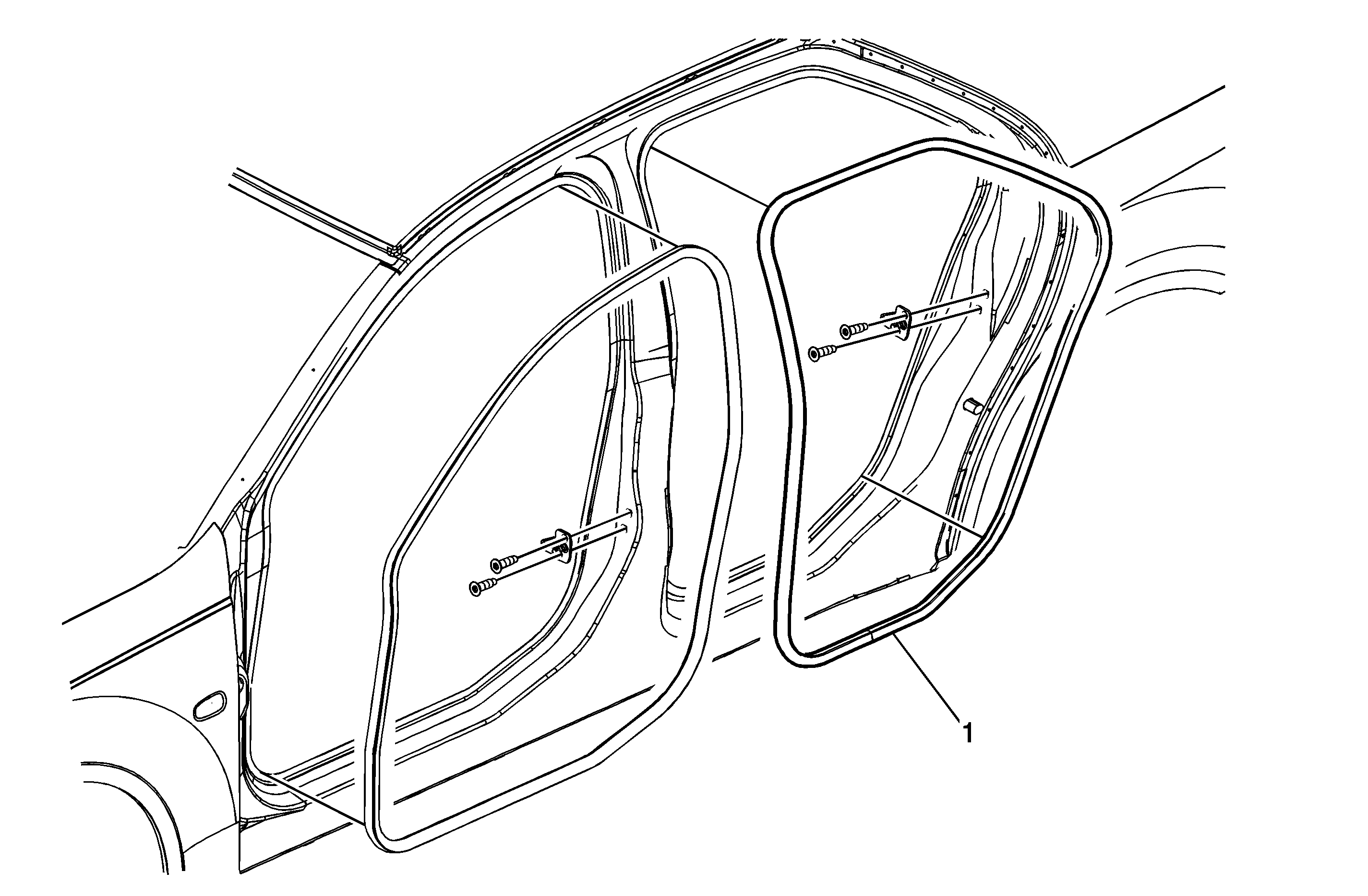
Auxiliary Weatherstrip Replacement Rear


Object Number: 2031035  Size: MF

Callout

Component Name

Front Side Door Front Auxiliary Weatherstrip Assembly Replacement

Preliminary Procedure

Remove the front door carpet retainer and reinstall when replacement is complete. Refer to Front Carpet Retainer Replacement.

1

Front Side Door Auxiliary Weatherstrip Assembly

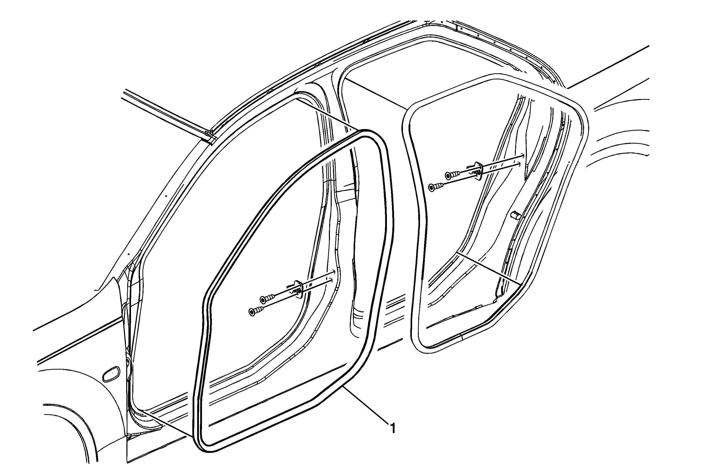
Auxiliary Weatherstrip Replacement Front


Object Number: 2031046  Size: MF

Callout

Component Name

Rear Side Door Auxiliary Weatherstrip Assembly Replacement

Preliminary Procedure

Remove the rear door carpet retainer and reinstall when replacement is complete. Refer to Front Carpet Retainer Replacement

6

Rear Side Door Auxiliary Weatherstrip Assembly