GM Service Manual Online
For 1990-2009 cars only

Removal Procedure

Caution: Refer to Approved Equipment for Collision Repair Caution in the Preface section.

The full body side inner panel comes as a one-piece assembly and can be replaced at the factory seams after removal of the outer panels, the roof panel and the front and rear glass, any of these sectioning procedures can be performed separately or in any combination, depending on the extent of the damage to the vehicle.

Caution: Sectioning should be performed only in the recommended areas. Failure to do so may compromise the structural integrity of the vehicle and cause personal injury if the vehicle is in a collision.

  1. Disable the SIR system. Refer to SIR Disabling and Enabling .
  2. Disconnect the negative battery cable. Refer to Battery Negative Cable Disconnection and Connection .

  3. Object Number: 787798  Size: SH
  4. Remove all related panels and components.
  5. Remove the sealers and anti-corrosion materials from the repair area if necessary. Refer to Anti-Corrosion Treatment and Repair .
  6. Restore as much of the damage as possible.
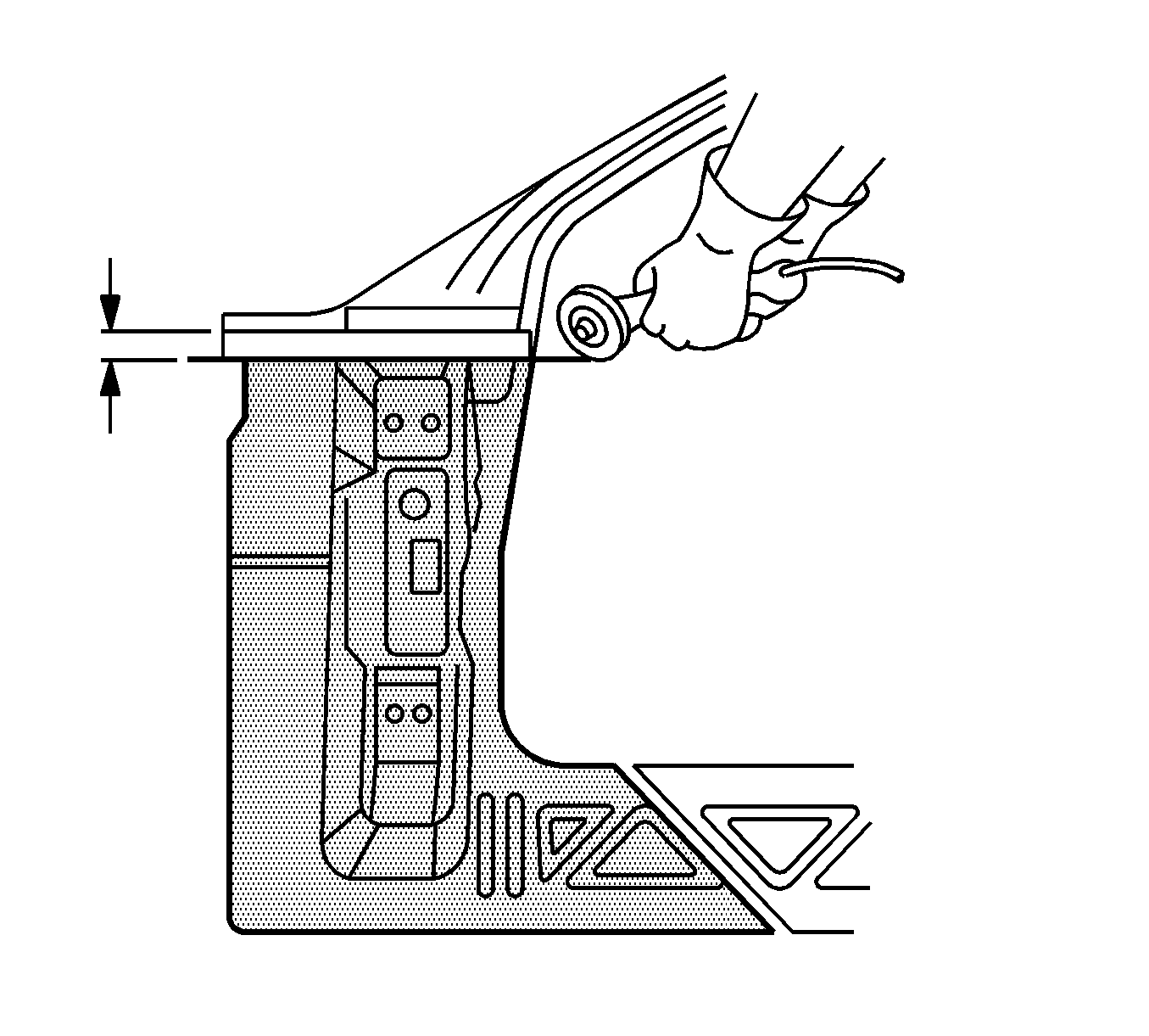
  7. On the windshield pillar, measure down 19 mm (¾ in) from the base of the windshield pillar reinforcement. This is your section location.

  8. Object Number: 787800  Size: SH
  9. On the inner rocker panel, use the second triangular opening as your section location as shown.

  10. Object Number: 787802  Size: SH

    Important: Do not damage any inner reinforcements or panels.

  11. Cut the panel where sectioning is to be performed.

  12. Object Number: 787806  Size: SH

    Important: Note the number and location of the factory welds for installation of the hinge pillar.

  13. Locate and drill out all factory welds. Note the number and location of the welds for installation of the service part.

  14. Object Number: 787807  Size: SH
  15. Remove the damaged inner hinge pillar.

Installation Procedure


    Object Number: 787808  Size: SH
  1. Cut the replacement service part horizontally at the bottom edge of the outer windshield pillar reinforcement. In the door opening area, notch the flange for a flush fit as shown.

  2. Object Number: 787809  Size: SH
  3. Cut the replacement part vertically in the rocker panel area to allow for a full overlap as shown and notch.
  4. Important: If the location of the original plug weld holes can not be determined, or if structural weld-thru adhesive is present, space the plug weld holes every 40 mm (1½ in).

  5. Drill 8 mm (5/16 in) plug weld holes on the service part as necessary in the locations from the original panels.
  6. Prepare all mating surfaces as necessary.
  7. Apply 3M Weld-Thru Coating P/N 05913 or equivalent to all mating surfaces.
  8. Align service part using 3-dimensional measuring equipment. Clamp in place.

  9. Object Number: 787812  Size: SH
  10. Plug weld accordingly.
  11. To create a solid weld with minimum heat distortion, make 25 mm (1 in) stitch welds along the seam with 25 mm (1 in) gaps between them. Repeat and complete the stitch weld.
  12. Clean and prepare all welded surfaces.
  13. Apply the sealers and anti-corrosion materials to the repair area if necessary. Refer to Anti-Corrosion Treatment and Repair .
  14. Paint the repaired area. Refer to Basecoat/Clearcoat Paint Systems .
  15. Install all the related panels and components.
  16. Connect the negative battery cable. Refer to Battery Negative Cable Disconnection and Connection .
  17. Enable the SIR system. Refer to SIR Disabling and Enabling .