GM Service Manual Online
For 1990-2009 cars only
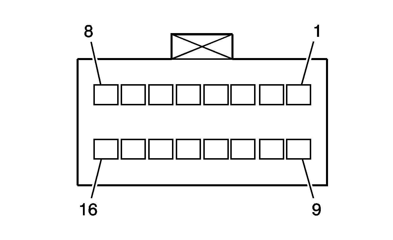
Connector 1: C100 Body Harness to the Engine Harness (LH2)
Connector 2: C101 Engine Harness to Body Harness
Connector 3: C102 I/P to Engine Harness
Connector 4: C104 Engine to Valley Jumper Harness (LH2)
Connector 5: C105 Engine to Starter Harness (LH2)
Connector 6: C106 Engine to POA Jumper Harness (LY7)
Connector 7: C107 Left Repeater Lamp Harness to Forward Lamp
Connector 8: C108 Right Repeater Lamp Harness to Forward Lamp
Connector 9: C109 A/C Jumper Harness (LY7)
Connector 10: C110 Engine Harness to Transmission
Connector 11: C111 Forward Lamp to I/P Harness (K59, TT6)
Connector 12: C112 I/P to Forward Lamp Harness
Connector 13: C113 Engine to Forward Lamp Harness (LH2)
Connector 14: C115 Fuel Injector Harness (LY7)
Connector 15: C139 Engine to Even Bank Coil/Module Harness (LH2)
Connector 16: C140 Engine to Odd Bank Coil/Module Harness (LH2)
Connector 17: C200 Body to I/P Harness Right
Connector 18: C201 Body to I/P Harness Right Center
Connector 19: C202 I/P to Steering Column Harness
Connector 20: C204 Body to I/P Harness Left Center
Connector 21: C205 Body to I/P Harness Left
Connector 22: C212 Body to Console Harness
Connector 23: C213 Rear Console to Rear Seat Harness
Connector 24: C214 HVAC Motor Assembly
Connector 25: C217 Inflatable Restraint Module to Body Harness (Passenger)
Connector 26: C218 Inflatable Restraint Steering Wheel Module to Body Harness (Driver)
Connector 27: C276 Steering Column Harness
Connector 28: C277 Steering Column Harness
Connector 29: C300 Body to Driver Seat Harness
Connector 30: C301 Body to Driver Seat Harness
Connector 31: C302 Body to Rear Seat Harness
Connector 32: C302 Body to Rear Seat Harness (w/o Heated Seats)
Connector 33: C304 Console to I/P Harness
Connector 34: C305 Headliner to Body Harness
Connector 35: C306 Body to Front Passenger Seat
Connector 36: C307 Body to Front Passenger Seat
Connector 37: C308 Headliner to Body
Connector 38: C309 Sunroof Jumper (CF5) to Headliner
Connector 39: C310 Sunroof (CF5) to Body
Connector 40: C312 Driver Lumbar to Driver Seat (AL2 w/o A45)
Connector 41: C313 Passenger Lumbar to Passenger Seat (AL2)
Connector 42: C317 Driver Seat Harness to Body Harness
Connector 43: C318 Passenger Seat Harness to Body Harness
Connector 44: C319 Lumbar Motor Position Sensor - Driver to Driver Seat Harness (A45)
Connector 45: C320 Body to Rear I/P Harness
Connector 46: C321 Left Rear Seat Cushion to Left Rear Seat Harness C1
Connector 47: C321 Left Rear Seat Cushion to Left Rear Seat Harness (w/o Heated Seat)
Connector 48: C322 Right Rear Seat Cushion to Right Rear Seat Harness (w/o Heated Seat)
Connector 49: C322 Right Rear Seat Cushion to Right Rear Seat Harness C1
Connector 50: C323 Left Rear Seat Cushion to Left Rear Seat Harness C2
Connector 51: C324 Right Rear Seat Cushion to Right Rear Seat Harness C2
Connector 52: C325 Rear Seat Harness to Rear Seatback C1
Connector 53: C326 Rear Seat Harness to Rear Seatback C2
Connector 54: C327 Left, Right Rear Seat Harness Connection
Connector 55: C327 Left, Right Rear Seat Harness Connection
Connector 56: C329 Rear Seatback Harness to Left Rear Massage Motor Sensor
Connector 57: C330 Rear Seatback Harness to Massage Module C1
Connector 58: C331 Rear Seatback Harness to Massage Module C2
Connector 59: C400 Body Harness to Rear Fascia
Connector 60: C401 Body Harness to Rear Fascia (UD7)
Connector 61: C420 Fuel Tank Jumper to Body
Connector 62: C500 Body to Left Front Door Harness
Connector 63: C501 Left Front Door to Left Front Door Trim Harness
Connector 64: C600 Body to Right Front Door Harness
Connector 65: C601 Right Front Door to Right Front Door Trim Harness
Connector 66: C700 Body to Left Front Door Harness
Connector 67: C701 Left Rear Door to Left Rear Door Trim Harness
Connector 68: C800 Body to Right Rear Door Harness
Connector 69: C801 Right Front Door to Right Front Door Trim Harness

C100 Body Harness to the Engine Harness (LH2)


Object Number: 1420541  Size: CH

Object Number: 1420650  Size: CH

Connector Part Information

  • OEM: 13539911
  • Service: NS
  • Description: 8-Way F (BK)

Connector Part Information

  • OEM: 15489219
  • Service: NS
  • Description: 8-Way M (BK)

C100 Body Harness to the Engine Harness (LH2)

Pin

Wire

Circuit

Function

Pin

Wire

Circuit

Function

1

L-BU/BK

1206

Left Front Strut Position Sensor Low Reference

1

L-BU/BK

1206

Left Front Strut Position Sensor Low Reference

2

PU/WH

1205

Left Front Strut Position Sensor Voltage Reference

2

PU/WH

1205

Left Front Strut Position Sensor Voltage Reference

3

TN/WH

1207

Left Front Strut Position Sensor Signal

3

TN/WH

1207

Left Front Strut Position Sensor Signal

4

L-BU/BK

1212

Right Front Strut Position Sensor Low Reference

4

L-BU/BK

1212

Right Front Strut Position Sensor Low Reference

5

PU/WH

1211

Right Front Strut Position Sensor Voltage Reference

5

PU/WH

1211

Right Front Strut Position Sensor Voltage Reference

6

TN/WH

1213

Right Front Strut Position Sensor Signal

6

TN/WH

1213

Right Front Strut Position Sensor Signal

7

OG/BK

1448

Left Front Strut Motor Increase Damping

7

OG/BK

1448

Left Front Strut Motor Increase Damping

8

L-GN

1005

Left Front Strut Motor Decrease Damping Control

8

L-GN

1005

Left Front Strut Motor Decrease Damping Control

C101 Engine Harness to Body Harness


Object Number: 655811  Size: CH

Object Number: 655813  Size: CH

Connector Part Information

  • OEM: 15326084
  • Service: 15306348
  • Description: 16-Way F GT 150, 280 Series Sealed 4.0 5.8 (BK)

Connector Part Information

  • OEM: 15326085
  • Service: 15306122
  • Description: 16-Way M GT 150, 280 Series Sealed 4.0 5.8 (BK)

C101 Engine Harness to Body Harness

Pin

Wire

Circuit

Function

Pin

Wire

Circuit

Function

A

BN

884

Wheel Speed Sensor Signal Left Rear

A

BN

884

Wheel Speed Sensor Signal Left Rear

B

OG

885

Wheel Speed Sensor Low Reference Left Rear

B

OG

885

Wheel Speed Sensor Low Reference Left Rear

C

BN

882

Wheel Speed Sensor Signal Right Rear

C

BN

882

Wheel Speed Sensor Signal Right Rear

D

WH

883

Wheel Speed Sensor Low Reference Right Rear

D

WH

883

Wheel Speed Sensor Low Reference Right Rear

E

L-BU

715

Lateral Accelerometer Signal

E

L-BU

715

Lateral Accelerometer Signal

F

D-BU

716

Yaw Rate Sensor Signal (1)

F

D-BU

716

Yaw Rate Sensor Signal (1)

G-H

--

--

Not Used

G-H

--

--

Not Used

J

D-BU

1936

Primary Fuel Level Sensor Signal

J

D-BU

1936

Primary Fuel Level Sensor Signal

K

L-BU

1937

Secondary Fuel Level Sensor Signal

K

L-BU

1937

Secondary Fuel Level Sensor Signal

L

GY

596

Fuel Tank Pressure Sensor 5-Volt Reference (LH2)

L

GY

596

Fuel Tank Pressure Sensor 5-Volt Reference

M

D-GN

890

Fuel Tank Pressure Sensor Signal

M

D-GN

890

Fuel Tank Pressure Sensor Signal

N

BK

452

Fuel Tank Pressure Sensor Low Reference (LH2)

N

BK

562

Fuel Tank Pressure Sensor Low Reference

P

--

--

Not Used

P

--

--

Not Used

R

D-GN/WH

465

Fuel Pump Primary Relay Control

R

D-GN/WH

465

Fuel Pump Primary Relay Control

S

WH

1310

EVAP Canister Vent Solenoid Control

S

WH

1310

EVAP Canister Vent Solenoid Control

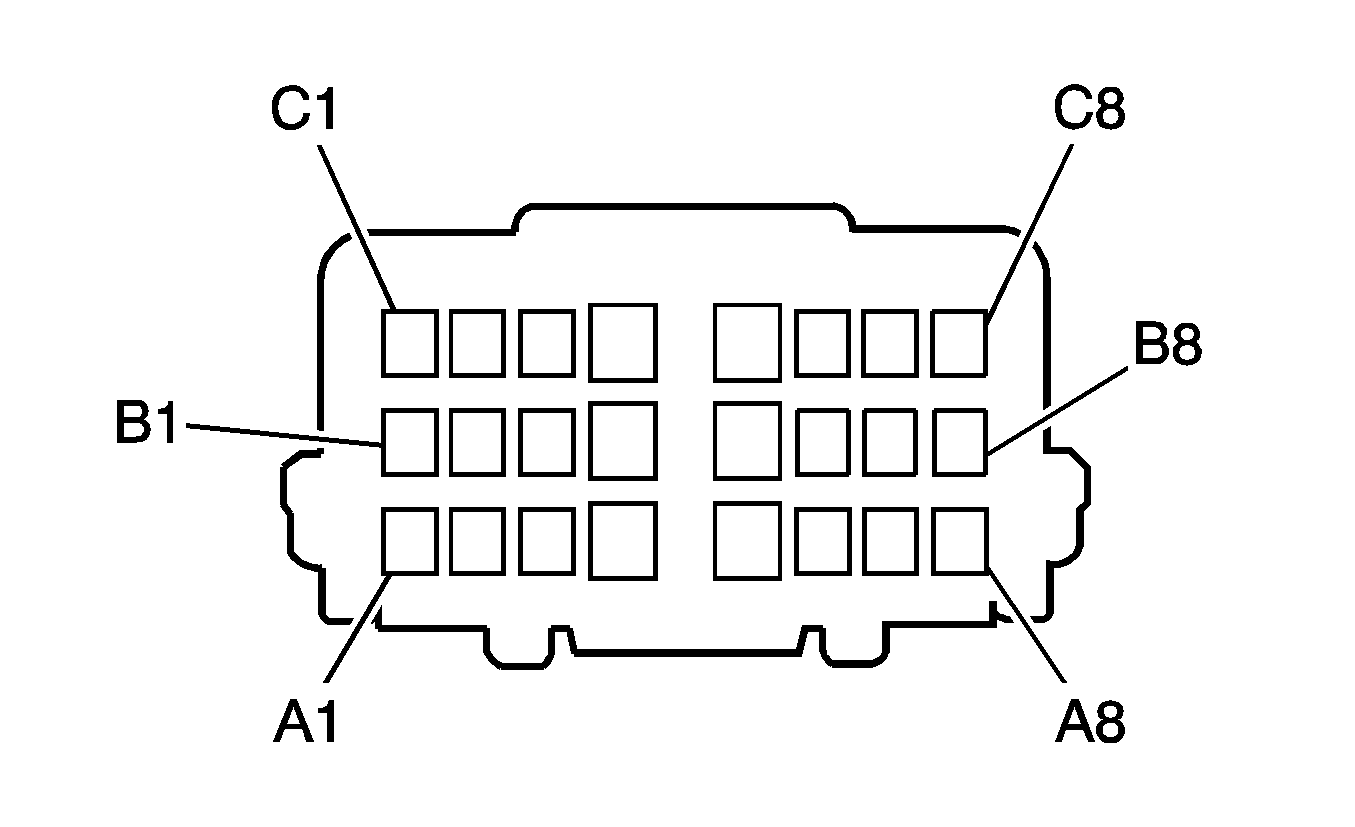
C102 I/P to Engine Harness


Object Number: 2013071  Size: CH

Object Number: 2013076  Size: CH

Connector Part Information

  • OEM: 13485711
  • Service: N/A
  • Description: 24-Way F

Connector Part Information

  • OEM: 13485177
  • Service: N/A
  • Description: 24-Way M

C102 I/P to Engine Harness

Pin

Wire

Circuit

Function

Pin

Wire

Circuit

Function

A1

WH

17

Stop Lamp Switch Signal

A1

WH

17

Stop Lamp Switch Signal

A2

BN/WH

419

Service Engine Indicator Control

A2

BN/WH

419

Service Engine Indicator Control

A3

BN

818

Vehicle Speed Signal

A3

BN

818

Vehicle Speed Signal

A4

--

--

--

A4

--

--

--

A5

PK

2039

Run Ignition 3 Voltage

A5

PK

2039

Run Ignition 3 Voltage

A6

--

--

--

A6

--

--

--

A7

L-GN/BK

1338

Yaw Rate Sensor Signal (2)

A7

L-GN/BK

1338

Yaw Rate Sensor Signal (2)

A8

GY/BK

1337

Yaw Rate Sensor Volt Reference

A8

GY/BK

1337

Yaw Rate Sensor Volt Reference

B1

YE/BK

5728

ECM/TCM Serial Data Wake Up

B1

YE/BK

5728

ECM/TCM Serial Data Wake Up

B2

TN/BK

2500

High Speed GMLAN Serial Data (+) (1) (TT7/TT8/K59)

B2

TN/BK

2500

High Speed GMLAN Serial Data (+) (1) (TT7/TT8/K59)

B3

TN

2501

High Speed GMLAN Serial Data (-) (1) (TT7/TT8/K59)

B3

TN

2501

High Speed GMLAN Serial Data (-) (1) (TT7/TT8/K59)

B4

YE

5727

High Speed GMLAN Serial Data Wake Up

B4

YE

5727

High Speed GMLAN Serial Data Wake Up

B5

PU

5526

Tap Up/Tap Down Switch Signal

B5

PU

5526

Tap Up/Tap Down Switch Signal

B6

L-BU/BK

1206

Left Front Strut Position Sensor Low Reference (w/TT7/TT8 w/o F55)

B6

L-BU/BK

1206

Left Front Strut Position Sensor Low Reference (w/TT7/TT8 w/o F55)

B7

TN/WH

1207

Left Front Strut Position Sensor Signal (w/TT7/TT8 w/o F55)

B7

TN/WH

1207

Left Front Strut Position Sensor Signal (w/TT7/TT8 w/o F55)

B8

PU/WH

1205

Left Front Strut Position Sensor Voltage Reference (w/TT7/TT8 w/o F55)

B8

PU/WH

1205

Left Front Strut Position Sensor Voltage Reference (w/TT7/TT8 w/o F55)

C1

PU

1272

Accelerator Pedal Position Low Reference (2)

C1

PU

1272

Accelerator Pedal Position Low Reference (2)

C2

L-BU

1162

Accelerator Pedal Position Signal (2)

C2

L-BU

1162

Accelerator Pedal Position Signal (2)

C3

TN

1274

Accelerator Pedal Position 5-Volt Reference (2)

C3

TN

1274

Accelerator Pedal Position 5-Volt Reference (2)

C4

L-GN

1763

Steering Wheel Position Signal A

C4

L-GN

1763

Steering Wheel Position Signal A

C5

L-BU

1764

Steering Wheel Position Signal B

C5

L-BU

1764

Steering Wheel Position Signal B

C6

WH/BK

1164

Accelerator Pedal Position 5-Volt Reference (1)

C6

WH/BK

1164

Accelerator Pedal Position 5-Volt Reference (1)

C7

D-BU

1161

Accelerator Pedal Position Signal (1)

C7

D-BU

1161

Accelerator Pedal Position Signal (1)

C8

BN

1271

Accelerator Pedal Position Low Reference (1)

C8

BN

1271

Accelerator Pedal Position Low Reference (1)

C104 Engine to Valley Jumper Harness (LH2)


Object Number: 2013084  Size: CH

Object Number: 2013094  Size: CH

Connector Part Information

  • OEM: 15326863
  • Service: 88986260
  • Description: 16-Way F (BK)

Connector Part Information

  • OEM: 15326854
  • Service: NS
  • Description: 16-Way M GT 150 Series Sealed 4.0 (BK)

C104 Engine to Valley Jumper Harness (LH2)

Pin

Wire

Circuit

Function

Pin

Wire

Circuit

Function

A

GY/BK

6272

Crankshaft Position Sensor Low Reference (1)

A

GY/BK

6272

Crankshaft Position Sensor Low Reference (1)

B

WH/BK

6271

Crankshaft Position Sensor Signal (1)

B

WH/BK

6271

Crankshaft Position Sensor Signal (1)

C

PU/WH

6270

Crankshaft Position Sensor 12-Volt Reference

C

PU/WH

6270

Crankshaft Position Sensor 12-Volt Reference

D

D-BU/WH

6756

Camshaft Phase Reset 1

D

D-BU/WH

6756

Camshaft Phase Reset 1

E

WH/BK

6396

Camshaft Phaser Exhaust Solenoid (1)

E

WH/BK

6396

Camshaft Phaser Exhaust Solenoid (1)

F

PK/BK

6395

Camshaft Phaser Intake Solenoid (1)

F

PK/BK

6395

Camshaft Phaser Intake Solenoid (1)

G

D-BU

496

Knock Sensor Signal (1)

G

D-BU

496

Knock Sensor Signal (1)

H

GY

1716

Knock Sensor Low Reference (1)

H

GY

1716

Knock Sensor Low Reference (1)

J

L-BU/WH

1876

Knock Sensor Signal (2)

J

L-BU/WH

1876

Knock Sensor Signal (2)

K

GY

2303

Knock Sensor Low Reference (2)

K

GY

2303

Knock Sensor Low Reference (2)

L

TN/BK

6397

Camshaft Phaser Intake Solenoid (2)

L

TN/BK

6397

Camshaft Phaser Intake Solenoid (2)

M

GY/BK

6394

Camshaft Phaser Exhaust Solenoid (2)

M

GY/BK

6394

Camshaft Phaser Exhaust Solenoid (2)

N

D-BU

6755

Camshaft Phase Reset 4

N

D-BU

6755

Camshaft Phase Reset 4

P

BN

6753

Camshaft Phase Reset 2

P

BN

6753

Camshaft Phase Reset 2

R

BK/WH

6754

Camshaft Phase Reset 3

R

BK/WH

6754

Camshaft Phase Reset 3

S

--

--

Not Used

S

--

--

Not Used

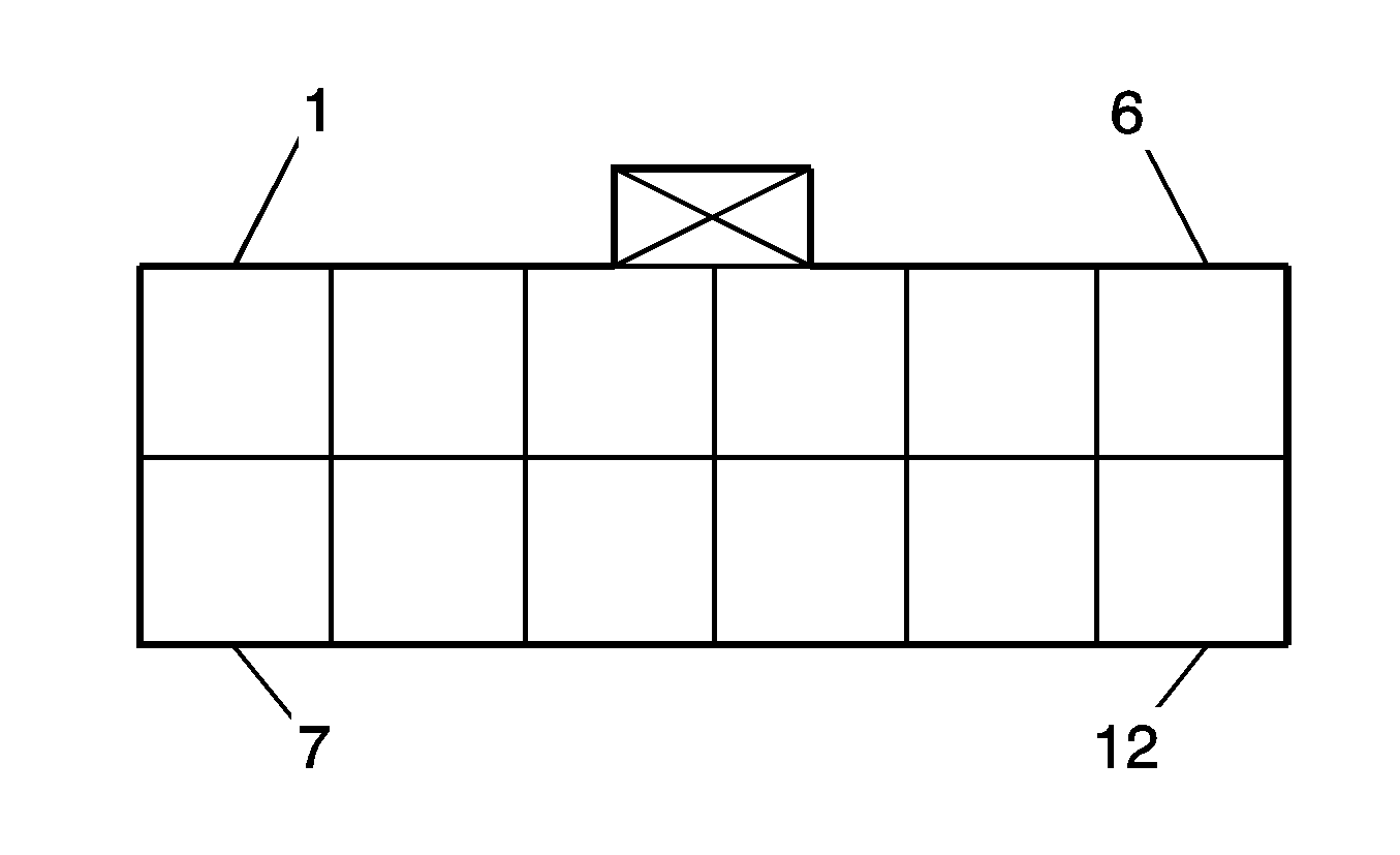
C105 Engine to Starter Harness (LH2)


Object Number: 439508  Size: CH

Object Number: 696937  Size: CH

Connector Part Information

  • OEM: 12065172
  • Service: N/A
  • Description: 1-Way F 280 Series Sealed (BK)

Connector Part Information

  • OEM: 12065171
  • Service: N/A
  • Description: 1-Way M 280 Series Sealed (BK)

C105 Engine to Starter Harness (LH2)

Pin

Wire

Circuit

Function

Pin

Wire

Circuit

Function

A

PU

6

Starter Solenoid Crank Voltage

A

PU

6

Starter Solenoid Crank Voltage

C106 Engine to POA Jumper Harness (LY7)


Object Number: 816167  Size: CH

Object Number: 1372292  Size: CH

Connector Part Information

  • OEM: 12059472
  • Service: 12101830
  • Description: 7-Way F 150/280 Series GT (BK)

Connector Part Information

  • OEM: 12052200
  • Service: 12117321
  • Description: 7-Way M 150/480 Series (BK)

C106 Engine to POA Jumper Harness (LY7)

Pin

Wire

Circuit

Function

Pin

Wire

Circuit

Function

A

PK/BK

5291

Engine Main Relay Fused Control (2)

A

PK/BK

5291

Engine Main Relay Fused Control (2)

B

--

--

Not Used

B

--

--

Not Used

C

D-GN

59

A/C Compressor Clutch Supply Voltage

C

D-GN

59

A/C Compressor Clutch Supply Voltage

D

PK/BK

5292

Engine Main Relay Fused Control (3)

D

PK/BK

5292

Engine Main Relay Fused Control (3)

E

PU

6

Starter Solenoid Crank Voltage

E

PU

6

Starter Solenoid Feed

F

PK/BK

5293

Engine Main Relay Fused Control (4)

F

PK/BK

5293

Engine Main Relay Fused Control (4)

G

BK/WH

751

Signal Ground

G

BK/WH

1451

Signal Ground

C107 Left Repeater Lamp Harness to Forward Lamp


Object Number: 781760  Size: CH

Object Number: 258174  Size: CH

Connector Part Information

  • OEM: 15426924
  • Service: N/A
  • Description: 2-Way F Weather Pack (BK)

Connector Part Information

  • OEM: 15496066
  • Service: N/A
  • Description: 2-Way M Weather Pack (BK)

C107 Left Repeater Lamp Harness to Forward Lamp

Pin

Wire

Circuit

Function

Pin

Wire

Circuit

Function

A

L-BU/WH

1314

Left Front Turn Signal Lamp Supply Voltage

A

L-BU/WH

1314

Left Front Turn Signal Lamp Supply Voltage

B

BK

250

Ground

B

BK

250

Ground

C108 Right Repeater Lamp Harness to Forward Lamp


Object Number: 781760  Size: CH

Object Number: 258174  Size: CH

Connector Part Information

  • OEM: 15426924
  • Service: N/A
  • Description: 2-Way F Weather Pack (BK)

Connector Part Information

  • OEM: 15426924
  • Service: N/A
  • Description: 2-Way M Weather Pack (BK)

C108 Right Repeater Lamp Harness to Forward Lamp

Pin

Wire

Circuit

Function

Pin

Wire

Circuit

Function

A

D-BU/WH

1315

Right Front Turn Signal Lamp Supply Voltage

A

D-BU/WH

1315

Right Front Turn Signal Lamp Supply Voltage

B

BK

250

Ground

B

BK

250

Ground

C109 A/C Jumper Harness (LY7)


Object Number: 888601  Size: CH

Object Number: 897985  Size: CH

Connector Part Information

  • OEM: 12052641
  • Service: N/A
  • Description: 2-Way F Metri-Pack 150 Series (BK)

Connector Part Information

  • OEM: 12162000
  • Service: N/A
  • Description: 2-Way M Metri-Pack 150 Series (BK)

C109 A/C Jumper Harness (LY7)

Pin

Wire

Circuit

Function

Pin

Wire

Circuit

Function

A

D-GN

59

A/C Compressor Clutch Supply Voltage

A

D-GN

59

A/C Compressor Clutch Supply Voltage

B

BK

750

Ground

B

BK

1450

Ground

C110 Engine Harness to Transmission


Object Number: 821224  Size: CH

Object Number: 817690  Size: CH

Connector Part Information

  • OEM: 9432001
  • Service: N/A
  • Description: 20-Way F (BK)

Connector Part Information

  • OEM: 9332001
  • Service: N/A
  • Description: 20-Way M (BK)

C110 Engine Harness to Transmission

Pin

Wire

Circuit

Function

Pin

Wire

Circuit

Function

1

YE

400

OSS High Signal

1

YE

400

OSS High Signal

2

OG/BK

1786

Park/Neutral Signal

2

OG/BK

1786

Park/Neutral Signal

3

PU

401

OSS Low Signal

3

PU

401

OSS Low Signal

4

BK/WH

751

Ground (w/LY7)

4

BK/WH

751

Ground (w/LY7)

5

PU

898

Shift Solenoid Valve 3 High Control

5

PU

898

Shift Solenoid Valve 3 High Control

6

TN

2762

Low Reference

6

TN

2762

Low Reference

7

YE

772

Transmission Range Switch Signal B

7

YE

772

Transmission Range Switch Signal B

8

L-BU/WH

1229

PC Solenoid Valve Low Control

8

L-BU/WH

1229

PC Solenoid Valve Low Control

9

YE/BK

1223

2-3 Shift Solenoid Valve Control

9

YE/BK

1223

2-3 Shift Solenoid Valve Control

10

YE/BK

1227

TFT Sensor Signal

10

YE/BK

1227

TFT Sensor Signal

11

WH

776

Transmission Range Switch Signal P

11

WH

776

Transmission Range Switch Signal P

12

--

--

Not Used

12

--

--

Not Used

13

OG/BK

1228

PC Solenoid Valve High Control

13

OG/BK

1228

PC Solenoid Valve High Control

14

L-GN

1222

1-2 Shift Solenoid Valve Control

14

L-GN

1222

1-2 Shift Solenoid Valve Control

15

D-BU/WH

1231

AT ISS Low Signal

15

D-BU/WH

1231

AT ISS Low Signal

16

TN/WH

771

Transmission Range Switch Signal A

16

TN/WH

771

Transmission Range Switch Signal A

17

OG

1525

Solenoid Supply Voltage

17

OG

1525

Solenoid Supply Voltage

18

OG/BK

1230

AT ISS High Signal

18

OG/BK

1230

AT ISS High Signal

19

GY

773

Transmission Range Switch Signal C

19

GY

773

Transmission Range Switch Signal C

20

BN

418

TCC PWM Solenoid Valve Control

20

BN

418

TCC PWM Solenoid Valve Control

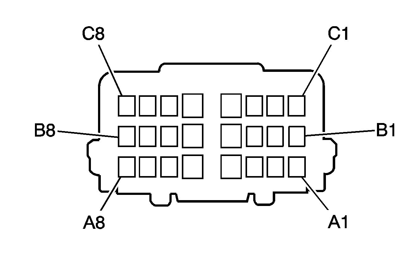
C111 Forward Lamp to I/P Harness (K59, TT6)


Object Number: 2013094  Size: CH

Object Number: 2013084  Size: CH

Connector Part Information

  • OEM: 7283-5553-30
  • Service: NS
  • Description: 6-Way F 3 Series YESC/USCAR Sealed (BK)

Connector Part Information

  • OEM: 7282-5553-30
  • Service: NS
  • Description: 6-Way M 3 Series YESC/USCAR (BK)

C111 Forward Lamp to I/P Harness (K59, TT6)

Pin

Wire

Circuit

Function

Pin

Wire

Circuit

Function

A-D

--

--

Not Used

A-D

--

--

Not Used

E

TN/BK

2500

High Speed GMLAN Serial Data (+) (1)

E

TN/BK

2500

High Speed GMLAN Serial Data (+) (1)

F

TN

2501

High Speed GMLAN Serial Data (-) (1)

F

TN

2501

High Speed GMLAN Serial Data (-) (1)

G

TN/BK

2500

High Speed GMLAN Serial Data (+) (1)

G

TN/BK

2500

High Speed GMLAN Serial Data (+) (1)

H

TN

2501

High Speed GMLAN Serial Data (-) 1

H

TN

2501

High Speed GMLAN Serial Data (-) 1

J-P

--

--

Not Used

J-P

--

--

Not Used

R

YE

5727

High Speed GMLAN Serial Data Wake Up

R

YE

5727

High Speed GMLAN Serial Data Wake Up

S

--

--

Not Used

S

--

--

Not Used

C112 I/P to Forward Lamp Harness


Object Number: 646383  Size: CH

Object Number: 632345  Size: CH

Connector Part Information

  • OEM: 15326863
  • Service: 15306410
  • Description: 16-Way F GT 150 Series Sealed 4.0 (BK)

Connector Part Information

  • OEM: 15326868
  • Service: 15306364
  • Description: 16-Way M 150 Series Sealed (BK)

C112 I/P to Forward Lamp Harness

Pin

Wire

Circuit

Function

Pin

Wire

Circuit

Function

A

L-BU/BK

1206

Left Front Strut Position Sensor Low Reference (w/TT7/TT8 w/o F55)

A

L-BU/BK

1206

Left Front Strut Position Sensor Low Reference (w/TT7/TT8, w/o F55)

B

PU/WH

1205

Left Front Strut Position Sensor Voltage Reference (w/TT7/TT8 w/o F55)

B

PU/WH

1205

Left Front Strut Position Sensor Voltage Reference (w/TT7/TT8, w/o F55)

C

TN/WH

1207

Left Front Strut Position Sensor Signal (w/TT7/TT8 w/o F55)

C

TN/WH

1207

Left Front Strut Position Sensor Signal (w/TT7/TT8, w/o F55)

D

L-GN/BK

1209

Left Rear Strut Position Sensor Low Reference (w/TT7/TT8 w/o F55)

D

L-GN/BK

1209

Left Rear Strut Position Sensor Low Reference (w/T7/TT8, w/o F55)

E

OG/BK

1208

Left Rear Strut Position Sensor Voltage Reference (w/TT7/TT8 w/o F55)

E

OG/BK

1208

Left Rear Strut Position Sensor Voltage Reference (w/TT7/TT8, w/o F55)

F

L-GN/WH

1210

Left Rear Strut Position Sensor Signal (w/TT7/TT8 w/o F55)

F

L-GN/WH

1210

Left Rear Strut Position Sensor Signal (w/TT7/TT8, w/o F55)

G

YE

5727

High Speed GMLAN Serial Data Wake Up (TT7/TT8/ K59)

G

YE

5727

High Speed GMLAN Serial Data Wake Up (TT7/TT8/K59)

H-M

--

--

Not Used

H-M

--

--

Not Used

N

TN/BK

2500

High Speed GMLAN Serial Data (+) 1 (TT7/TT8)

N

TN/BK

2500

High Speed GMLAN Serial Data (+) 1 (TT7/TT8)

P

TN

2501

High Speed GMLAN Serial Data (-) 1 (w/o TT7/TT8)

P

TN

2501

High Speed GMLAN Serial Data (-) 1 (w/o TT7/TT8)

R

TN/BK

2500

High Speed GMLAN Serial Data (+) 1 (TT7/TT8)

R

TN/BK

2500

High Speed GMLAN Serial Data (+) 1 (TT7/TT8)

S

TN

2501

High Speed GMLAN Serial Data (-) 1 (w/o TT7/TT8)

S

TN

2501

High Speed GMLAN Serial Data (-) 1 (w/o TT7/TT8)

C113 Engine to Forward Lamp Harness (LH2)


Object Number: 811182  Size: CH

Object Number: 1283862  Size: CH

Connector Part Information

  • OEM: 10734474
  • Service: NS
  • Description: 2-Way F (D-GY)

Connector Part Information

  • OEM: 15425573
  • Service: NS
  • Description: 2-Way M (D-GY)

C113 Engine to Forward Lamp Harness (LH2)

Pin

Wire

Circuit

Function

Pin

Wire

Circuit.

Function

1

BK

1150

Ground

1

BK

1150

Ground

2

BK

1150

Ground

2

BK

1150

Ground

C115 Fuel Injector Harness (LY7)


Object Number: 1331440  Size: CH

Object Number: 1480280  Size: CH

Connector Part Information

  • OEM: 19632141
  • Service: NS
  • Description: 10-Way F Amp (BK)

Connector Part Information

  • OEM: 19623521
  • Service: NS
  • Description: 10-Way M Amp (BK)

C115 Fuel Injector Harness (LY7)

Pin

Wire

Circuit

Function

Pin

Wire

Circuit

Function

1

PK/BK

5291

Engine Main Relay Fused Control (2)

1

WH

5291

Engine Main Relay Fused Control (2)

2

PK/BK

5292

Engine Main Relay Fused Control (3)

2

WH

5292

Engine Main Relay Fused Control (3)

3

TN

1744

Fuel Injector Control (1)

3

TN

1744

Fuel Injector Control (1)

4

PK/BK

1746

Fuel Injector Control (3)

4

WH

1746

Fuel Injector Control (3)

5

TN/WH

845

Fuel Injector Control (5)

5

TN/WH

845

Fuel Injector Control (5)

6

L-GN/BK

1745

Fuel Injector Control (2)

6

L-GN/BK

1745

Fuel Injector Control (2)

7

L-BU/BK

844

Fuel Injector Control (4)

7

L-BU/BK

844

Fuel Injector Control (4)

8

YE/BK

846

Fuel Injector Control (6)

8

YE/BK

846

Fuel Injector Control (6)

9-10

--

--

Not Used

9-10

--

--

Not Used

C139 Engine to Even Bank Coil/Module Harness (LH2)


Object Number: 1283903  Size: CH

Object Number: 1283901  Size: CH

Connector Part Information

  • OEM: 15317367
  • Service: N/A
  • Description: 7-Way F GT 150 Series (BK)

Connector Part Information

  • OEM: 15326553
  • Service: N/A
  • Description: 7-Way M GT 150 Series (BK)

C139 Engine to Even Bank Coil/Module Harness (LH2)

Pin

Wire

Circuit

Function

Pin

Wire

Circuit

Function

A

PK/BK

5292

Ignition 1 Voltage

A

PK/BK

5292

Ignition 1 Voltage

B

BK/WH

1451

Ground

B

BK/WH

1451

Ground

C

BN/WH

2130

Low Reference

C

BN

2130

Low Reference

D

D-GN/WH

2124

IC 4 Control

D

D-BU

2124

IC 4 Control

E

L-BU/WH

2126

IC 6 Control

E

L-GN

2126

IC 6 Control

F

PU/WH

2128

IC 8 Control

F

RD

2128

IC 8 Control

G

OG/WH

2122

IC 2 Control

G

PU

2122

IC 2 Control

C140 Engine to Odd Bank Coil/Module Harness (LH2)


Object Number: 1283903  Size: CH

Object Number: 1283901  Size: CH

Connector Part Information

  • OEM: 15317367
  • Service: N/A
  • Description: 7-Way F GT 150 Series (BK)

Connector Part Information

  • OEM: 15326553
  • Service: N/A
  • Description: 7-Way M GT 150 Series (BK)

C140 Engine to Odd Bank Coil/Module Harness (LH2)

Pin

Wire

Circuit

Function

Pin

Wire

Circuit

Function

A

PK/BK

5291

Ignition 1 Voltage

A

PK

5291

Ignition 1 Voltage

B

BK/WH

1451

Ground

B

BK

1451

Ground

C

BN

2129

Low Reference

C

BN

2129

Low Reference

D

D-GN

2125

IC 5 Control

D

D-BU

2125

IC 5 Control

E

L-BU

2123

IC 3 Control

E

D-GN

2123

IC 3 Control

F

PU

2121

IC 1 Control

F

RD

2121

IC 1 Control

G

OG

2127

IC 7 Control

G

PU

2127

IC 7 Control

C200 Body to I/P Harness Right


Object Number: 1480294  Size: CH

Object Number: 1480297  Size: CH

Connector Part Information

  • OEM: 15448129
  • Service: 15359287
  • Description: 40-Way F (BK)

Connector Part Information

  • OEM: 15475869
  • Service: 15359284
  • Description: 40-Way M (BK)

C200 Body to I/P Harness Right

Pin

Wire

Circuit

Function

Pin

Wire

Circuit

Function

A1

YE

6817

Backlight Lamps Control

A1

YE

6817

Backlight Lamps Control

A2-A3

--

--

Not Used

A2-A3

--

--

Not Used

A4

BK/WH

451

Ground

A4

BK/WH

451

Ground

A5

BK

450

Ground

A5

BK

450

Ground

A6

YE

1491

Backlight Lamps Control

A6

YE

1491

Backlight Lamps Control

A7

D-BU/WH

149

Courtesy Lamp Supply Voltage

A7

D-BU/WH

149

Courtesy Lamp Supply Voltage

A8

GY

157

Interior Lamp Control

A8

GY

157

Interior Lamp Control

GY

157

Interior Lamp Control

B1

D-GN

6975

Front Passenger Seat Headrest Display Video Signal (+)

B1

D-GN

6975

Front Passenger Seat Headrest Display Video Signal (+)

B2

WH/BK

5335

Front Passenger Seat Headrest Display Video Signal (-)

B2

WH/BK

5335

Front Passenger Seat Headrest Display Video Signal (-)

B3

BARE

6976

Drain Wire

B3

BARE

6976

Drain Wire

B4

D-GN/WH

5845

Front Passenger Seat Headrest Display Video Mode Signal

B4

D-GN/WH

5845

Front Passenger Seat Headrest Display Video Mode Signal

B5

PK/BK

5844

Seat Headrest Display Brightness Adjusting Signal

B5

PK/BK

5844

Seat Headrest Display Brightness Adjusting Signal

B6

PU

5526

Tap Up/Tap Down Switch Signal

B6

PU

5526

Tap Up/Tap Down Switch Signal

B7-B10

--

--

Not Used

B7

--

--

Not Used

B11

BN

818

Vehicle Speed Signal

B11

BN

818

Vehicle Speed Signal

BN

818

Vehicle Speed Signal (w/YQ4/YQ6/YQ7)

B12

OG

300

Run Ignition 3 Voltage

B12

OG

300

Run Ignition 3 Voltage

C1

TN/OG

5045

Left Front Discriminating Sensor Low Reference

C1

TN/OG

5045

Left Front Discriminating Sensor Low Reference

C2

YE

1834

SIR Forward Sensor Signal (1)

C2

YE

1834

SIR Forward Sensor Signal (1)

C3

D-GN

1409

Right Front Discriminating Sensor Signal

C3

D-GN

1409

Right Front Discriminating Sensor Signal

C4

GY

5600

Right Front Discriminating Sensor Low Reference

C4

GY

5600

Right Front Discriminating Sensor Low Reference

C5

TN/BK

2500

High Speed GMLAN Serial Data (+) 1 (UE1, TT7/TT8)

C5

TN/BK

2500

High Speed GMLAN Serial Data (+) 1 (UE1, TT7/TT8)

C6

TN

2501

High Speed GMLAN Serial Data (-) 1 (UE1, TT7/TT8)

C6

TN

2501

High Speed GMLAN Serial Data (-) 1 (UE1, TT7/TT8)

C7

TN/WH

1975

Right Front Speaker (-) (2) (YQ3/YQ4/YQ6/YQ7)

C7

TN/WH

1975

Right Front Speaker (-) (2) (YQ3/YQ4/YQ6/YQ7)

C8

TN

1875

Right Front Speaker (+) (2) (YQ3/YQ4/YQ6/YQ7)

C8

TN

1875

Right Front Speaker (+) (2) (YQ3/YQ4/YQ6/YQ7)

C9

L-GN/BK

1338

Low Reference

C9

L-GN/BK

1338

Low Reference

C10

GY/BK

1337

High Reference

C10

GY/BK

1337

High Reference

C11

TN/BK

2500

High Speed GMLAN Serial Data (+) 1 (K59, UE1, TT7/TT8)

C11

TN/BK

2500

High Speed GMLAN Serial Data (+) 1 (K59, UE1, TT7/TT8)

C12

TN

2501

High Speed GMLAN Serial Data (-) 1 (K59, UE1, TT7/TT8)

C12

TN

2501

High Speed GMLAN Serial Data (-) 1 (K59, UE1, TT7/TT8)

D1

PU

5531

Hood Closed Switch Signal

D1

PU

5531

Hood Closed Switch Signal

D2

YE

5530

Hood Open Switch Signal

D2

YE

5530

Hood Open Switch Signal

D3

YE

32

I/P Lamp Fuse Supply Voltage - 1

D3

YE

32

I/P Lamp Fuse Supply Voltage - 1

YE

32

I/P Lamp Fuse Supply Voltage - 1

D4

BN/WH

309

Right Park Lamp Supply Voltage (w/UE1, TT7/TT8)

D4

BN/WH

309

Right Park Lamp Supply Voltage

D5

--

--

Not Used

D5

--

--

Not Used

D6

PK

1639

Run/Crank Ignition 1 Voltage

D6

PK

1639

Run/Crank Ignition 1 Voltage

D7-D8

--

--

Not Used

D7-D8

--

--

Not Used

C201 Body to I/P Harness Right Center


Object Number: 823264  Size: CH

Object Number: 823289  Size: CH

Connector Part Information

  • OEM: 10864191
  • Service: NS
  • Description: 26-Way F

Connector Part Information

  • OEM: 13536441
  • Service: NS
  • Description: 26-Way M (GY)

C201 Body to I/P Harness Right Center

Pin

Wire

Circuit

Function

Pin

Wire

Circuit

Function

1

RD/WH

2240

Battery Positive Voltage

1

RD/WH

2240

Battery Positive Voltage

2

BK/WH

851

Signal Ground

2

BK/WH

851

Signal Ground

3

L-BU/WH

1314

Left Front Turn Signal Lamp Supply Voltage

3

L-BU/WH

1314

Left Front Turn Signal Lamp Supply Voltage

4

D-BU/WH

1315

Right Front Turn Signal Lamp Supply Voltage

4

D-BU/WH

1315

Right Front Turn Signal Lamp Supply Voltage

5

D-GN/WH

1932

Shift Select Switch Park Signal

5

D-GN/WH

1932

Shift Select Switch Park Signal

6

D-GN

5525

Tap Up/Tap Down Enable Signal

6

D-GN

5525

Tap Up/Tap Down Enable Signal

7

L-GN/YE

6847

Shift Select Switch Park Supply Voltage

7

L-GN/YE

6847

Shift Select Switch Park Supply Voltage

8

PK

3

Run/Crank Ignition 1 Voltage

8

PK

3

Run/Crank Ignition 1 Voltage

9

PU

5234

Passenger Seat Belt Indicator

9

PU

5234

Passenger Seat Belt Indicator

10

BN/WH

1947

Left Front Low Level Audio (-) (YQ2, YQ3/YQ4/YQ6/YQ7)

10

BN/WH

1947

Left Front Low Level Audio (-)

11

BN

511

Left Front Low Level Audio Signal (YQ2, YQ3/YQ4/YQ6/YQ7)

11

BN

511

Left Front Low Level Audio Signal

12

L-BU/WH

5725

Ignition Mode Switch Mode Voltage Backup

12

L-BU/WH

5725

Ignition Mode Switch Mode Voltage Backup

13

L-BU

5726

Ignition Mode Switch Mode Control Backup

13

L-BU

5726

Ignition Mode Switch Mode Control Backup

14

PK

5165

Antenna 14-Volt Switched Supply Voltage

14

PK

5165

Antenna 14-Volt Switched Supply Voltage

15

L-BU

1960

Right Center Speaker (-) (YQ2, YQ3/YQ4/YQ6I/YQ7)

15

L-BU

1960

Front Center Speaker (-)

16

YE

1860

Front Center Speaker (+) (w/YQ2, YQ3/YQ4/YQ6I/YQ7)

16

YE

1860

Front Center Speaker (+)

17

BARE

2012

Right Front Audio Drain Wire

17

BARE

2012

Right Front Audio Drain Wire

18

D-BU

512

Right Front Low Level Audio Signal

18

D-BU

512

Right Front Low Level Audio Signal

19

D-BU/WH

1948

Right Front Low Level Audio (-)

19

D-BU/WH

1948

Right Front Low Level Audio (-)

20-21

--

--

Not Used

20-21

--

--

Not Used

22

OG/BK

5831

Audio Remote Control Signal

22

OG/BK

5831

Audio Remote Control Signal

23

GY

655

Cellular Microphone Signal (TT7/TT8)

23

GY

655

Cellular Microphone Signal (TT7/TT8)

24

BARE

1782

Drain Wire (TT7/TT8)

24

BARE

1782

Drain Wire (TT7/TT8)

25-26

--

--

Not Used

25-26

--

--

Not Used

C202 I/P to Steering Column Harness


Object Number: 1480294  Size: CH

Object Number: 1480297  Size: CH

Connector Part Information

  • OEM: 15448129
  • Service: 15359287
  • Description: 40-Way F (BK)

Connector Part Information

  • OEM: 15359284
  • Service: 15359284
  • Description: 40-Way M (BK)

C202 I/P to Steering Column Harness

Pin

Wire

Circuit

Function

Pin

Wire

Circuit

Function

A1

L-BU

187

Rear Fog Lamp Switch Signal (T79)

A1

L-BU

187

Rear Fog Lamp Switch Signal (T79)

A2

OG

192

Front Fog Lamp Switch Signal

A2

OG

192

Front Fog Lamp Switch Signal

A3

L-BU

283

Driver Power Seat Rear Vertical Motor Down Control

A3

BN

283

Driver Power Seat Rear Vertical Motor Down Control

A4

PK

2111

Steering Column Tilt Motor Up Control

A4

PK

2111

Steering Column Tilt Motor Up Control

A5

TN

782

Memory Seat/Mirror Sensor Low Reference (A45)

A5

TN

782

Memory Seat/Mirror Sensor Low Reference (A45)

A5

TN

782

Memory Seat/Mirror Sensor Low Reference (A45)

A6

BK

350

Ground

A6

BK

350

Ground

A7

BN/WH

301

Park Lamp Switch On Signal

A7

BN/WH

301

Park Lamp Switch On Signal

A8

PU

1783

Twilight Sentinel Delay Signal

A8

PU

1783

Twilight Sentinel Delay Signal

B1

WH

103

Headlamp Switch On Signal

B1

WH

103

Headlamp Switch On Signal

B2

L-BU

1485

Flash-To-Pass Switch Supply Voltage

B2

L-BU/WH

1485

Flash-To-Pass Switch Supply Voltage

B3

BN

1356

Flash-To-Pass Switch Signal

B3

BN

1356

Flash-To-Pass Switch Signal

B4

YE/BK

1418

Left Rear Turn Signal Switch Signal

B4

YE/BK

1418

Left Rear Turn Signal Switch Signal

B5

D-GN/WH

1419

Right Rear Turn Signal Switch Signal

B5

D-GN/WH

1419

Right Rear Turn Signal Switch Signal

B6

YE

43

Accessory Voltage

B6

YE

43

Accessory Voltage

B7

D-BU/WH

1415

Right Front Turn Signal Switch Signal

B7

D-BU/WH

1415

Right Front Turn Signal Switch Signal

B8

L-BU/WH

1414

Left Front Turn Signal Switch Signal

B8

L-BU/WH

1414

Left Front Turn Signal Switch Signal

B9

GY

478

Windshield Wiper Switch Signal (2)

B9

GY

478

Windshield Wiper Switch Signal (2)

GY

478

Windshield Wiper Switch Signal (2)

B10

--

--

Not Used

B10

--

--

Not Used

B11

TN

28

Horn Relay Control

B11

TN

28

Horn Relay Control

B12

WH

1538

Headlamp On With Wipers Signal

B12

WH

1538

Headlamp On With Wipers Signal

C1

PU

1375

Remote Radio Control Panel Accessory Supply Voltage

C1

PK

1375

Remote Radio Control Panel Accessory Supply Voltage

C2

YE

1491

Backlight Lamps Control

C2

YE

1491

Backlight Lamps Control

C3

D-BU

1796

Steering Column Radio Control Signal

C3

D-BU

1796

Steering Column Radio Control Signal

C4

D-BU

477

Windshield Wiper Switch Signal (1)

C4

D-BU

477

Windshield Wiper Switch Signal (1)

C5

GY

1884

Cruise Control Set/Coast/Resume/Accelerate Switch Signal

C5

L-BU/WH

1884

Cruise Control Set/Coast/Resume/Accelerate Switch Signal

C6

PU

92

Windshield Wiper Motor High Speed Control

C6

PU

92

Windshield Wiper Motor High Speed Control

C7

--

--

Not Used

C7

--

--

Not Used

C8

YE

2097

Steering Column Tilt and Telescope Down Switch Signal

C8

YE

2097

Steering Column Tilt and Telescope Down Switch Signal

C9

PK

2094

Steering Column Tilt and Telescope Forward Switch Signal

C9

PK

2094

Steering Column Tilt and Telescope Forward Switch Signal

C10

GY

2096

Steering Column Tilt and Telescope Up Switch Signal

C10

GY

2096

Steering Column Tilt and Telescope Up Switch Signal

C11

PK

1239

Run/Crank Ignition 1 Voltage

C11

PK

1239

Run/Crank Ignition 1 Voltage

C12

OG

2154

Steering Column Tilt Motor Signal (A45)

C12

OG

2154

Steering Column Tilt Motor Signal (A45)

D1

OG

2153

Steering Column Telescope Motor Signal (A45)

D1

OG

2153

Steering Column Telescope Motor Signal (A45)

D2

RD/WH

1640

Battery Positive Voltage

D2

RD

1640

Battery Positive Voltage

D3

D-BU

287

Driver Power Seat Front Vertical Motor Down Control

D3

TN

287

Driver Power Seat Front Vertical Motor Down Control

D4

OG

2098

Steering Column Telescope Motor Forward

D4

OG

2098

Steering Column Telescope Motor Forward

D5

OG

2095

Steering Column Tilt and Telescope Rearward Switch Signal

D5

OG

2095

Steering Column Tilt and Telescope Rearward Switch Signal

D6

--

--

Not Used

D6

--

--

Not Used

D7

GY

788

Memory Mirror Position Sensor 5-Volt Reference (A45)

D7

GY

788

Memory Mirror Position Sensor 5-Volt Reference (A45)

D8

PK

6170

Steering Wheel Accessory Voltage

D8

PK

6170

Steering Wheel Accessory Voltage

C204 Body to I/P Harness Left Center


Object Number: 823264  Size: CH

Object Number: 823289  Size: CH

Connector Part Information

  • OEM: 10864191
  • Service: NS
  • Description: 26-Way F

Connector Part Information

  • OEM: 13536441
  • Service: NS
  • Description: 26-Way M (GY)

C204 Body to I/P Harness Left Center

Pin

Wire

Circuit

Function

Pin

Wire

Circuit

Function

1

--

--

Not Used

1

--

--

Not Used

2

BARE

814

Drain Wire (YQ7)

2

BARE

814

Drain Wire (YQ7)

3

BARE

814

Drain Wire

3

BARE

814

Drain Wire

4

D-BU/WH

5338

Right TV Audio Signal (U2K, YQ6/YQ7)

4

D-BU/WH

5338

Right TV Audio Signal (U2K, YQ6/YQ7)

5

GY/BK

5339

Right TV Audio Low Reference (U2K, YQ6/YQ7)

5

GY/BK

5339

Right TV Audio Low Reference (U2K, YQ6/YQ7)

6

L-GN/WH

5337

Left TV Audio Signal (U2K, YQ6/YQ7)

6

L-GN/WH

5337

Left TV Audio Signal (U2K, YQ6/YQ7)

7

D-BU/BK

5345

Auxiliary Audio Screen (1) (U2K, YQ6/YQ7)

7

D-BU/BK

5345

Auxiliary Audio Screen (1) (U2K, YQ6/YQ7)

8

--

--

Not Used

8

--

--

Not Used

9

GY

5836

Amplifier Audio Prompt Signal (-) (w/YQ4/YQ6/YQ7)

9

GY

5836

Amplifier Audio Prompt Signal (-) (w/YQ4/YQ6/YQ7)

10

PU

5837

Amplifier Audio Prompt Signal (+) (w/YQ4/YQ6/YQ7)

10

PU

5837

Amplifier Audio Prompt Signal (+) (w/YQ4/YQ6/YQ7)

11

BARE

5838

Amplifier Audio Prompt Drain Wire (YQ3/YQ4/YQ6/YQ7)

11

BARE

5838

Amplifier Audio Prompt Drain Wire (YQ3/YQ4/YQ6/YQ7)

12

BARE

6759

Drain Wire

12

BARE

6759

Drain Wire

13

YE

599

Left Rear Low Level Audio Signal (YQ3/YQ4/YQ6/YQ7)

13

YE

599

Left Rear Low Level Audio Signal (YQ3/YQ4/YQ6/YQ7)

14

BN

1999

Left Rear Low Level Audio (-) (YQ3/YQ4/YQ6/YQ7)

14

BN

1999

Left Rear Low Level Audio (-) (YQ3/YQ4/YQ6/YQ7)

15

GY

546

Right Rear Low Level Audio Signal (YQ3/YQ4/YQ6/YQ7)

15

GY

546

Right Rear Low Level Audio Signal (YQ3/YQ4/YQ6/YQ7)

16

L-GN

1946

Right Rear Low Level Audio (-) (YQ3/YQ4/YQ6/YQ7)

16

L-GN

1946

Right Rear Low Level Audio (-) (YQ3/YQ4/YQ6/YQ7)

17

D-BU

6760

Center Channel Low Level Audio Signal (YQ3/YQ4/YQ6/YQ7)

17

D-BU

6760

Center Channel Low Level Audio Signal (YQ3YQ4/YQ6/YQ7)

18

OG

6761

Center Channel (-) Low Level Audio Signal (YQ3/YQ4/YQ6/YQ7)

18

OG

6761

Center Channel (-) Low Level Audio Signal (YQ3/YQ4/YQ6/YQ7)

19

WH

6765

Subwoofer Low Level Audio Signal (YQ3/YQ4/YQ6/YQ7) (+)

19

WH

6765

Subwoofer Low Level Audio Signal (YQ3/YQ4/YQ6/YQ7)

20

OG/BK

6162

Subwoofer Low Level Audio Signal (-)

20

OG/BK

6162

Subwoofer Low Level Audio Signal (-)

21

RD

2057

Auxiliary Video Signal (Low)

21

RD

2057

Auxiliary Video Signal (Low)

22

PU

2056

Auxiliary Video Signal (High)

22

PU

2056

Auxiliary Video Signal (High)

23

YE

2059

Left Auxiliary Audio Signal

23

YE

2059

Left Auxiliary Audio Signal

24

WH

2058

Right Auxiliary Audio Signal

24

WH

2058

Right Auxiliary Audio Signal

25

BARE

814

Drain Wire

25

BARE

814

Drain Wire

26

BARE

2099

Left Rear Audio Drain Wire (YQ3/YQ4/YQ6/YQ7)

26

BARE

2099

Left Rear Audio Drain Wire (YQ3/YQ4/YQ6/YQ7)

C205 Body to I/P Harness Left


Object Number: 1480294  Size: CH

Object Number: 1480297  Size: CH

Connector Part Information

  • OEM: 15448129
  • Service: 15359287
  • Description: 40-Way F (BK)

Connector Part Information

  • OEM: 15475869
  • Service: 15359284
  • Description: 40-Way M (BK)

C205 Body to I/P Harness Left

Pin

Wire

Circuit

Function

Pin

Wire

Circuit

Function

A1

YE

6817

Backlight Lamps Control

A1

YE

6817

Backlight Lamps Control

A2

--

--

Not Used

A2

--

--

Not Used

A3

D-BU

287

Driver Power Seat Front Vertical Motor Down Control

A3

D-BU

287

Driver Power Seat Front Vertical Motor Down Control

A4

OG

2098

Steering Column Telescope Motor Forward

A4

OG

2098

Steering Column Telescope Motor Forward

A5

PK

2111

Steering Column Tilt Motor Up Control

A5

PK

2111

Steering Column Tilt Motor Up Control

A6

L-BU

283

Driver Power Seat Rear Vertical Motor Down Control

A6

L-BU

283

Driver Power Seat Rear Vertical Motor Down Control

A7

--

--

Not Used

A7

--

--

Not Used

A8

YE

6817

Backlight Lamps Control

A8

YE

6817

Backlight Lamps Control

B1

BARE

1705

Drain Wire

B1

BARE

1705

Drain Wire

B2

GY

5231

Video RGB Low Reference

B2

GY

5231

Video RGB Low Reference

B3

WH

17

Stop Lamp Switch Signal

B3

WH

17

Stop Lamp Switch Signal

WH

17

Stop Lamp Switch Signal

WH

17

Stop Lamp Switch Signal

B4

PU

1472

Left Front Park Lamp Signal

B4

PU

1472

Left Front Park Lamp Signal

B5

PU

709

Left Park Lamp Supply Voltage (w/UE1, TT7/TT8)

B5

PU

709

Left Park Lamp Supply Voltage (w/UE1, TT7/TT8)

B6

YE/BK

1418

Left Rear Turn Signal Switch Signal

B6

YE/BK

1418

Left Rear Turn Signal Switch Signal

B7

D-GN/WH

1419

Right Rear Turn Signal Switch Signal

B7

D-GN/WH

1419

Right Rear Turn Signal Switch Signal

B8

BN/WH

1473

Right Front Park Lamp Signal

B8

BN/WH

1473

Right Front Park Lamp Signal

B9

TN

782

Memory Seat/Mirror Sensor Low Reference (A45)

B9

TN

782

Memory Seat/Mirror Sensor Low Reference (A45)

B10

GY

788

Memory Mirror Position Sensor 5-Volt Reference (A45)

B10

GY

788

Memory Mirror Position Sensor 5-Volt Reference (A45)

B11

OG

2154

Steering Column Tilt Motor Signal (A45)

B11

OG

2154

Steering Column Tilt Motor Signal (A45)

B12

OG

2153

Steering Column Telescope Motor Signal (A45)

B12

OG

2153

Steering Column Telescope Motor Signal (A45)

C1

L-GN

7396

Driver Seat Headrest Display Video Signal (+)

C1

L-GN

7396

Driver Seat Headrest Display Video Signal (+)

C2

WH

7394

Driver Seat Headrest Display Video Signal (-)

C2

WH

394

Driver Seat Headrest Display Video Signal (-)

C3

BARE

2099

Drain Wire

C3

BARE

2099

Drain Wire

C4

D-GN/WH

7395

Driver Seat Headrest Display Video Mode Signal

C4

D-GN/WH

7395

Driver Seat Headrest Display Video Mode Signal

C5

PK

6170

Accessory Supply Voltage

C5

PK

6170

Accessory Supply Voltage

C6

TN

6171

Signal Input

C6

TN

6171

Signal Input

C7

TN/WH

1974

Left Front Speaker (-) (2) (YQ3/YQ4/YQ6/YQ7)

C7

TN/WH

1974

Left Front Speaker (-) (2) (YQ3/YQ4/YQ6/YQ7)

C8

L-BU

1874

Left Front Speaker (+) (2) (YQ3/YQ4/YQ6/YQ7)

C8

L-BU

1874

Left Front Speaker (+) (2) (YQ3/YQ4/YQ6/YQ7)

C9

D-GN

5060

Low Speed GMLAN Serial Data

C9

D-GN

5060

Low Speed GMLAN Serial Data

C10

L-GN/BK

1209

Left Rear Strut Position Sensor Low Reference (w/TT7/TT8 w/o F55)

C10

L-GN/BK

1209

Left Rear Strut Position Sensor Low Reference (w/TT7/TT8 w/o F55)

C11

OG/BK

1208

Left Rear Strut Position Sensor Voltage Reference (w/TT7/TT8 w/o F55)

C11

OG/BK

1208

Left Rear Strut Position Sensor Voltage Reference (w/TT7/TT8 w/o F55)

C12

L-GN/WH

1210

Left Rear Strut Position Sensor Signal (w/TT7/TT8 w/o F55)

C12

L-GN/WH

1210

Left Rear Strut Position Sensor Signal (w/TT7/TT8 w/o F55)

D1

RD/WH

3640

Battery Positive Voltage

D1

RD/WH

3640

Battery Positive Voltage

D2

BK/WH

351

Ground

D2

BK/WH

351

Ground

D3

PK

1239

Run/Crank Ignition 1 Voltage

D3

PK

1239

Run/Crank Ignition 1 Voltage

D4

BK

350

Ground

D4

BK

350

Ground

BK

350

Ground

D5

RD/WH

2040

Battery Positive Voltage

D5

RD/WH

2040

Battery Positive Voltage

D6

RD/WH

1440

Battery Positive Voltage

D6

RD/WH

1440

Battery Positive Voltage

D7

PK

3

Run/Crank Ignition 1 Voltage

D7

PK

3

Run/Crank Ignition 1 Voltage

D8

YE

5727

High Speed GMLAN Serial Data Wake Up (F55)

D8

YE

5727

High Speed GMLAN Serial Data Wake Up (F55)

C212 Body to Console Harness


Object Number: 2013102  Size: CH

Object Number: 2013104  Size: CH

Connector Part Information

  • OEM: 13507762
  • Service: NS
  • Description: 12-Way F

Connector Part Information

  • OEM: 13507705
  • Service: NS
  • Description: 12-Way M

C212 Body to Console Harness

Pin

Wire

Circuit

Function

Pin

Wire

Circuit

Function

1

OG

5756

Front Center Speaker (+) (w/YQ2, YQ3/YQ4/YQ6/YQ7)

1

OG

5756

Front Center Speaker (+) (w/YQ2, YQ3/YQ4/YQ6/YQ7)

2

PU/WH

5715

Keyless Entry Active Antenna Supply Voltage

2

PU/WH

5715

Keyless Entry Active Antenna Supply Voltage

3

YE

18

Left Rear Stop/Turn Lamp Supply Voltage

3

YE

18

Left Rear Stop/Turn Lamp Supply Voltage

4

OG/BK

5718

Keyless Entry Active Antenna Low Reference

4

OG/BK

5718

Keyless Entry Active Antenna Low Reference

5

GY

5717

Keyless Entry Active Antenna Data Signal

5

GY

5717

Keyless Entry Active Antenna Data Signal

6

L-BU

5716

Keyless Entry Active Antenna Clock Signal

6

L-BU

5716

Keyless Entry Active Antenna Clock Signal

7

OG/BK

5766

Front Center Speaker (-) (YQ2, YQ3/YQ4/YQ6/YQ7)

7

OG/BK

5766

Front Center Speaker (-) (YQ2, YQ3/YQ4/YQ6/YQ7)

8

--

--

Not Used

8

--

--

Not Used

9

TN

219

Keyless Entry Antenna Low Reference (1)

9

TN

219

Keyless Entry Antenna Low Reference (1)

10

BK

450

Ground

10

BK

450

Ground

11

PU

218

Keyless Entry Antenna Signal (1)

11

PU

218

Keyless Entry Antenna Signal (1)

12

RD/WH

2240

Battery Positive Voltage

12

RD/WH

2240

Battery Positive Voltage

C213 Rear Console to Rear Seat Harness


Object Number: 2013116  Size: CH

Object Number: 2013122  Size: CH

Connector Part Information

  • OEM: 13534928
  • Service: NS
  • Description: 20-Way F (GY)

Connector Part Information

  • OEM: 7282-5683-60
  • Service: NS
  • Description: 20-Way M 1.5 Series (GN)

C213 Rear Console to Rear Seat Harness

Pin

Wire

Circuit

Function

Pin

Wire

Circuit

Function

1

BN

1634

Right Rear A/C Seat Switch Signal

1

BN

1634

Right Rear A/C Seat Switch Signal

2

YE

9174

Left Rear A/C Seat Switch Signal

2

YE

9174

Left Rear A/C Seat Switch Signal

3

TN

9170

Rear A/C Seat Switch Signal

3

TN

9170

Rear A/C Seat Switch Signal

4

L-BU

9330

Left Rear A/C Seat High Indicator Control

4

L-BU

9330

Left Rear A/C Seat High Indicator Control

5

TN

9170

Rear A/C Seat Switch Signal

5

TN

9170

Rear A/C Seat Switch Signal

6

YE

9174

Left Rear A/C Seat Switch Signal

6

YE

9174

Left Rear A/C Seat Switch Signal

7

BN

1634

Right Rear A/C Seat Switch Signal

7

BN

1634

Right Rear A/C Seat Switch Signal

8

GY

9177

Left Rear A/C Seat Medium Indicator Control

8

GY

9177

Left Rear A/C Seat Medium Indicator Control

9

TN/WH

1635

Right Rear A/C Seat High Indicator Control

9

TN/WH

1635

Right Rear A/C Seat High Indicator Control

10

D-BU/WH

6586

Right Rear A/C Seat Medium Indicator Control

10

D-BU/WH

6586

Right Rear A/C Seat Medium Indicator Control

11

PK

1636

Right Rear A/C Seat Low Indicator Control

11

PK

1636

Right Rear A/C Seat Low Indicator Control

12

L-GN/BK

9337

Rear A/C Seat Indicator Control

12

L-GN/BK

9337

Rear A/C Seat Indicator Control

13

L-GN/BK

9337

Rear A/C Seat Indicator Control

13

L-GN/BK

9337

Rear A/C Seat Indicator Control

14

PK

1636

Right Rear A/C Seat Low Indicator Control

14

PK

1636

Right Rear A/C Seat Low Indicator Control

15

D-BU/WH

6586

Right Rear A/C Seat Medium Indicator Control

15

D-BU/WH

6586

Right Rear A/C Seat Medium Indicator Control

16

TN/WH

1635

Right Rear A/C Seat High Indicator Control

16

TN/WH

1635

Right Rear A/C Seat High Indicator Control

17

D-GN/WH

9176

Left Rear A/C Seat Low Indicator Control

17

D-GN/WH

9176

Right Rear A/C Seat Low Indicator Control

18

L-BU

9330

Left Rear A/C Seat High Indicator Control

18

L-BU

9330

Left Rear A/C Seat High Indicator Control

19

GY

9177

Left Rear A/C Seat Medium Indicator Control

19

GY

9177

Left Rear A/C Seat Medium Indicator Control

20

D-GN/WH

9176

Left Rear A/C Seat Low Indicator Control

20

D-GN/WH

9176

Left Rear A/C Seat Low Indicator Control

C214 HVAC Motor Assembly


Object Number: 888604  Size: CH

Object Number: 823294  Size: CH

Connector Part Information

  • OEM: 10847013
  • Service: NS
  • Description: 16-Way F (GN)

Connector Part Information

  • OEM: 7282-5683-60
  • Service: NS
  • Description: 16-Way M YESC 1.5 (GY)

C214 HVAC Motor Assembly

Pin

Wire

Circuit No

Function

Pin

Wire

Circuit

Function

1

GY/BK

2778

Passenger Air Temperature Motor Control

1

GY/BK

2778

Passenger Air Temperature Motor Control

2

WH/BK

1236

Passenger Air Temperature Door Control

2

WH/BK

1236

Passenger Air Temperature Door Control

3

D-BU

1646

Passenger Air Temperature Door Position Signal

3

D-BU

1646

Passenger Air Temperature Door Position Signal

4

YE

1318

Lower Mode Door Control

4

YE/GN

1318

Lower Mode Door Control

5

TN

2273

Mode Door Control

5

TN

2273

Mode Door Control

6

YE/BK

1814

Lower Mode Door Position Signal

6

YE/BK

1814

Lower Mode Door Position Signal

7

D-GN

5518

Passenger Compartment Rear Air Temperature Sensor Signal

7

D-GN

5518

Passenger Compartment Rear Air Temperature Sensor Signal

8

L-BU

5517

Passenger Compartment Rear Air Temperature Sensor Low Reference

8

L-BU

5517

Passenger Compartment Rear Air Temperature Sensor Low Reference

9

BN

5516

Passenger Compartment Rear Air Temperature Motor Control

9

BN

5516

Passenger Compartment Rear Air Temperature Motor Control

10

GY

705

5-Volt Reference

10

GY

705

5-Volt Reference

11

YE

1791

Air Temperature Door Control Low Reference

11

TN/RD

1791

Air Temperature Door Control Low Reference

12

L-BU

733

Air Temperature Door Position Signal

12

L-BU

733

Air Temperature Door Position Signal

13

D-BU

1199

Air Temperature Door Control

13

D-BU

1199

Air Temperature Door Control

14

YE

61

Outside Ambient Temperature Sensor Low Reference

14

YE

61

Outside Ambient Temperature Sensor Low Reference

15

GY

731

A/C Refrigerant Low Temperature Sensor Signal

15

GY

731

A/C Refrigerant Low Temperature Sensor Signal

16

--

--

Not Used

16

--

--

Not Used

C217 Inflatable Restraint Module to Body Harness (Passenger)


Object Number: 684936  Size: CH

Object Number: 684931  Size: CH

Connector Part Information

  • OEM: 15336478
  • Service: N/A
  • Description: 4-Way F Metri-Pack 280 Series (YE)

Connector Part Information

  • OEM: 15336476
  • Service: N/A
  • Description: 4-Way M Metri-Pack 280 Series (YE)

C217 Inflatable Restraint Module to Body Harness (Passenger)

Pin

Wire

Circuit

Function

Pin

Wire

Circuit

Function

A1

YE

1403

Passenger I/P Module High Control

A1

WH/BK

1403

Passenger I/P Module High Control

A2

OG

1404

Passenger I/P Module Low Control

A2

D-GN/WH

1404

Passenger I/P Module Low Control

B1

GY

3027

Passenger I/P Module Stage 2 High Control

B1

GY

3027

Passenger I/P Module Stage 2 High Control

B2

PU

3026

Passenger I/P Module Stage 2 Low Control

B2

PU

3026

Passenger I/P Module Stage 2 Low Control

C218 Inflatable Restraint Steering Wheel Module to Body Harness (Driver)


Object Number: 684936  Size: CH

Object Number: 684931  Size: CH

Connector Part Information

  • OEM: 15336478
  • Service: N/A
  • Description: 4-Way F Metri-Pack 280 Series (YE)

Connector Part Information

  • OEM: 15336476
  • Service: N/A
  • Description: 4-Way M Metri-Pack 280 Series (YE)

C218 Inflatable Restraint Steering Wheel Module to Body Harness (Driver)

Pin

Wire

Circuit

Function

Pin

Wire

Circuit

Function

A1

TN

3021

Steering Wheel Module Stage 1 High Control

A1

TN

3021

Steering Wheel Module Stage 1 High Control

A2

BN

3020

Steering Wheel Module Stage 1 Low Control

A2

BN

3020

Steering Wheel Module Stage 1 Low Control

B1

WH

3023

Steering Wheel Module Stage 2 High Control

B1

WH

3023

Steering Wheel Module Stage 2 High Control

B2

PK

3022

Steering Wheel Module Stage 2 Low Control

B2

PK

3022

Steering Wheel Module Stage 2 Low Control

C276 Steering Column Harness


Object Number: 62464  Size: CH

Object Number: 808703  Size: CH

Connector Part Information

  • OEM: 12064769
  • Service: NS
  • Description: 10-Way F Metri-Pack 150 Series (NA)

Connector Part Information

  • OEM: 12064770
  • Service: NS
  • Description: 10-Way M Metri-Pack 150 Series (NA)

C276 Steering Column Harness

Pin

Wire

Circuit

Function

Pin

Wire

Circuit

Function

A

TN

28

Horn Relay Control

A

TN

28

Horn Relay Control

B

BK

350

Ground

B

BK

350

Ground

C

D-BU

--

Internal Wiring

C

--

--

Not Used

D

WH

1239

Run/Crank Ignition 1 Voltage

D

WH

1239

Run/Crank Ignition 1 Voltage

E

PU

350

Ground

E

BK

350

Ground

F

OG

1491

Backlight Lamps Control

F

YE

1491

Backlight Lamps Control

G

L-GN

1796

ACC Gap Adjustment/Radio Control Signal

G

D-BU

1796

ACC Gap Adjustment/Radio Control Signal

H

PK

1375

Remote Radio Control Head Accessory Voltage Supply Voltage

H

PK

1375

Remote Radio Control Head Accessory Voltage Supply Voltage

J

YE

--

Internal Wiring

J-K

--

--

Not Used

K

L-BU

--

Internal Wiring

C277 Steering Column Harness


Object Number: 62464  Size: CH

Object Number: 808703  Size: CH

Connector Part Information

  • OEM: 12064769
  • Service: NS
  • Description: 10-Way F Metri-Pack 150 Series (NA)

Connector Part Information

  • OEM: 12064770
  • Service: NS
  • Description: 10-Way M Metri-Pack 150 Series (NA)

C277 Steering Column Harness

Pin

Wire

Circuit

Function

Pin

Wire

Circuit

Function

A

PK

28

Horn Relay Control

A

--

--

Not Used

B

PU

350

Ground

B

D-GN/WH

350

Ground

C

--

--

Not Used

C

GY

--

Internal Wire

D

BN

1239

Run/Start Ignition 1 Voltage

D

BN

1239

Run/Start Ignition 1 Voltage

E

BK

350

Ground

E

PU

350

Ground

F

YE

1491

Backlight Control

F

PU/WH

1491

Backlight Control

G

D-BU

1796

ACC DIstance Adjustment/Radio Control Signal

G

L-GN

1796

ACC Distance Adjustment/Radio Control Signal

H

BK

1375

Remote Radio Control Panel Accessory Supply Voltage

H

BK

1375

Remote Radio Control Panel Accessory Supply Voltage

J

TN

6170

Voltage Reference Signal

J

GY

6170

Voltage Reference Signal

K

GY

6171

Signal Input

K

BK

6171

Signal Input

C300 Body to Driver Seat Harness


Object Number: 823264  Size: CH

Object Number: 823289  Size: CH

Connector Part Information

  • OEM: 10864191
  • Service: NS
  • Description: 26-Way F (BK)

Connector Part Information

  • OEM: 7282-6376-30
  • Service: NS
  • Description: 26-Way M Hybrid (GY)

C300 Body to Driver Seat Harness

Pin

Wire

Circuit

Function

Pin

Wire

Circuit

Function

1

RD/WH

3740

Battery Positive Voltage

1

RD/WH

3740

Battery Positive Voltage

2

RD/WH

2840

Battery Positive Voltage

2

RD/WH

2840

Battery Positive Voltage

3

OG

5919

Driver Seat Fan Speed Control

3

OG

5919

Driver Seat Fan Speed Control

4-5

--

--

Not Used

4-5

--

--

Not Used

6

BK/WH

551

Signal Ground

6

BK/WH

551

Signal Ground

7

--

--

Not Used

7

--

--

Not Used

8

BK

550

Ground

8

BK

550

Ground

9

TN

782

Memory Seat/Mirror Sensor Low Reference (A45)

9

TN

782

Memory Seat/Mirror Sensor Low Reference (A45)

10

GY

788

Memory Mirror Position Sensor 5-Volt Reference (A45)

10

GY

788

Memory Mirror Position Sensor 5-Volt Reference (A45)

11

OG

2154

Steering Column Tilt Motor Signal (A45)

11

OG

2154

Steering Column Tilt Motor Signal (A45)

12

OG

2153

Steering Column Telescope Motor Signal (A45)

12

OG

2153

Steering Column Telescope Motor Signal (A45)

13

PU

5611

Passenger Set Belt Tension Sensor Signal

13

PU

5611

Passenger Set Belt Tension Sensor Signal

14

TN/WH

238

Driver Seat Belt Switch Signal

14

TN/WH

238

Driver Seat Belt Switch Signal

15

PK

5017

Driver Seat Belt Switch Low Reference

15

PK

5017

Driver Seat Belt Switch Low Reference

16

BK/WH

551

Signal Ground

16

BK/WH

551

Signal Ground

17

D-GN

5757

Driver Seat Left Speaker (+)

17

D-GN

5757

Driver Seat Left Speaker (+)

18

D-GN/WH

5767

Driver Seat Left Speaker (-)

18

D-GN/WH

5767

Driver Seat Left Speaker (-)

19

GY

5758

Driver Seat Right Speaker (+)

19

GY

5758

Driver Seat Right Speaker (+)

20

GY/BK

5768

Driver Seat Right Speaker (-)

20

GY/BK

5768

Driver Seat Right Speaker (-)

21

D-GN

5060

Low Speed GMLAN Serial Data

21

D-GN

5060

Low Speed GMLAN Serial Data

22

PK

2077

Driver Heated Seat Element Supply Voltage (KA1/KB6)

22

PK

2077

Driver Heated Seat Element Supply Voltage (KA1/KB6)

23

GY

791

PWM Serial Data (KA1/KB6)

23

GY

791

PWM Serial Data (KA1/KB6)

24

WH

790

PWM Serial Data (KA1/KB6)

24

WH

790

PWM Serial Data (KA1/KB6)

25

YE/BK

2079

Driver Heated Seat NTC Signal (KA1/KB6)

25

YE/BK

2079

Driver Heated Seat NTC Signal (KA1/KB6)

26

YE

2080

Driver Heated Seat NTC Low Reference (KA1/KB6)

26

YE

2080

Driver Heated Seat NTC Low Reference (KA1/KB6)

C301 Body to Driver Seat Harness


Object Number: 823290  Size: CH

Object Number: 1283905  Size: CH

Connector Part Information

  • OEM: 10847017
  • Service: NS
  • Description: 14-Way F (L-GY)

Connector Part Information

  • OEM: 7282-5622-40
  • Service: NS
  • Description: 14-Way M YESC Hybrid (GY)

C301 Body to Driver Seat Harness

Pin

Wire

Circuit

Function

Pin

Wire

Circuit

Function

1

PK

2111

Steering Column Tilt Motor Up Control

1

PK

2111

Steering Column Tilt Motor Up Control

2

RD/WH

3240

Battery Positive Voltage

2

RD/WH

3240

Battery Positive Voltage

3

PK

5165

Antenna 14-Volt Switched Supply Voltage

3

PK

5165

Antenna 14-Volt Switched Supply Voltage

4

D-GN

7396

Driver Seat Headrest Display Video Signal (+)

4

D-GN

7.96

Driver Seat Headrest Display Video Signal (+)

5

D-GN/WH

7395

Driver Seat Headrest Display Video Mode Signal

5

D-GN/WH

7395

Driver Seat Headrest Display Video Mode Signal

6

D-BU/WH

149

Left Front Seat Indicator Power Supply

6

D-BU/WH

149

Left Front Seat Indicator Power Supply

7

OG

2098

Steering Column Telescope Motor Forward

7

OG

2098

Steering Column Telescope Motor Forward

8

L-BU

283

Driver Power Seat Rear Vertical Motor Down Control

8

L-BU

283

Driver Power Seat Rear Vertical Motor Down Control

9

BK/WH

551

Ground

9

BK/WH

551

Ground

10

BARE

2099

Drain Wire

10

BARE

2099

Drain Wire

11

WH

7394

Driver Seat Headrest Display Video Signal (-)

11

WH

7394

Driver Seat Headrest Display Video Signal (-)

12

PK/BK

5844

Seat Headrest Display Height Adjusting Signal

12

PK/BK

5844

Seat Headrest Display Height Adjusting Signal

13

GY

157

Left Front Seat Indicator Ground

13

GY

157

Left Front Seat Indicator Ground

14

D-BU

287

Driver Power Seat Front Vertical Motor Down Control

14

D-BU

287

Driver Power Seat Front Vertical Motor Down Control

C302 Body to Rear Seat Harness


Object Number: 2013132  Size: CH

Object Number: 2013136  Size: CH

Connector Part Information

  • OEM: 10726722
  • Service: NS
  • Description: 6-Way F (GY)

Connector Part Information

  • OEM: 7282-5536-40
  • Service: NS
  • Description: 16-Way M (GY)

C302 Body to Rear Seat Harness

Pin

Wire

Circuit

Function

Pin

Wire

Circuit

Function

1

RD/WH

3740

Battery Positive Voltage

1

RD/WH

3740

Battery Positive Voltage

2

BN

341

Ignition 3 Voltage

2

BN

341

Ignition 3 Voltage

3

BK

550

Ground

3

BK

550

Ground

4

BK

650

Ground

4

BK

650

Ground

5

BN

2341

Right Rear A/C Seat Module Power Supply

5

BN

2341

Right Rear A/C Seat Module Power Supply

6

BN

1341

Left Rear A/C Seat Cooling Motor Positive

6

BN

1341

Left Rear A/C Seat Cooling Motor Positive

C302 Body to Rear Seat Harness (w/o Heated Seats)


Object Number: 2013132  Size: CH

Object Number: 2013136  Size: CH

C302 Body to Rear Seat Harness (w/o Heated Seats)

Pin

Wire

Circuit

Function

Pin

Wire

Circuit

Function

1

RD/WH

3740

Power Supply

1

RD/WH

3740

Power Supply

2

--

--

Not Used

2

--

--

Not Used

3

BK

550

Ground

3

BK

550

Ground

4

BK

650

Ground

4

BK

650

Ground

5-6

--

--

Not Used

5-6

--

--

Not Used

C304 Console to I/P Harness


Object Number: 1483276  Size: CH

Object Number: 1483278  Size: CH

Connector Part Information

  • OEM: 13506916
  • Service: NS
  • Description: 16-Way F (BU)

Connector Part Information

  • OEM: 13507436
  • Service: NS
  • Description: 16-Way M (BU)

C304 Console to I/P Harness

Pin

Wire

Circuit

Function

Pin

Wire

Circuit

Function

1

--

--

Not Used

1

--

--

Not Used

2

GY

705

5-Volt Reference

2

GY

705

5-Volt Reference

3-4

--

--

Not Used

3

--

--

Not Used

5

YE

61

Outside Ambient Temperature Sensor Low Reference

5

YE

61

Outside Ambient Temperature Sensor Low Reference

6

BN/WH

1571

Traction Control Switch Signal (2)

6

BN/WH

1571

Traction Control Switch Signal (2)

7

PK

111

Hazard Switch Signal

7

WH

111

Hazard Switch Signal

8

YE

6817

Backlight Lamps Control

8

YE

6817

Backlight Lamps Control

YE

6817

Backlight Lamps Control

YE

6817

Backlight Lamps Control

9

L-GN/BK

5730

Rear Mode Door Control B

9

L-GN/BK

5730

Rear Mode Door Control B

10

L-GN/WH

5729

Rear Mode Door Control A

10

L-GN/WH

5729

Rear Mode Door Control A

11

GY

2599

Rear Mode Door Position Signal

11

GY

2599

Rear Mode Door Position Signal

12-16

--

--

Not Used

12

--

--

Not Used

C305 Headliner to Body Harness


Object Number: 2013152  Size: CH

Object Number: 2013156  Size: CH

Connector Part Information

  • OEM: 7283-6388-40
  • Service: NS
  • Description: 16-Way F Yazaki (GY)

Connector Part Information

  • OEM: 13507436
  • Service: NS
  • Description: 16-Way M Yazaki (GY)

C305 Headliner to Body Harness

Pin

Wire

Circuit

Function

Pin

Wire

Circuit

Function

1

PK

5165

Antenna 14-Volt Switched Supply Voltage

1

PK

5165

Antenna 14-Volt Switched Supply Voltage

2

BK

1489

Noise Reduction Microphone Drain Wire (YQ3/YQ4/YQ6/YQ7)

2

BK

1489

Noise Reduction Microphone Drain Wire (YQ3/YQ4/YQ6/YQ7)

3

D-GN

1488

Noise Reduction Microphone (+) (YQ3/YQ4/YQ6/YQ7)

3

D-GN

1488

Noise Reduction Microphone (+) (YQ3/YQ4/YQ6/YQ7)

4

--

--

Not Used

4

--

--

Not Used

5

OG/BK

5851

Audio Remote Control Signal

5

OG/BK

5831

Audio Remote Control Signal

6

--

--

Not Used

6

--

--

Not Used

7

BK/WH

851

Ground

7

BK/WH

851

Ground

8

--

--

Not Used

8

--

--

Not Used

9

WH

2370

Rear Park Lamp Display Supply Voltage

9

WH

2370

Rear Park Lamp Display Supply Voltage

10

OG

2371

Left Amber Indicator Control

10

OG

2371

Left Amber Indicator Control

11

D-BU

2372

Center Amber Indicator Control

11

D-BU

2372

Center Amber Indicator Control

12

GY

2373

Rear Parking Assist Red Indicator Control

12

GY

2373

Rear Parking Assist Red Indicator Control

13-14

--

--

Not Used

13

--

--

Not Used

15

BK

580

Ground

15

BK

850

Ground

16

YE

1491

Backlight Lamp Control (CF5)

16

YE

1491

Backlight Lamp Control (CF5)

C306 Body to Front Passenger Seat


Object Number: 823290  Size: CH

Object Number: 1283905  Size: CH

Connector Part Information

  • OEM: 10847017
  • Service: N/A
  • Description: 14-Way F (L-GY)

Connector Part Information

  • OEM: 7283-6447-40
  • Service: NS
  • Description: 14-Way M (GY)

C306 Body to Front Passenger Seat

Pin

Wire

Circuit

Function

Pin

Wire

Circuit

Function

1

--

--

Not Used

1

--

--

Not Used

2

BK/WH

651

Ground

2

BK/WH

651

Ground

3

D-GN

6975

Front Passenger Seat Headrest Display Video Signal (+)

3

D-GN

6975

Front Passenger Seat Headrest Display Video Signal (+)

4

D-GN/WH

5845

Front Passenger Seat Headrest Display Video Analog Signal

4

D-GN/WH

5845

Front Passenger Seat Headrest Display Video Analog Signal

5

--

--

Not Used

5

--

--

Not Used

6

D-BU/WH

149

Courtesy Lamp Supply Voltage

6

D-BU/WH

149

Courtesy Lamp Supply Voltage

7-9

--

--

Not Used

8

--

--

Not Used

10

BARE

6976

Drain Wire

10

BARE

6976

Drain Wire

11

WH/BK

5335

Front Passenger Seat Headrest Display Video Signal (-)

11

WH/BK

5335

Front Passenger Seat Headrest Display Video Signal (-)

12

PK/BK

5844

Seat Headrest Display Brightness Adjusting Signal

12

PK/BK

5844

Seat Headrest Display Brightness Adjusting Signal

PK/BK

5844

Seat Headrest Display Brightness Adjusting Signal

PK/BK

5844

Seat Headrest Display Brightness Adjusting Signal

13

GY

157

Door Lighting Control

13

GY

157

Door Lighting Control

14

--

--

Not Used

14

--

--

Not Used

C307 Body to Front Passenger Seat


Object Number: 823264  Size: CH

Object Number: 823289  Size: CH

Connector Part Information

  • OEM: 10864191
  • Service: NS
  • Description: 26-Way F (BK)

Connector Part Information

  • OEM: 7282-6376-30
  • Service: NS
  • Description: 26-Way M (GY)

C307 Body to Front Passenger Seat

Pin

Wire

Circuit

Function

Pin

Wire

Circuit

Function

1

RD/WH

3740

Battery Positive Voltage

1

RD/WH

3740

Battery Positive Voltage

2

RD/WH

2540

Battery Positive Voltage (w/KA1/KB6)

2

RD/WH

2540

Battery Positive Voltage (w/KA1/KB6)

3

PK

1139

Ignition 1 Voltage

3

PK

1139

Ignition 1 Voltage

4

BN

41

Run Ignition 3 Voltage (KB1/KA6)

4

BN

41

Run Ignition 3 Voltage (KB1/KA6)

5

--

--

Not Used

5

--

--

Not Used

6

RD/WH

3240

Battery Positive Voltage

6

RD/WH

3240

Battery Positive Voltage

7

OG

5919

Driver Seat Fan Speed Control (KB6)

7

OG

5919

Driver Seat Fan Speed Control (KB6)

8

BK

650

Ground

8

BK

650

Ground

9

D-BU

2307

Airbag ON Signal

9

D-BU

2307

Airbag ON Signal

10

D-GN

2308

Airbag OFF Signal

10

D-GN

2308

Airbag OFF Signal

11

PK

5018

Passenger Seat Pressure Sensor Serial Data

11

PK

5018

Passenger Seat Pressure Sensor Serial Data

12

BK/WH

1751

Ground

12

BK/WH

1751

Ground

13

PU

5611

Passenger Seat Belt Tension Sensor Signal

13

PU

5611

Passenger Seat Belt Tension Sensor Signal

14

TN/WH

238

Driver Seat Belt Switch Signal

14

TN/WH

238

Driver Seat Belt Switch Signal

15

PK

5017

Driver Seat Belt Switch Low Reference

15

PK

5017

Driver Seat Belt Switch Low Reference

16

BK/WH

651

Ground

16

BK/WH

651

Ground

17

YE

5759

Right Front Seat Left Speaker (+) (YQ3/YQ4/YQ6/YQ7)

17

YE

5759

Right Front Seat Left Speaker (+) (YQ3/YQ4/YQ6/YQ7)

18

YE/BK

5769

Right Front Seat Left Speaker (-) (YQ3/YQ4/YQ6/YQ7)

18

YE/BK

5769

Right Front Seat Left Speaker (-) (YQ3/YQ4/YQ6/YQ7)

19

L-GN

5760

Right Front Seat Right Speaker (+) (YQ3/YQ4/YQ6/YQ7)

19

L-GN

5760

Right Front Seat Left Speaker (+) (YQ3/YQ4/YQ6/YQ7)

20

L-GN/BK

5770

Right Front Seat Right Speaker (-) (YQ3/YQ4/YQ6/YQ7)

20

L-GN/BK

5770

Right Front Seat Right Speaker (-) (YQ3/YQ4/YQ6/YQ7)

21

PK

5165

Antenna 14-Volt Switched Supply Voltage

21

PK

5165

Antenna 14-Volt Switched Supply Voltage

22

PK

2077

Driver Heated Seat Element Supply voltage (KA1/KB6)

22

PK

2270

Driver Heated Seat Element Supply voltage (KA1/KB6)

23

GY

791

PWM Serial Data (KA1/KB6)

23

GY

791

PWM Serial Data (KA1/KB6)

24

WH

790

PWM Serial Data (KA1/KB6)

24

WH

790

PWM Serial Data (KA1/KB6)

25

YE/BK

2079

Driver Heated Seat NTC Signal (KA1/KB6)

25

YE/BK

2079

Driver Heated Seat NTC Signal (KA1/KB6)

26

YE

2080

Driver Heated Seat NTC Low Reference (KA1/KB6)

26

YE

2080

Driver Heated Seat NTC Low Reference (KA1/KB6)

C308 Headliner to Body


Object Number: 2013122  Size: CH

Object Number: 2013116  Size: CH

Connector Part Information

  • OEM: 7283-6456-90
  • Service: NS
  • Description: 16-Way F YESC Yazaki (BU)

Connector Part Information

  • OEM: 7282-6456-90
  • Service: NS
  • Description: 16-Way M YESC Yazaki (BU)

C308 Headliner to Body

Pin

Wire

Circuit

Function

Pin

Wire

Circuit

Function

1-2

--

--

Not Used

1-2

--

--

Not Used

3

PK

1339

Run/Crank Ignition 1 Voltage

3

PK

1339

Run/Crank Ignition 1 Voltage

4

YE

6817

Backlight Lamps Control

4

YE

6817

Backlight Lamps Control

5

GY

655

Cellular Telephone Microphone Signal

5

GY

655

Cellular Telephone Microphone Signal

6

BARE

1782

Drain Wire

6

BARE

1782

Drain Wire

7

D-BU/WH

149

Courtesy Lamp Supply Voltage

7

D-BU/WH

149

Courtesy Lamp Supply Voltage

8

GY

157

Interior Lamp Control

8

GY

157

Interior Lamp Control

9

L-GN/BK

5711

Keyless Entry Antenna Low Reference (2)

9

L-GN/BK

5711

Keyless Entry Antenna Low Reference (2)

10

L-GN

5707

Keyless Entry Antenna Signal (2)

10

L-GN

5707

Keyless Entry Antenna Signal (2)

11

PK

1691

Automatic Day/Night Mirror Low Reference

11

PK

1691

Automatic Day/Night Mirror Low Reference

12

GY

1690

Automatic Day/Night Mirror Signal

12

GY

1690

Automatic Day/Night Mirror Signal

13

PK

1339

Run/Crank Ignition 1 Voltage

13

PK

1339

Run/Crank Ignition 1 Voltage

14

L-GN

24

Backup Lamp Supply Voltage

14

L-GN

24

Backup Lamp Supply Voltage

15

--

--

Not Used

15

--

--

Not Used

16

OG/BK

2332

Switch Signal

16

OG/BK

2332

Switch Signal

17

D-GN

2308

Air Bag OFF Signal

17

D-GN

2308

Air Bag OFF Signal

18

D-BU

2307

Air Bag ON Signal

18

D-BU

2307

Air Bag ON Signal

19

PU

5234

Passenger Seat Belt Indicator Signal

19

PU

5234

Passenger Seat Belt Indicator Signal

20

PK

1139

Ignition 1 Voltage

20

PK

1139

Ignition 1 Voltage

C309 Sunroof Jumper (CF5) to Headliner


Object Number: 825441  Size: CH

Object Number: 802496  Size: CH

Connector Part Information

  • OEM: 7283-6456-90
  • Service: NS
  • Description: 10-Way F YESC 1.5 (L-GY)

Connector Part Information

  • OEM: 10846817
  • Service: NS
  • Description: 10-Way M (GY)

C309 Sunroof Jumper (CF5) to Headliner

Pin

Wire

Circuit

Function

Pin

Wire

Circuit

Function

1

--

--

Not Used

1

--

--

Not Used

2

L-BU

5027

Sunroof Switch - Data (1)

2

L-BU

5027

Sunroof Switch - Data (1)

3

BN

5028

Sunroof Switch - Data (2)

3

BN

5028

Sunroof Switch - Data (2)

4

OG

5029

Sunroof Switch - Data (3)

4

OG

5029

Sunroof Switch - Data (3)

5

PK

5031

Sunroof Switch - Data (5)

5

PK

5031

Sunroof Switch - Data (5)

6

PU

5032

Sunroof Switch - Data (6)

6

PU

5032

Sunroof Switch - Data (6)

7

TN

5030

Sunroof Switch - Data (4)

7

TN

5030

Sunroof Switch - Data (4)

8-10

--

--

Not Used

8-10

--

--

Not Used

C310 Sunroof (CF5) to Body


Object Number: 1483285  Size: CH

Object Number: 1420582  Size: CH

Connector Part Information

  • OEM: 7283-5628-40
  • Service: NS
  • Description: 3-Way F YESC Class 3 (L-GY)

Connector Part Information

  • OEM: 15342668
  • Service: NS
  • Description: 3-Way M (L-GY)

C310 Sunroof (CF5) to Body

Pin

Wire

Circuit

Function

Pin

Wire

Circuit

Function

1

BK

1050

Ground

1

BK

1050

Ground

2

BK

755

Sunroof Enable Signal

2

TN

755

Sunroof Enable Signal

3

D-BU

2640

Battery Positive Voltage

3

RD/WH

2640

Battery Positive Voltage

C312 Driver Lumbar to Driver Seat (AL2 w/o A45)


Object Number: 39667  Size: CH

Object Number: 130711  Size: CH

Connector Part Information

  • OEM: 12129136
  • Service: N/A
  • Description: 4-Way F Metri-Pack 280 Series, Flexlock (BK)

Connector Part Information

  • OEM: 12129135
  • Service: N/A
  • Description: 4-Way M Metri-Pack 280 Series (BK)

C312 Driver Lumbar to Driver Seat (AL2 w/o A45)

Pin

Wire

Circuit

Function

Pin

Wire

Circuit

Function

A

TN

768

Driver Seat Lumbar Motor Up Control

A

L-GN

768

Driver Seat Lumbar Motor Up Control

B

L-GN

284

Driver Seat Horizontal Motor Rearward Control

B

BN

284

Driver Seat Horizontal Motor Rearward Control

C

D-BU

611

Driver Seat Lumbar Motor Forward Control

C

D-BU

611

Driver Seat Lumbar Motor Forward Control

D

PK

610

Driver Seat Lumbar Motor Rearward Control

D

PK

610

Driver Seat Lumbar Motor Rearward Control

C313 Passenger Lumbar to Passenger Seat (AL2)


Object Number: 39667  Size: CH

Object Number: 130711  Size: CH

Connector Part Information

  • OEM: 12129136
  • Service: N/A
  • Description: 4-Way F Metri-Pack 280 Series, Flexlock (BK)

Connector Part Information

  • OEM: 12129135
  • Service: N/A
  • Description: 4-Way M Metri-Pack 280 Series (BK)

C313 Passenger Lumbar to Passenger Seat (AL2)

Pin

Wire

Circuit

Function

Pin

Wire

Circuit

Function

A

TN

768

Driver Seat Lumbar Motor Up Control

A

L-GN

768

Driver Seat Lumbar Motor Up Control

B

L-GN

284

Driver Seat Horizontal Motor Rearward Control

B

L-GN

284

Driver Seat Horizontal Motor Rearward Control

C

D-BU

611

Driver Seat Lumbar Motor Forward Control

C

D-BU

611

Driver Seat Lumbar Motor Forward Control

D

PK

610

Driver Seat Lumbar Motor Rearward Control

D

PK

610

Driver Seat Lumbar Motor Rearward Control

C317 Driver Seat Harness to Body Harness


Object Number: 1409645  Size: CH

Object Number: 258658  Size: CH

Connector Part Information

  • OEM: 15304656
  • Service: N/A
  • Description: 2-Way F 280 Series (YE)
  • OEM: 15304653
  • Service: N/A
  • Description: 4-Way F GT 150/280 Series (YE)

Connector Part Information

  • OEM: 15304649
  • Service: 15306061
  • Description: 6-Way M GT 150/280 Series (YE)

C317 Driver Seat Harness to Body Harness

Pin

Wire

Circuit

Function

Pin

Wire

Circuit

Function

A

BK

2118

Driver Seat Belt Pretensioner High Control

A

TN/WH

2118

Driver Seat Belt Pretensioner High Control

B

--

--

Not Used

B

--

--

Not Used

C

BN

2105

Left Side Impact Module High Control

C

D-GN

2105

Left Side Impact Module High Control

D

D-GN

2106

Side Impact Module - Left Low Control

D

BN

2106

Side Impact Module - Left Low Control

E

--

--

Not Used

E

--

--

Not Used

F

WH

2119

Driver Seat Belt Pretensioner Low Control

F

OG/BK

2119

Driver Seat Belt Pretensioner Low Control

C318 Passenger Seat Harness to Body Harness


Object Number: 1409645  Size: CH

Object Number: 258658  Size: CH

Connector Part Information

  • OEM: 15304656
  • Service: N/A
  • Description: 2-Way F 280 Series (YE)
  • OEM: 15304653
  • Service: N/A
  • Description: 4-Way F GT 150/280 Series (YE)

Connector Part Information

  • OEM: 15304649
  • Service: 15306061
  • Description: 6-Way M GT 150/280 Series (YE)

C318 Passenger Seat Harness to Body Harness

Pin

Wire

Circuit

Function

Pin

Wire

Circuit

Function

A

BK

2116

Passenger Seat Belt Pretensioner High Control

A

L-GN

2116

Passenger Seat Belt Pretensioner High Control

B

--

--

Not Used

B

--

--

Not Used

C

WH

2104

Side Impact Module - Right Low Control

C

GY

2104

Side Impact Module - Right Low Control

D

D-GN

2103

Side Impact Module - Right High Control

D

D-BU

2103

Side Impact Module - Right High Control

E

--

--

Not Used

E

--

--

Not Used

F

WH

2117

Passenger Seat Belt Pretensioner Low Control

F

OG

2117

Passenger Seat Belt Pretensioner Low Control

C319 Lumbar Motor Position Sensor - Driver to Driver Seat Harness (A45)


Object Number: 39660  Size: CH

Object Number: 39661  Size: CH

Connector Part Information

  • OEM: 12047785
  • Service: N/A
  • Description: 4-Way F Metri-Pack 150 Series (BK)

Connector Part Information

  • OEM: 12047786
  • Service: N/A
  • Description: 4-Way M Metri-Pack 150 Series (BK)

C319 Lumbar Motor Position Sensor - Driver to Driver Seat Harness (A45)

Pin

Wire

Circuit

Function

Pin

Wire

Circuit

Function

A

TN

782

Memory Seat/Mirror Sensor Low Reference

A

TN

782

Memory Seat/Mirror Sensor Low Reference

B

TN

1062

Driver Memory Seat Lumbar Vertical Position Sensor Signal

B

TN

1062

Driver Memory Seat Lumbar Vertical Position Sensor Signal

C

GY

788

Memory Mirror Position Sensor 5-Volt Reference

C

GY

788

Memory Mirror Position Sensor 5-Volt Reference

D

YE

1063

Driver Memory Seat Lumbar Horizontal Position Sensor Signal

D

YE

1063

Driver Memory Seat Lumbar Horizontal Position Sensor Signal

C320 Body to Rear I/P Harness


Object Number: 2013174  Size: CH

Object Number: 2013177  Size: CH

Connector Part Information

  • OEM: 10864191
  • Service: N/A
  • Description: 26-Way F

Connector Part Information

  • OEM: 15386268
  • Service: N/A
  • Description: 26-Way M (BK)

C320 Body to Body Jumper Harness

Pin

Wire

Circuit

Function

Pin

Wire

Circuit

Function

1

RD/WH

3240

Battery Positive Voltage

1

RD/WH

3240

Left Rear Fuse

2

BN

41

Run Ignition 3 Voltage

2

BN

41

Left Rear Fuse

3

--

--

Not Used

3

--

--

Not Used

4

PU

2056

Auxiliary Video High Signal (+)

4

PU

2056

Auxiliary Video High Signal (+)

5

RD

2057

Auxiliary Video High Signal (-)

5

RD

2057

Auxiliary Video High Signal (-)

6

BARE

814

Drain Wire

6

BARE

814

Drain Wire

7

YE

6817

Backlight Lamps Control

7

YE

6817

I/P Backlight Lamp Control Output

8

BK/WH

851

Ground

8

BK/WH

851

Ground

9

D-BU/BK

5314

LR Low Level Audio (-)

9

D-BU/BK

5314

Left Rear Audio Input (-)

10

D-BU/WH

5312

LR Row Level Audio Signal

10

D-BU/WH

5312

Left Rear Audio Input (+)

11-12

--

--

Not Used

11-12

--

--

Not Used

13

YE

2059

Left Auxiliary Amplifier Audio Prompt Signal (+)

13

YE

2059

Left Auxiliary Amplifier Audio Prompt Signal (+)

14

WH

2058

Right Auxiliary Amplifier Audio Prompt Signal (+)

14

WH

2058

Right Auxiliary Amplifier Audio Prompt Signal (+)

15

YE

599

LR Low Level Audio Signal

15

YE

599

LR Low Level Audio Signal

16

BN

1999

LR Low Level Audio (-)

16

BN

1999

LR Low Level Audio (-)

17

BARE

2099

Drain Wire

17

BARE

2099

Drain Wire

18

GY/BK

5830

RR Low Level Audio (-)

18

GY/BK

5830

Right Rear Audio Output (-)

19

D-GN/WH

5313

RR Low Level Audio Signal

19

D-GN/WH

5313

Right Rear Audio Output (+)

20-21

--

--

Not Used

20-21

--

--

Not Used

22

D-GN

5060

Low Speed GMLAN Serial Data

22

D-GN

5060

Low Speed GMLAN Serial Data

23

BARE

814

Drain Wire

23

BARE

814

Drain Wire

24

GY

546

RR Low Level Audio Signal

24

GY

546

RR Low Level Audio Signal

25

D-GN

1946

RR Low Level Audio (-)

25

D-GN

1946

RR Low Level Audio (-)

26

BARE

2099

Drain Wire

26

BARE

2099

Drain Wire

C321 Left Rear Seat Cushion to Left Rear Seat Harness C1


Object Number: 2013188  Size: CH

Object Number: 2013193  Size: CH

C321 Left Rear Seat Cushion to Left Rear Seat Harness C1

Pin

Wire

Circuit

Function

Pin

Wire

Circuit

Function

1

RD/WH

3740

Left Rear Heated Seat Supply Voltage

1

RD/WH

3740

Left Rear Heated Seat Supply Voltage

2

BK

550

Left Rear Heated Seat Ground

2

BK

550

Left Rear Heated Seat Ground

3

L-GN

276

Control Signal Rearward

3

L-GN

276

Control Signal Rearward

4

L-BU

277

Control Signal Forward

4

L-BU

277

Control Signal Forward

5

PU

9336

Control Signal Downward

5

PU

9336

Control Signal Downward

6

WH

9338

Control Signal Inward

6

WH

9338

Control Signal Inward

7

GY

9337

Control Signal Outward

7

GY

9337

Control Signal Outward

8

BK

550

Ground

5

BK

550

Ground

9

D-BU

9335

Control Signal Upward

9

D-BU

9335

Control Signal Upward

10

BN

341

Power Supply

10

BN

341

Power Supply

C321 Left Rear Seat Cushion to Left Rear Seat Harness (w/o Heated Seat)


Object Number: 2013188  Size: CH

Object Number: 2013193  Size: CH

C321 Left Rear Seat Cushion to Left Rear Seat Harness (w/o Heated Seat)

Pin

Wire

Circuit

Function

Pin

Wire

Circuit

Function

1

RD/WH

3740

Power Supply

1

RD/WH

3740

Power Supply

2

BK

550

Ground

2

BK

550

Ground

3

L-BU

276

Rearward Control Signal

3

L-BU

276

Rearward Control Signal

4

L-GN

277

Forward Control Signal

4

L-GN

277

Forward Control Signal

5-10

--

--

Not Used

5-10

--

--

Not Used

C322 Right Rear Seat Cushion to Right Rear Seat Harness (w/o Heated Seat)


Object Number: 2013188  Size: CH

Object Number: 2013193  Size: CH

C322 Right Rear Seat Cushion to Right Rear Seat Harness (w/o Heated Seat)

Pin

Wire

Circuit

Function

Pin

Wire

Circuit

Function

1

RD/WH

3740

Power Supply

1

RD/WH

3740

Power Supply

2

BK

550

Ground

2

BK

550

Ground

3

L-BU

277

Forward Control Signal

3

L-BU

277

Forward Control Signal

4

L-GN

276

Rearward Control Signal

4

L-GN

276

Rearward Control Signal

C322 Right Rear Seat Cushion to Right Rear Seat Harness C1


Object Number: 2013188  Size: CH

Object Number: 2013193  Size: CH

C322 Right Rear Seat Cushion to Right Rear Seat Harness C1

Pin

Wire

Circuit

Function

Pin

Wire

Circuit

Function

1

RD/WH

3740

Right Rear Heated Seat Supply Voltage

1

RD/WH

3740

Right Rear Heated Seat Supply Voltage

2

BK

650

Ground

2

BK

650

Ground

3

L-BU

277

Control Signal Forward

3

L-BU

277

Control Signal Forward

4

L-GN

276

Control Signal Rearward

4

L-GN

276

Control Signal Rearward

5

PU

9336

Control Signal Downward

5

PU

9336

Control Signal Downward

6

WH

9338

Control Signal Inward

6

WH

9338

Control Signal Inward

7

GY

9337

Control Signal Outward

7

GY

9337

Control Signal Outward

8

D-BU

9335

Control Signal Upward

5

D-BU

9335

Control Signal Upward

9

BN

341

Power Supply

9

BN

341

Power Supply

C323 Left Rear Seat Cushion to Left Rear Seat Harness C2


Object Number: 2013208  Size: CH

Object Number: 2013210  Size: CH

C323 Left Rear Seat Cushion to Left Rear Seat Harness C2

Pin

Wire

Circuit

Function

Pin

Wire

Circuit

Function

1

PK

2077

Left Rear Heating Element Supply Voltage

1

PK

2077

Left Rear Heating Element Supply Voltage

2

BK

550

Ground

2

BK

550

Ground

3

PK

2079

Left Rear Heated Seat Temperature Sensor Signal

3

PK

2079

Left Rear Heated Seat Temperature Sensor Signal

4

YE

2080

Left Rear Heated Seat Temperature Sensor Low Reference

4

YE

2080

Left Rear Heated Seat Temperature Sensor Low Reference

5

OG

5919

Left Rear Seat Fan Speed Control

5

OG

5919

Left Rear Seat Fan Speed Control

6

BK

550

Left Rear Heated Seat Heating Element Control

6

BK

550

Left Rear Heated Seat Heating Element Control

7

BN

1341

Battery Positive Voltage

7

BN

1341

Battery Positive Voltage

C324 Right Rear Seat Cushion to Right Rear Seat Harness C2


Object Number: 2013210  Size: CH

Object Number: 2013208  Size: CH

C324 Right Rear Seat Cushion to Right Rear Seat Harness C2

Pin

Wire

Circuit

Function

Pin

Wire

Circuit

Function

1

D-BU

2479

Right Rear Heated Seat Element Supply Voltage

1

D-BU

2479

Right Rear Heated Seat Element Supply Voltage

2

GY

2434

Right Rear Heated Seat Temperature Sensor Signal

2

GY

2434

Right Rear Heated Seat Temperature Sensor Signal

3

PK

2435

Right Rear Heated Seat Temperature Sensor Low Reference

3

PK

2435

Right Rear Heated Seat Temperature Sensor Low Reference

4

WH

5915

Right Rear Seat Fan Speed Control

4

WH

5915

Right Rear Seat Fan Speed Control

5

BN

2341

Battery Positive Voltage

5

BN

2341

Battery Positive Voltage

C325 Rear Seat Harness to Rear Seatback C1


Object Number: 2013188  Size: CH

Object Number: 2013193  Size: CH

C325 Rear Seat Harness to Rear Seatback C1

Pin

Wire

Circuit

Function

Pin

Wire

Circuit

Function

1

BK

5150

Ground

1

BK

5150

Ground

2

BK

650

Ground

2

BK

650

Ground

3

BN

2341

Battery Positive Voltage

3

BN

2341

Battery Positive Voltage

4

GY

9337

Left Rear Heated Seat Outward Control Signal

4

GY

9337

Left Rear Heated Seat Outward Control Signal

5

WH

9338

Left Rear Heated Seat Inward Control Signal

5

WH

9338

Left Rear Heated Seat Inward Control Signal

6

PU

9336

Left Rear Heated Seat Downward Control Signal

6

PU

9336

Left Rear Heated Seat Downward Control Signal

7

D-BU

9335

Left Rear Heated Seat Upward Control Signal

7

D-BU

9335

Left Rear Heated Seat Upward Control Signal

8

BN

341

Power Supply

8

BN

341

Power Supply

9

D-BU

9335

Right Rear Heated Seat Upward Control Signal

9

D-BU

9335

Right Rear Heated Seat Upward Control Signal

10

PU

9336

Right Rear Heated Seat Downward Control Signal

10

PU

9336

Right Rear Heated Seat Downward Control Signal

11

WH

9338

Right Rear Heated Seat Inward Control Signal

11

WH

9338

Right Rear Heated Seat Inward Control Signal

12

GY

9337

Right Rear Heated Seat Outward Control Signal

12

GY

9337

Right Rear Heated Seat Outward Control Signal

C326 Rear Seat Harness to Rear Seatback C2


Object Number: 2013208  Size: CH

Object Number: 2013210  Size: CH

C325 Rear Seat Harness to Rear Seatback C1

Pin

Wire

Circuit

Function

Pin

Wire

Circuit

Function

1

WH

5915

Right Rear Seat Fan Speed Control

1

WH

5915

Right Rear Seat Fan Speed Control

2

D-BU

2479

Right Rear Seat Fan Heating Element Supply Voltage

2

D-BU

2479

Right Rear Seat Fan Heating Element Supply Voltage

3

GY

2434

Right Rear Seat Fan Temperature Sensor Signal

3

GY

2434

Right Rear Seat Fan Temperature Sensor Signal

4

PK

2435

Right Rear Heated Seat Temperature Sensor Low Reference

4

PK

2435

Right Rear Heated Seat Temperature Sensor Low Reference

5

OG

5919

Left Rear Seat Fan Speed Control

5

OG

5919

Left Rear Seat Fan Speed Control

6

BN

1341

Battery Positive Voltage

6

BN

1341

Battery Positive Voltage

7

PK

2079

Left Rear Heated Seat Temperature Sensor Signal

7

YE/BK

2079

Left Rear Heated Seat Temperature Sensor Signal

8

PK

2077

Left Rear Heated Seat Heating Element Supply Voltage

8

PK

2077

Left Rear Heated Seat Heating Element Supply Voltage

9

YE

2080

Left Rear Heated Seat Temperature Sensor Signal

9

YE

2080

Left Rear Heated Seat Temperature Sensor Signal

C327 Left, Right Rear Seat Harness Connection


Object Number: 2013193  Size: CH

Object Number: 2013188  Size: CH

C327 Left, Right Rear Seat Harness Connection

Pin

Wire

Circuit

Function

Pin

Wire

Circuit

Function

1

RD/WH

3740

Power Supply

1

RD/WH

3740

Power Supply

2

BN

2341

Battery Positive Voltage

2

BN

2341

Battery Positive Voltage

3

PK

2435

Right Rear Heated Seat Temperature Sensor Low Reference

3

PK

2435

Right Rear Heated Seat Temperature Sensor Low Reference

4

GY

3424

Right Rear Heated Seat Temperature Sensor Signal

4

GY

3424

Right Rear Heated Seat Temperature Sensor Signal

5

D-BU

2479

Right Rear Heated Seat Heating Element Supply Voltage

5

D-BU

2479

Right Rear Heated Seat Heating Element Supply Voltage

6

WH

5915

Right Rear Seat Fan Speed Control

6

WH

5919

Right Rear Seat Fan Speed Control

7

GY

9337

Right Rear Seat Outward Control Signal

7

GY

9337

Right Rear Seat Outward Control Signal

8

WH

9338

Right Rear Seat Inward Control Signal

8

WH

9338

Right Rear Seat Inward Control Signal

9

PU

9336

Right Rear Seat Downward Control Signal

9

PU

9336

Right Rear Seat Downward Control Signal

10

D-BU

9335

Right Rear Seat Upward Control Signal

10

D-BU

9335

Right Rear Seat Upward Control Signal

11

BK

650

Ground

11

BK

650

Ground

12

BN

341

Power Supply

12

BN

341

Power Supply

C327 Left, Right Rear Seat Harness Connection


Object Number: 2013193  Size: CH

Object Number: 2013188  Size: CH

C327 Left, Right Rear Seat Harness Connection

Pin

Wire

Circuit

Function

Pin

Wire

Circuit

Function

1-5

--

--

Not Used

1-5

--

--

Not Used

6

RD/WH

3740

Power Supply

6

RD/WH

3740

Power Supply

7

--

--

Not Used

7

--

--

Not Used

8

BK

550

Ground

8

BK

550

Ground

C329 Rear Seatback Harness to Left Rear Massage Motor Sensor


Object Number: 2013213  Size: CH

Object Number: 2013216  Size: CH

C329 Rear Seatback Harness to Left Rear Massage Motor Sensor

Pin

Wire

Circuit

Function

Pin

Wire

Circuit

Function

A

RD/WH

9330

5-Volt Power Supply

A

WH

9330

5-Volt Power Supply

B

L-GN

9177

Left Rear Massage Sensor INP

B

L-GN

9177

Left Rear Massage Sensor INP

C

GY

9176

Sensor Low Reference

C

BK

9176

Sensor Low Reference

D

D-BU

9334

Left Rear Lumbar (UP/DOWN) Low Reference

D

PK

9334

Left Rear Lumbar (UP/DOWN) Low Reference

E

PU

9333

Left Rear Lumbar (UP/DOWN) Supply Voltage

E

L-BU

9333

Left Rear Lumbar (UP/DOWN) Supply Voltage

F

WH

9338

Left Rear Lumbar (INWARD/OUTWARD) Motor Low Reference

F

D-GN

9338

Left Rear Lumbar (INWARD/OUTWARD) Motor Low Reference

G

GY

9337

Left Rear Lumbar (INWARD/OUTWARD) Motor Supply Voltage

G

L-GN

9337

Left Rear Lumbar (INWARD/OUTWARD) Motor Supply Voltage

H

--

--

Not Used

H

--

--

Not Used

C330 Rear Seatback Harness to Massage Module C1


Object Number: 2013218  Size: CH

Object Number: 2013221  Size: CH

C330 Rear Seatback Harness to Massage Module C1

Pin

Wire

Circuit

Function

Pin

Wire

Circuit

Function

A

L-GN/BK

9337

Right Rear Massage IND

A

RD

9337

Right Rear Massage IND

B

L-GN/BK

9337

Left Rear Massage IND

B

TN

9337

Left Rear Massage IND

C

BN

341

Power Supply

C

WH

341

Power Supply

D

BK

550

Ground

D

BN

550

Ground

E

TN

9170

Right Rear Massage INP

E

PU

9170

Right Rear Massage INP

F

TN

9170

Left Rear Massage INP

F

WH

9170

Left Rear Massage INP

G

D-BU

9335

Right Rear Lumbar Motor Upward Control

G

L-BU

9335

Right Rear Lumbar Motor Upward Control

H

PU

9336

Right Rear Lumbar Motor Downward Control

H

D-BU

9336

Right Rear Lumbar Motor Downward Control

J

D-BU

9335

Right Rear Lumbar Motor Upward Control

J

D-GN

9335

Right Rear Lumbar Motor Upward Control

K

PU

9336

Right Rear Lumbar Motor Downward Control

K

GY

9336

Right Rear Lumbar Motor Downward Control

L

WH

9338

Right Rear Lumbar (INWARD/OUTWARD) Motor Supply Voltage

L

RD

9338

Right Rear Lumbar (INWARD/OUTWARD) Motor Supply Voltage

M

GY

9337

Right Rear Lumbar (INWARD/OUTWARD) Motor Low Reference

M

OG

9337

Right Rear Lumbar (INWARD/OUTWARD) Motor Low Reference

C331 Rear Seatback Harness to Massage Module C2


Object Number: 2013224  Size: CH

Object Number: 2013227  Size: CH

C330 Rear Seatback Harness to Massage Module C1

Pin

Wire

Circuit

Function

Pin

Wire

Circuit

Function

A

RD/WH

9330

5V Power Output

A

WH

9330

5V Power Output

B

L-GN

9177

Left Rear Massage Sensor INP

B

L-GN

9177

Left Rear Massage Sensor INP

C

GY

9176

Sensor Low Reference

C

BK

9176

Sensor Low Reference

D

D-BU

9334

Left Rear Lumbar Motor (UP/DOWN) Low Reference

D

PK

9334

Left Rear Lumbar Motor (UP/DOWN) Low Reference

E

PU

9333

Left Rear Lumbar Motor (UP/DOWN) Supply Voltage

E

L-BU

9333

Left Rear Lumbar Motor (UP/DOWN) Supply Voltage

F

--

--

Not Used

F

--

--

Not Used

C400 Body Harness to Rear Fascia


Object Number: 646430  Size: CH

Object Number: 806431  Size: CH

Connector Part Information

  • OEM: 15326815
  • Service: 15306396
  • Description: 4-Way F GT 150 Series Sealed 4.0 (BK)

Connector Part Information

  • OEM: 15326820
  • Service: 15326820
  • Description: 4-Way M GT 150 Series (BK)

C400 Body Harness to Rear Fascia

Pin

Wire

Circuit

Function

Pin

Wire

Circuit

Function

A

OG

122

Rear Fog Lamp Supply Voltage (w/TT7/TT8)

A

OG

122

Rear Fog Lamp Supply Voltage (w/TT7/TT8)

B

BK

1050

Ground

B

BK

1050

Ground

C

PU

1472

Left Park Lamp Relay Control (TT7/TT8)

C

PU

709

Left Park Lamp Supply Voltage

D

BN/WH

1473

Right Park Lamp Supply Voltage (w/TT7/TT8)

D

BN/WH

309

Right Park Lamp Supply Voltage

C401 Body Harness to Rear Fascia (UD7)


Object Number: 646400  Size: CH

Object Number: 684916  Size: CH

Connector Part Information

  • OEM: 15326835
  • Service: 88986452
  • Description: 8-Way F GT 150 Series Sealed 4.0 (BK)

Connector Part Information

  • OEM: 15326840
  • Service: NS
  • Description: 8-Way M GT 150 Series Sealed 4.0 (BK)

C401 Body Harness to Rear Fascia (UD7)

Pin

Wire

Circuit

Function

Pin

Wire

Circuit

Function

A

--

--

Not Used

A

--

--

Not Used

B

YE

2375

Left Rear Corner Object Sensor Signal

B

YE

2375

Left Rear Corner Object Sensor Signal

C

GY

2379

Object Sensor Low Reference

C

GY

2379

Object Sensor Low Reference

D

OG

2376

Left Rear Middle Object Sensor Signal

D

OG

2376

Left Rear Middle Object Sensor Signal

E

D-GN

2377

Right Rear Middle Object Sensor Signal

E

D-GN

2377

Right Rear Middle Object Sensor Signal

F

PU

2378

Right Rear Corner Object Sensor Signal

F

PU

2378

Right Rear Corner Object Sensor Signal

G

OG

5708

Keyless Entry Antenna Signal (3)

G

OG

5708

Keyless Entry Antenna Signal (3)

H

OG/BK

5712

Keyless Entry Antenna Low Reference (3)

H

OG/BK

5712

Keyless Entry Antenna Low Reference (3)

C420 Fuel Tank Jumper to Body


Object Number: 655815  Size: CH

Object Number: 655819  Size: CH

Connector Part Information

  • OEM: 15326660
  • Service: 15326907
  • Description: 10-Way F GT 280 Series Sealed 5.8 (BK)

Connector Part Information

  • OEM: 15326661
  • Service: 88986245
  • Description: 10-Way M GT 280 Series Sealed 5.8 (BK)

C420 Fuel Tank Jumper to Body

Pin

Wire

Circuit

Function

Pin

Wire

Circuit

Function

A

GY

120

Fuel Pump Supply Voltage

A

GY

120

Fuel Pump Supply Voltage

B

D-GN

890

Fuel Tank Pressure Sensor Signal

B

D-GN

890

Fuel Tank Pressure Sensor Signal

C

GY

596

5-Volt Reference

C

GY

596

5-Volt Reference

D

WH

1310

EVAP Canister Vent Solenoid Control

D

WH

1310

EVAP Canister Vent Solenoid Control

E

BK

452

Low Reference

E

BK

452

Low Reference

F

D-BU

1936

Fuel Level Sensor Signal Left - Secondary

F

D-BU

1936

Fuel Level Sensor Signal Left - Secondary

G

L-BU

1937

Fuel Level Sensor Signal Right - Secondary

G

L-BU

1937

Fuel Level Sensor Signal Right - Secondary

H

--

--

Not Used

H

--

--

Not Used

J

RD/WH

1540

Battery Positive Voltage

J

RD/WH

1540

Battery Positive Voltage

K

BK

1050

Ground

K

BK

1050

Ground

C421 Fuel Tank Filler Door Lock to Body Harness

Pin

Wire

Circuit

Function

Pin

Wire

Circuit

Function

A

TN

120

Fuel Tank Filler Door Lock Actuator Unlock Control

A

TN

120

Fuel Tank Filler Door Lock Actuator Unlock Control

B

GY

890

Fuel Tank Filler Door Lock Actuator Lock Control

B

GY

890

Fuel Tank Filler Door Lock Actuator Lock Control

C500 Body to Left Front Door Harness


Object Number: 823290  Size: CH

Object Number: 1485995  Size: CH

Connector Part Information

  • OEM: 10847017
  • Service: NS
  • Description: 14-Way F (L-GY)

Connector Part Information

  • OEM: 13510971
  • Service: NS
  • Description: 14-Way M

C500 Body to Left Front Door Harness

Pin

Wire

Circuit

Function

Pin

Wire

Circuit

Function

1

RD/WH

1040

Battery Positive Voltage

1

RD/WH

1040

Battery Positive Voltage

2

RD/WH

640

Battery Positive Voltage

2

RD/WH

640

Battery Positive Voltage

3

GY

1690

Automatic Day/Night Mirror Signal

3

GY

1690

Automatic Day/Night Mirror Signal

4

D-BU

5882

Left Front Door Handle Switch Signal (2)

4

D-BU

5882

Left Front Door Handle Switch Signal (2)

5

PK

5709

Keyless Entry Antenna Signal (4)

5

PK

5709

Keyless Entry Antenna Signal (4)

6

YE

1956

Left Front Tweeter Speaker (-)

6

YE

1956

Left Front Tweeter Speaker (-)

7

PU/WH

5754

Amplifier Powered Woofer Control (1) (YQ3/YQ4/YQ6/YQ7)

7

PU/WH

5754

Amplifier Powered Woofer Control (1) (YQ3/YQ4/YQ6/YQ7)

8

BK

350

Ground

8

BK

350

Ground

9

BK/WH

351

Signal Ground

9

BK/WH

351

Signal Ground

10

PK

1691

Automatic Day/Night Mirror Low Reference

10

PK

1691

Automatic Day/Night Mirror Low Reference

11

D-GN

5060

Low Speed GMLAN Serial Data

11

D-GN

5060

Low Speed GMLAN Serial Data

12

PK/BK

5713

Keyless Entry Antenna Low Reference (4)

12

PK/BK

5713

Keyless Entry Antenna Low Reference (4)

13

TN

1856

Left Front Tweeter Speaker (+)

13

TN

1856

Left Front Tweeter Speaker (+)

14

BK

850

Ground (YQ3/YQ4/YQ6/YQ7)

14

BK

850

Ground (YQ3/YQ4/YQ6/YQ7)

C501 Left Front Door to Left Front Door Trim Harness


Object Number: 823304  Size: CH

Object Number: 889498  Size: CH

Connector Part Information

  • OEM: 13530230
  • Service: NS
  • Description: 12-Way F (BK)

Connector Part Information

  • OEM: 15448869
  • Service: NS
  • Description: 12-Way M (BK)

C501 Left Front Door to Left Front Door Trim Harness

Pin

Wire

Circuit

Function

Pin

Wire

Circuit

Function

1

D-GN

5060

Low Speed GMLAN Serial Data

1

D-GN

5060

Low Speed GMLAN Serial Data

2

BK/WH

640

Battery Positive Voltage

2

BK/WH

640

Battery Positive Voltage

BK/WH

640

Battery Positive Voltage

3

--

--

Not Used

3

--

--

Not Used

4

PU/WH

5754

Amplifier Powered Woofer Control (1)

4

PU/WH

5754

Amplifier Powered Woofer Control (1)

5

L-BU/WH

6576

Driver Door Courtesy Lamp Control Low

5

L-BU/WH

6576

Driver Door Courtesy Lamp Control Low

6

YE

1491

Backlight Lamps Control

6

YE

1491

Backlight Lamps Control

7-8

--

--

Not Used

7

--

--

Not Used

9

BK/WH

351

Signal Ground

9

BK/WH

351

Signal Ground

10-12

--

--

Not Used

10-12

--

--

Not Used

C600 Body to Right Front Door Harness


Object Number: 823290  Size: CH

Object Number: 1485995  Size: CH

Connector Part Information

  • OEM: 10847017
  • Service: NS
  • Description: 14-Way F (L-GY)

Connector Part Information

  • OEM: 13510971
  • Service: NS
  • Description: 14-Way M

C600 Body to Right Front Door Harness

Pin

Wire

Circuit

Function

Pin

Wire

Circuit

Function

1

RD/WH

1040

Battery Positive Voltage

1

RD/WH

1040

Battery Positive Voltage

2

RD/WH

740

Battery Positive Voltage

2

RD/WH

740

Battery Positive Voltage

3

YE

6817

Backlight Lamps Control

3

YE

6817

Backlight Lamps Control

4

PK

5879

Right Front Door Handle Switch Signal (2)

4

PK

5879

Right Front Door Handle Switch Signal (2)

5

YE

5710

Keyless Entry Antenna Signal (5)

5

YE

5710

Keyless Entry Antenna Signal (5)

6

PU

1952

Right Front Tweeter Speaker (-)

6

PU

1952

Right Front Tweeter Speaker (-)

7

PK/BK

5755

Amplifier Powered Woofer (YQ3/YQ4/YQ6/YQ7)

7

PK/BK

5755

Amplifier Powered Woofer (YQ3/YQ4/YQ6/YQ7)

8

BK

450

Ground

8

BK

450

Ground

9

BK/WH

451

Signal Ground

9

BK/WH

451

Signal Ground

10

--

--

Not Used

10

--

--

Not Used

11

D-GN

5060

Low Speed GMLAN Serial Data

11

D-GN

5060

Low Speed GMLAN Serial Data

12

YE/BK

5714

Keyless Entry Antenna Low Reference (5)

12

YE/BK

5714

Keyless Entry Antenna Low Reference (5)

13

L-GN

1852

Right Front Tweeter Speaker (+)

13

L-GN

1852

Right Front Tweeter Speaker (+)

14

BK

850

Ground (YQ3/YQ4/YQ6/YQ7)

14

BK

850

Ground (YQ3/YQ4/YQ6/YQ7)

C601 Right Front Door to Right Front Door Trim Harness


Object Number: 823304  Size: CH

Object Number: 889498  Size: CH

Connector Part Information

  • OEM: 13530230
  • Service: NS
  • Description: 12-Way F (BK)

Connector Part Information

  • OEM: 15448869
  • Service: NS
  • Description: 12-Way M (BK)

C601 Right Front Door to Right Front Door Trim Harness

Pin

Wire

Circuit

Function

Pin

Wire

Circuit

Function

1

PU/WH

5754

Amplifier Powered Woofer Control (1)

1

PU/WH

5754

Amplifier Powered Woofer Control (1)

2

L-BU/WH

6576

Driver Door Courtesy Lamp Control Low

2

L-BU/WH

6576

Driver Door Courtesy Lamp Control Low

3

YE

1491

Backlight Lamps Control

3

YE

1491

Backlight Lamps Control

3

YE

1491

Backlight Lamps Control

4

OG

1189

Power Window Switch Right Front Low Reference

4

OG

1189

Power Window Switch Right Front Low Reference

5

WH

1185

Power Window Switch Left Rear Up Signal

5

WH

1185

Power Window Switch Left Rear Up Signal

6

L-BU

244

Passenger Door Lock Switch Lock Control

6

L-BU

244

Passenger Door Lock Switch Lock Control

7

D-BU

245

Passenger Door Lock Switch Unlock Control

7

D-BU

245

Passenger Door Lock Switch Unlock Control

8

PU

2765

Power Window Switch Right Front Express Signal

8

PU

2765

Power Window Switch Right Front Express Signal

9-10

--

--

Not Used

9-10

--

--

Not Used

11

YE

6817

Backlight Lamps Control

11

YE

6817

Backlight Lamps Control

12

BK/WH

451

Ground

12

BK/WH

451

Ground

C700 Body to Left Front Door Harness


Object Number: 823290  Size: CH

Object Number: 1485995  Size: CH

Connector Part Information

  • OEM: 10847017
  • Service: NS
  • Description: 14-Way F (L-GY)

Connector Part Information

  • OEM: 13510971
  • Service: NS
  • Description: 14-Way M

C700 Body to Left Front Door Harness

Pin

Wire

Circuit

Function

Pin

Wire

Circuit

Function

1

RD/WH

1040

Battery Positive Voltage

1

RD/WH

1040

Battery Positive Voltage

2

RD/WH

840

Battery Positive Voltage

2

RD/WH

840

Battery Positive Voltage

3

--

--

Not Used

3

--

--

Not Used

4

BK/WH

351

Ground

4

BK/WH

351

Signal Ground

5

WH

1959

Left Rear Midrange Speaker Output (-)

5

WH

1959

Left Rear Midrange Speaker Output (-)

6

TN

1859

Left Rear Midrange Speaker Output (+)

6

TN

1859

Left Rear Midrange Speaker Output (+)

7

BK

350

Ground

7

BK

350

Ground

8

YE

6817

Backlight Lamps Control

8

YE

6817

Backlight Lamps Control

9

RD/WH

2040

Battery Positive Voltage

9

RD/WH

2040

Battery Positive Voltage

10

--

--

Not Used

10

--

--

Not Used

11

D-BU/WH

149

Courtesy Lamp Supply Voltage

11

D-BU/WH

149

Courtesy Lamp Supply Voltage

12

GY

157

Interior Lamp Control

12

GY

157

Interior Lamp Control

13

D-GN

5060

Low Speed GMLAN Serial Data

13

D-GN

5060

Low Speed GMLAN Serial Data

14

--

--

Not Used

14

--

--

Not Used

C701 Left Rear Door to Left Rear Door Trim Harness


Object Number: 2013228  Size: CH

Object Number: 2013229  Size: CH

Connector Part Information

  • OEM: 15326110
  • Service: NS
  • Description: 12-Way F (BK)

Connector Part Information

  • OEM: 15326942
  • Service: NS
  • Description: 12-Way M (BK)

C701 Left Rear Door to Left Rear Door Trim Harness

Pin

Wire

Circuit

Function

Pin

Wire

Circuit

Function

A

D-BU/WH

149

Courtesy Lamp Supply Voltage

A

D-BU/WH

149

Courtesy Lamp Supply Voltage

B

GY

157

Interior Lamp Control

B

GY

157

Interior Lamp Control

C

YE

1491

Backlight Lamps Control

C

YE

1491

Backlight Lamps Control

D

BK/WH

351

Ground

D

BK/WH

351

Ground

E

YE

1187

Power Window Switch Left Rear Down Signal

E

YE

1187

Power Window Switch Left Rear Down Signal

F

TN

1859

Left Rear Midrange Speaker Output (+)

F

TN

1859

Left Rear Midrange Speaker Output (+)

G

WH

1959

Left Rear Midrange Speaker Output (-)

G

WH

1959

Left Rear Midrange Speaker Output (-)

H

D-GN

1184

Power Window Switch Right Front Up Signal

H

D-GN

1184

Power Window Switch Right Front Up Signal

J

D-GN

5048

Power Window Switch Left Rear Express Signal

J

D-GN

5048

Power Window Switch Left Rear Express Signal

K

YE

6817

Backlight Lamps Control

K

YE

6817

Backlight Lamps Control

L

RD/WH

2040

Battery Positive Voltage

L

RD/WH

2040

Battery Positive Voltage

M

--

--

Not Used

M

--

--

Not Used

C800 Body to Right Rear Door Harness


Object Number: 823290  Size: CH

Object Number: 1485995  Size: CH

Connector Part Information

  • OEM: 10847017
  • Service: NS
  • Description: 14-Way F (L-GY)

Connector Part Information

  • OEM: 13510971
  • Service: NS
  • Description: 14-Way M

C800 Body to Right Rear Door Harness

Pin

Wire

Circuit

Function

Pin

Wire

Circuit

Function

1

RD/WH

1040

Battery Positive Voltage

1

RD/WH

1040

Battery Positive Voltage

2

RD/WH

840

Battery Positive Voltage

2

RD/WH

840

Battery Positive Voltage

3

TN

294

Fuel Tank Cap Unlock Signal

3

TN

294

Fuel Tank Cap Unlock Signal

4

BK/WH

451

Ground

4

BK/WH

451

Signal Ground

5

OG

1955

Right Rear Midrange Speaker Output (-)

5

OG

1955

Right Rear Midrange Speaker Output (-)

6

TN

1855

Right Rear Midrange Speaker Output (+)

6

TN

1855

Right Rear Midrange Speaker Output (+)

7

BK

450

Ground

7

BK

450

Ground

8

YE

6817

Backlight Lamps Control

8

YE

6817

Backlight Lamps Control

9

RD/WH

2140

Battery Positive Voltage

9

RD/WH

2140

Battery Positive Voltage

10

--

--

Not Used

10

--

--

Not Used

11

D-BU/WH

149

Courtesy Lamp Supply Voltage

11

D-BU/WH

149

Courtesy Lamp Supply Voltage

12

GY

157

Interior Lamp Control

12

GY

157

Interior Lamp Control

13

D-GN

5060

Low Speed GMLAN Serial Data

13

D-GN

5060

Low Speed GMLAN Serial Data

14

--

--

Not Used

14

--

--

Not Used

C801 Right Front Door to Right Front Door Trim Harness


Object Number: 2013228  Size: CH

Object Number: 2013229  Size: CH

Connector Part Information

  • OEM: 15326110
  • Service: NS
  • Description: 12-Way F Dock and Lock (BK)

Connector Part Information

  • OEM: 15326942
  • Service: NS
  • Description: 12-Way M Dock and Lock (BK)

C801 Right Front Door to Right Front Door Trim Harness

Pin

Wire

Circuit

Function

Pin

Wire

Circuit

Function

A

D-BU/WH

149

Courtesy Lamp Supply Voltage

A

D-BU/WH

149

Courtesy Lamp Supply Voltage

B

GY

157

Interior Lamp Control

B

GY

157

Interior Lamp Control

C

YE

1491

Backlight Lamps Control

C

YE

1491

Backlight Lamps Control

D

BK/WH

451

Ground

D

BK/WH

451

Ground

E

OG

1189

Power Window Switch Left Rear Down Signal

E

OG

1189

Power Window Switch Left Rear Down Signal

F

TN

1855

Right Rear Midrange Speaker Output (+)

F

TN

1855

Right Rear Midrange Speaker Output (+)

G

OG

1955

Right Rear Midrange Speaker Output (-)

G

OG/WH

1955

Right Rear Midrange Speaker Output (-)

H

WH

1185

Power Window Switch Right Rear Up Signal

H

WH

1185

Power Window Switch Right Rear Up Signal

J

D-GN

5049

Power Window Switch Right Rear Express Signal

J

D-GN

5049

Power Window Switch Right Rear Express Signal

K

YE

6817

Backlight Lamps Control

K

YE

6817

Backlight Lamps Control

L

RD/WH

2140

Battery Positive Voltage

L

RD/WH

2140

Battery Positive Voltage

M

--

--

Not Used

M

--

--

Not Used