GM Service Manual Online
For 1990-2009 cars only
Makes
🢒
Cadillac
🢒
2008
🢒
SLS
🢒
Roof
🢒
Sunroof
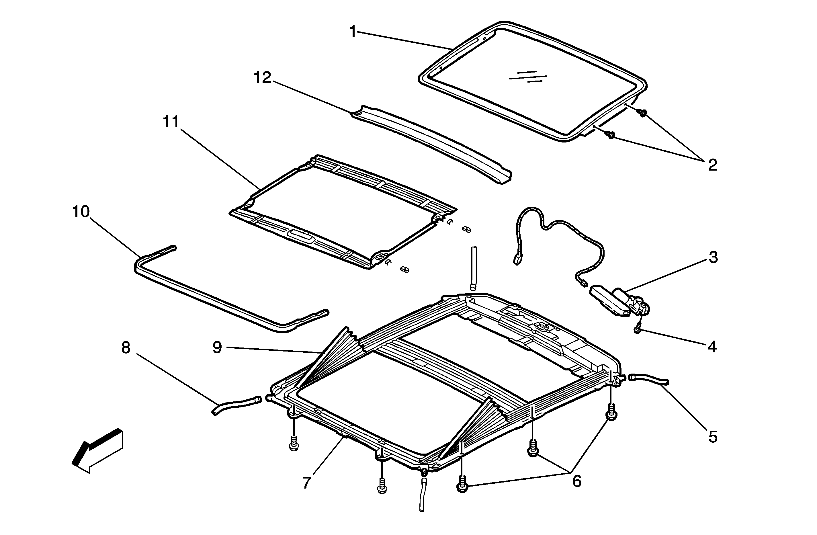
🢒 Power Sunroof Disassembled View
Sunroof Disassembled View
(1)
Sunroof
(2)
Sunroof Screws
(3)
Roof Motor And Control Module Assembly
(4)
Sunroof Motor/Actuator Screws
(5)
Sunroof Drain Hose Rear
(6)
Sunroof Module Assembly Bolts
(7)
Sunroof Module Assembly
(8)
Sunroof Drain Hose Front
(9)
Sunroof Panel Side Opening Closeout Cover
(10)
Roof Drain Panel
(11)
Sunroof Sunshade Panel
(12)
Sunroof Drain Channel