GM Service Manual Online
For 1990-2009 cars only

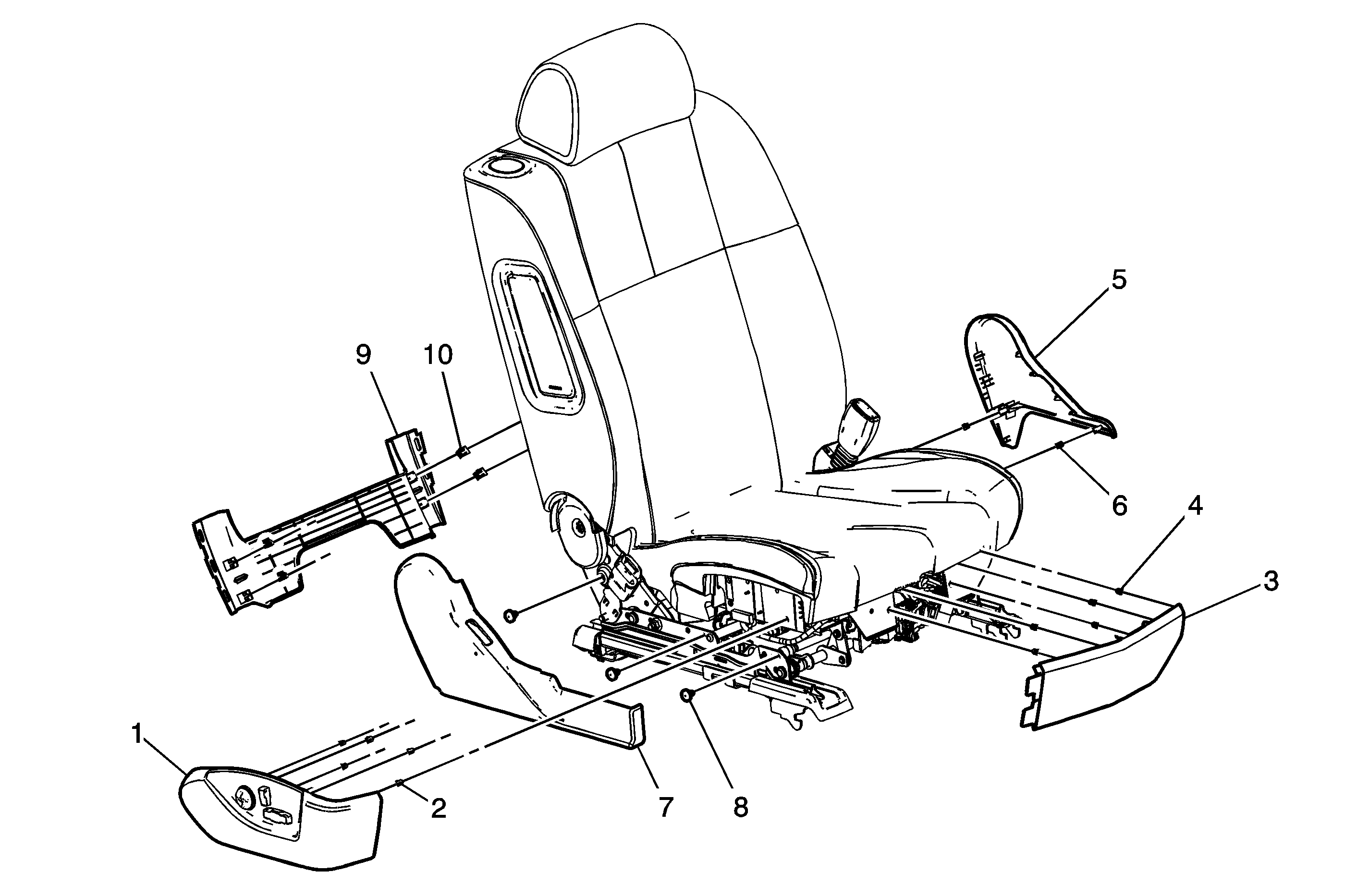
Object Number: 1702626  Size: MF

Callout

Component Name

Preliminary Procedures

Remove the front seats. Refer to Driver or Passenger Seat Replacement.

1

Front Seat Adjuster Switch Trim Panel Assembly

Procedure:

  1. Pry off the switch tim panel assembly.
  2. Disconnect the electrical connector and remove the switch trim panel assembly.

2

Front Seat Front Side Trim Panel

Tip
Pry off the front side trim panel.

3

Front Seat Outside Trim Panel

Tip
Pry off the outside trim panel.

4

Front Seat Inside Trim Panel

Tip
Pry off the inside trim panel.

5

Front Seat Adjuster Rear Trim Panel

Tip
Pry off the adjuster rear trim panel.