GM Service Manual Online
For 1990-2009 cars only

Tools Required

    • J 24433 Pinion Cone and Side Bearing Installer
    • J 42168-16 Spacers
    • J 45010 Getrag Axle Bearing Race Installer
    • J 45013-1 Cover Shim Gage
    • J 45013-2 Gage Assembly
    • J 45013-4 Gage Plate
    • J 45013-6 Depth Gage

    Object Number: 1131579  Size: SH
  1. Use the J 45013-6  (2) drop rod. Loosen the thumb screw and drop the rod through the hole on J 45013-2  (1).
  2. Ensure the rod bottoms out in the bearing cup bore. Snug the thumb screw in order to record the distance.
  3. Install the differential side bearings. Refer to Differential Side Bearings Assemble .

  4. Object Number: 1131678  Size: SH
  5. Use an old ring gear bolt. Attach the J 45013-6  (2) to the differential case as shown.
  6. Ensure that the drop rod aligns with the post of J 45013-4  (1).
  7. Snug the bolt.

  8. Object Number: 1131727  Size: SH
  9. Measure the gap (1) between the rod and the post on J 45013-6  (2). Record the measurement as C1.
  10. Spin the differential case and ensure that the measurement stayed the same.
  11. Subtract the measured distance from 5 mm (0.197 in). This is the differential right shim value C2. Record this distance.
  12. Remove the tools.

  13. Object Number: 1131535  Size: SH
  14. Remove the pinion cage bolts.

  15. Object Number: 1237780  Size: SH
  16. It may be necessary to heat the carrier in order to remove the pinion bearing housing.
  17. Screw the slide hammer into the bolt that holds the shimming tools in the pinion housing.
  18. Pull the housing from the carrier.
  19. Remove all of the shimming tools.

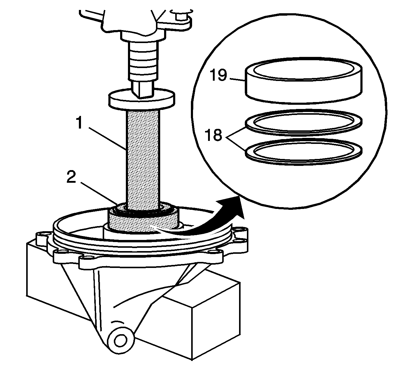
  20. Object Number: 1306511  Size: SH
  21. Install the shims (18) measured for the differential assembly side bearing cup (19).
  22. Lightly lubricate the cup with gear lube.
  23. Using J 24433 and J 45010 and a press, install the bearing cup until it seats.

  24. Object Number: 1131757  Size: SH
  25. For limited slip differential, the ring gear must be properly installed in order to hold the differential case together. Refer to Ring Gear and Differential Housing Assemble .
  26. Install the differential case into the differential carrier.
  27. Install the bearing cup and J 45013-1 on top of the cup as shown.

  28. Object Number: 1131822  Size: SH
  29. Using J 42168-16 , install the bolts, spacer and washer through the cover. Snug the bolts.

  30. Object Number: 1131848  Size: SH
  31. Measure the gap as shown. This is the left side differential bearing shim side.
  32. Remove the bolts, cover and tools.

  33. Object Number: 1306512  Size: SH
  34. Using J 24433 and J 45010 , install the measured shims (18) in the cup bore.
  35. Lightly coat the cup (19) with gear lube.
  36. Press the cup into the bore until it seats.