GM Service Manual Online
For 1990-2009 cars only

Tools Required

    • J 22912-B Split-Plate Bearing Puller
    • J 42162 Getrag Axle Side Gear Compressor

    Object Number: 895607  Size: SH
  1. Remove the 10 ring gear bolts (1) and the ring gear (3) from the differential carrier (2) using a punch and a hammer through the bolt hole. Discard the ring gear bolt (1).

  2. Object Number: 777545  Size: SH
  3. Using the J 22912-B and a press, remove the left side bearing. It may be necessary to cut the cage and remove the rollers so the tool will grip the race.

  4. Object Number: 777547  Size: SH
  5. Using the J 22912-B and a press, remove the right side bearing. It may be necessary to cut the cage and remove the rollers so the tool will grip the race.

  6. Object Number: 1387316  Size: SH
  7. Pry the halves apart using the pry points.

  8. Object Number: 1387317  Size: SH

    Important: Friction discs and separator plates develop specific wear patterns. During disc and plate removal, keep the components in the order in which they were removed.

  9. Remove the axle side gear (107) and clutch pack (110) from the right half (105).

  10. Object Number: 1387318  Size: SH
  11. Remove the clutch pack and axle gear from the right half. Note the thick pressure plate (109) side that has friction material faces away from the gear teeth.

  12. Object Number: 1387319  Size: SH
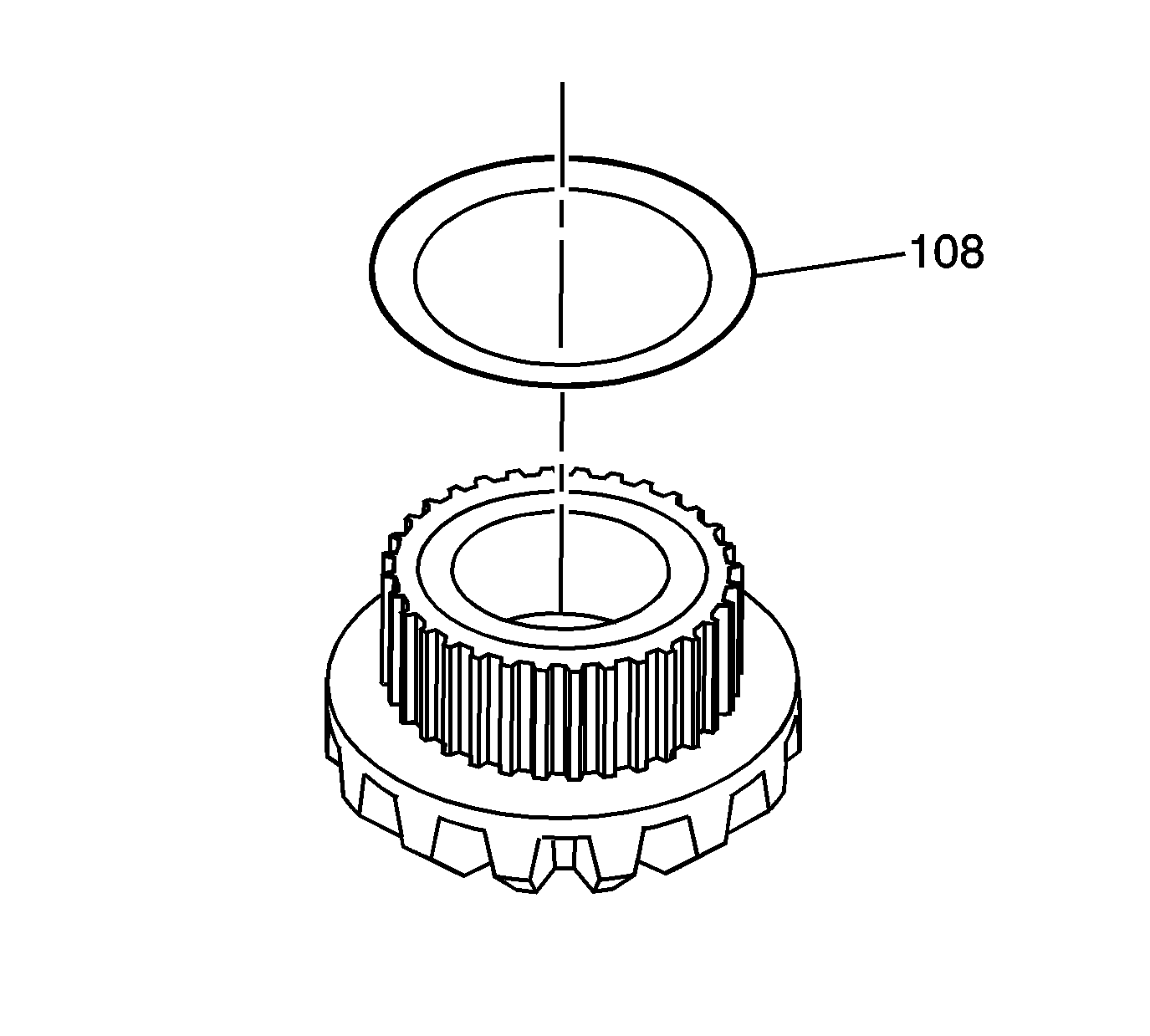
  13. Remove the beveled washer from the axle side gear. Note that the orientation of the beveled washer (108) faces out.

  14. Object Number: 1387320  Size: SH
  15. Tag the clutch pack (110) to indicate the position of the components.

  16. Object Number: 1387321  Size: SH
  17. Using the J 42162 and a press as shown, apply light pressure so the differential shaft can be removed.

  18. Object Number: 1387322  Size: SH
  19. Remove the differential shaft (103). Release pressure from the press.

  20. Object Number: 1387323  Size: SH
  21. Remove the pinion gears (111) and washers (112).

  22. Object Number: 1387318  Size: SH
  23. Remove the clutch pack and axle gear from the left half. Note the thick pressure plate (109) side that has friction material faces away from the gear teeth.

  24. Object Number: 1387319  Size: SH
  25. Remove the beveled washer from the axle side gear. Note that the orientation of the beveled washer (108) faces out.

  26. Object Number: 1387320  Size: SH
  27. Tag the clutch pack (110) to indicate the position of the components.