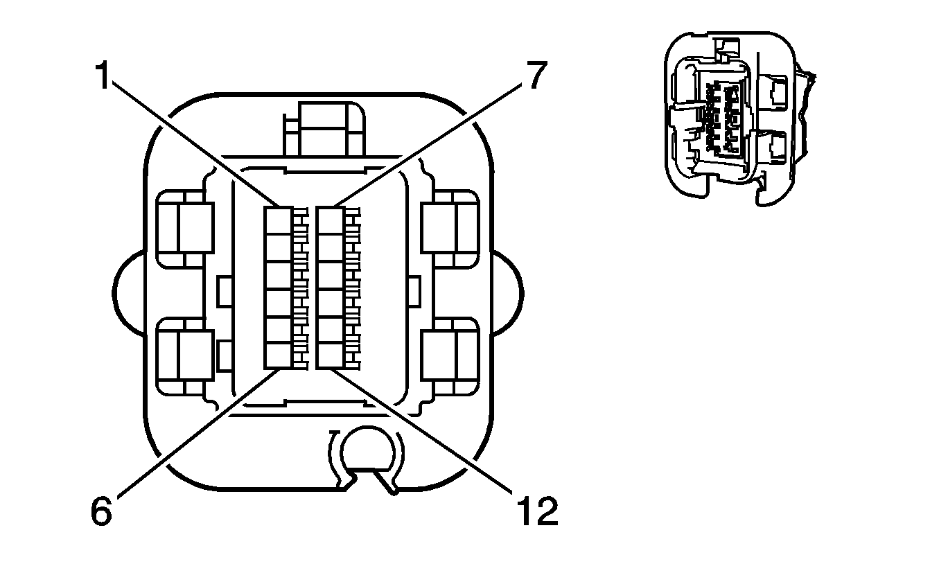
|
| ||||||||||||||
|---|---|---|---|---|---|---|---|---|---|---|---|---|---|---|---|
Connector Part Information |
| Connector Part Information |
| ||||||||||||
Pin | Wire Color | Circuit No. | Function | Pin | Wire Color | Circuit No. | Function | ||||||||
A | TN | 884 | Left Rear Wheel Speed Sensor Signal | A | TN | 884 | Left Rear Wheel Speed Sensor Signal | ||||||||
B | OG | 885 | Left Rear Wheel Speed Sensor Low Reference | B | OG | 885 | Left Rear Wheel Speed Sensor Low Reference | ||||||||
C | BN | 882 | Right Rear Wheel Speed Sensor Signal | C | BN | 882 | Right Rear Wheel Speed Sensor Signal | ||||||||
D | WH | 883 | Right Rear Wheel Speed Sensor Low Reference | D | WH | 883 | Right Rear Wheel Speed Sensor Low Reference | ||||||||
E | PK | 5126 | Afterboil Coolant Pump Relay Control (V92) | E | PK | 5126 | Afterboil Coolant Pump Relay Control | ||||||||
F | D-GN/WH | 465 | Fuel Pump Relay Control - Primary | F | D-GN/WH | 465 | Fuel Pump Relay Control - Primary | ||||||||
G | TN | 452 | Low Reference | G | TN | 452 | Low Reference | ||||||||
H | D-GN | 890 | Fuel Tank Pressure Sensor Signal | H | D-GN | 890 | Fuel Tank Pressure Sensor Signal | ||||||||
J | GY | 2709 | 5-Volt Reference (LH2) | J | GY | 2709 | 5-Volt Reference | ||||||||
J | GY | 596 | 5-Volt Reference (LY7) | ||||||||||||
K | WH | 1310 | EVAP Canister Vent Solenoid Control | K | WH | 1310 | EVAP Canister Vent Solenoid Control | ||||||||
L | L-BU | 715 | Lateral Accelerometer Signal | L | L-BU | 715 | Lateral Accelerometer Signal | ||||||||
M | L-BU | 1937 | Fuel Level Sensor Signal - Secondary | M | L-BU | 1937 | Fuel Level Sensor Signal - Secondary | ||||||||
N | D-BU | 1936 | Fuel Level Sensor Signal - Primary | N | D-BU | 1936 | Fuel Level Sensor Signal - Primary | ||||||||
P | D-BU | 5370 | Long Accelerometer Signal (MX5/MV3) | P | D-BU | 5370 | Long Accelerometer Signal | ||||||||
R | D-BU | 716 | Yaw Rate Sensor Signal | R | D-BU | 716 | Yaw Rate Sensor Signal | ||||||||
S | OG | 5371 | TCC/Brake/Cruise Control Release Switch Signal | S | OG | 5371 | TCC/Brake/Cruise Control Release Switch Signal | ||||||||
|
| ||||||||||||||
|---|---|---|---|---|---|---|---|---|---|---|---|---|---|---|---|
Connector Part Information |
| Connector Part Information |
| ||||||||||||
Pin | Wire Color | Circuit No. | Function | Pin | Wire Color | Circuit No. | Function | ||||||||
A1 | PU | 1807 | Class 2 Serial Data (Primary) | A1 | PU | 1807 | Class 2 Serial Data (Primary) | ||||||||
A2 | L-GN/BK | 1338 | Yaw Rate Sensor Signal | A2 | L-GN/BK | 1338 | Yaw Rate Sensor Signal | ||||||||
A3 | GY/BK | 1337 | 5-Volt Reference | A3 | GY/BK | 1337 | 5-Volt Reference | ||||||||
A4 | PU | 1272 | Low Reference | A4 | PU | 1272 | Low Reference | ||||||||
A5 | TN | 1274 | 5-Volt Reference | A5 | TN | 1274 | 5-Volt Reference | ||||||||
A6 | L-GN | 1763 | Steering Wheel Position Signal A | A6 | L-GN | 1763 | Steering Wheel Position Signal A | ||||||||
A7 | L-BU | 1764 | Steering Wheel Position Signal B | A7 | L-BU | 1764 | Steering Wheel Position Signal B | ||||||||
A8 | L-BU | 1162 | APP Sensor 2 Signal | A8 | L-BU | 1162 | APP Sensor 2 Signal | ||||||||
B1 | WH | 5359 | 5-Volt Reference | B1 | WH | 5359 | 5-Volt Reference | ||||||||
B2 | BN | 5360 | Low Reference | B2 | BN | 5360 | Low Reference | ||||||||
B3 | YE | 5361 | Brake Pedal Position Sensor Signal | B3 | YE | 5361 | Brake Pedal Position Sensor Signal | ||||||||
B4 | BN | 1271 | Low Reference | B4 | BN | 1271 | Low Reference | ||||||||
B5 | WH/BK | 1164 | 5-Volt Reference | B5 | WH/BK | 1164 | 5-Volt Reference | ||||||||
B6 | PU | 1807 | Class 2 Serial Data (Primary) | B6 | PU | 1807 | Class 2 Serial Data (Primary) | ||||||||
B7 | GY | 1884 | Cruise Control Set/Coast and Resume/Accelerate Switch Signal | B7 | GY | 1884 | Cruise Control Set/Coast and Resume/Accelerate Switch Signal | ||||||||
B8 | D-BU | 1537 | ABS Indicator Signal | B8 | D-BU | 1537 | ABS Indicator Signal | ||||||||
C1 | BN/WH | 419 | MIL Control | C1 | BN/WH | 419 | MIL Control | ||||||||
C2 | WH | 121 | Engine Speed Signal | C2 | WH | 121 | Engine Speed Signal | ||||||||
C3 | YE | 5 | Crank Voltage | C3 | YE | 5 | Crank Voltage | ||||||||
C4 | PU | 5526 | TCC Brake Switch | C4 | PU | 5526 | TCC Brake Switch | ||||||||
C5 | TN/BK | 2500 | High Speed GMLAN Serial Data Bus (+) | C5 | TN/BK | 2500 | High Speed GMLAN Serial Data Bus (+) | ||||||||
C6 | TN | 2501 | High Speed GMLAN Serial Data Bus (-) | C6 | TN | 2501 | High Speed GMLAN Serial Data Bus (-) | ||||||||
C7 | BN | 818 | Vehicle Speed Signal | C7 | BN | 818 | Vehicle Speed Signal | ||||||||
C8 | D-BU | 1161 | APP Sensor 1 Signal | C8 | D-BU | 1161 | APP Sensor 1 Signal | ||||||||
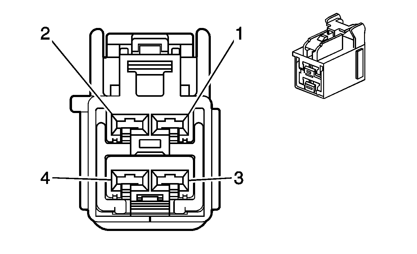
|
| ||||||||||||||
|---|---|---|---|---|---|---|---|---|---|---|---|---|---|---|---|
Connector Part Information |
| Connector Part Information |
| ||||||||||||
Pin | Wire Color | Circuit No. | Function | Pin | Wire Color | Circuit No. | Function | ||||||||
1 | BK/WH | 51 | Ground | 1 | BK/WH | 51 | Ground | ||||||||
2 | -- | -- | Not Used | 2 | -- | -- | Not Used | ||||||||
|
| ||||||||||||||
|---|---|---|---|---|---|---|---|---|---|---|---|---|---|---|---|
Connector Part Information |
| Connector Part Information |
| ||||||||||||
Pin | Wire Color | Circuit No. | Function | Pin | Wire Color | Circuit No. | Function | ||||||||
A | YE | 573 | Sensor B Signal | A | YE | 573 | Sensor B Signal | ||||||||
B | PU | 574 | Low Reference | B | PU | 574 | Low Reference | ||||||||
C | L-GN | 1867 | 12-Volt Reference | C | L-GN | 1867 | 12-Volt Reference | ||||||||
D | BK/WH | 1551 | Ground | D | BK | 1551 | Ground | ||||||||
E | L-GN | 5282 | CMP Actuator Solenoid Control Exhaust Bank 1 | E | L-GN | 5282 | CMP Actuator Solenoid Control Exhaust Bank 1 | ||||||||
F | PU | 5284 | CMP Actuator Solenoid Control Intake Bank 1 | F | PU | 5284 | CMP Actuator Solenoid Control Intake Bank 1 | ||||||||
G | D-BU | 496 | Knock Sensor 1 Signal | G | D-BU | 496 | Knock Sensor 1 Signal | ||||||||
H | GY | 1716 | Low Reference | H | GY | 1716 | Low Reference | ||||||||
J | L-BU | 1876 | Knock Sensor 2 Signal | J | L-BU | 1876 | Knock Sensor 2 Signal | ||||||||
K | GY | 2303 | Low Reference | K | GY | 2303 | Low Reference | ||||||||
L | OG/BK | 5272 | CMP Actuator Solenoid Control Intake Bank 2 | L | OG/BK | 5272 | CMP Actuator Solenoid Control Intake Bank 2 | ||||||||
M | WH/BK | 5283 | CMP Actuator Solenoid Control Exhaust Bank 2 | M | WH | 5283 | CMP Actuator Solenoid Control Exhaust Bank 2 | ||||||||
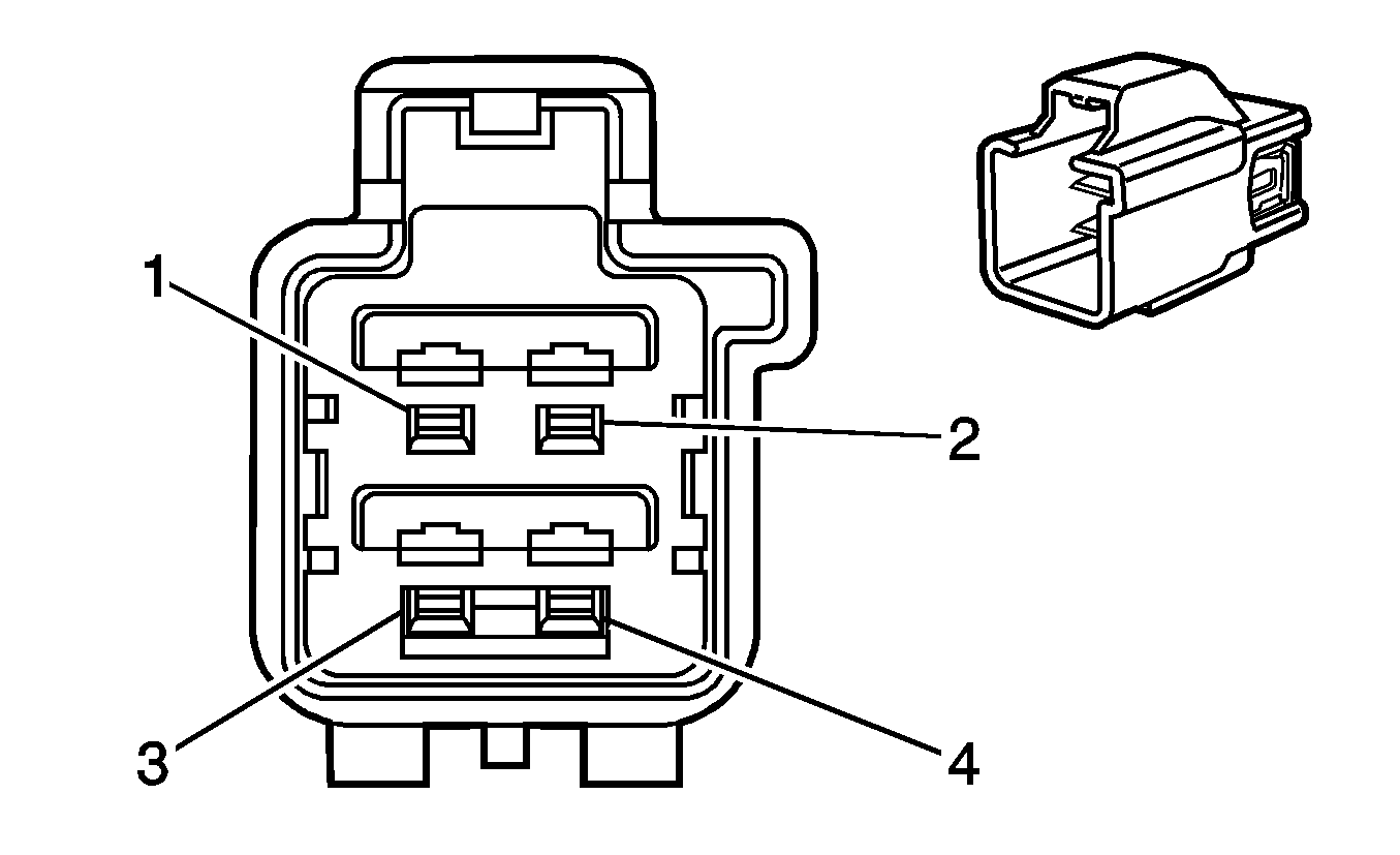
|
| ||||||||||||||
|---|---|---|---|---|---|---|---|---|---|---|---|---|---|---|---|
Connector Part Information |
| Connector Part Information |
| ||||||||||||
Pin | Wire Color | Circuit No. | Function | Pin | Wire Color | Circuit No. | Function | ||||||||
A | OG/BK | 1448 | Left Front Damper Control | A | OG/BK | 1448 | Left Front Damper Control | ||||||||
B | WH | 790 | PWM Serial Data | B | WH | 790 | PWM Serial Data | ||||||||
C | GY | 791 | PWM Serial Data | C | GY | 791 | PWM Serial Data | ||||||||
D | YE/BK | 2085 | PWM Serial Data | D | YE/BK | 2085 | PWM Serial Data | ||||||||
E | PK/WH | 1101 | Damping Lift/Dive Signal | E | PK/WH | 1101 | Damping Lift/Dive Signal | ||||||||
F | L-BU/BK | 1206 | Left Front Suspension Position Sensor Low Reference | F | L-BU/BK | 1206 | Left Front Suspension Position Sensor Low Reference | ||||||||
G | PU/WH | 1205 | Left Front Suspension Position Sensor Voltage Reference | G | PU/WH | 1205 | Left Front Suspension Position Sensor Voltage Reference | ||||||||
H | TN/WH | 1207 | Left Front Suspension Position Sensor Signal | H | TN/WH | 1207 | Left Front Suspension Position Sensor Signal | ||||||||
J | L-BU/BK | 1212 | Right Front Suspension Position Sensor Low Reference | J | L-BU/BK | 1212 | Right Front Suspension Position Sensor Low Reference | ||||||||
K | PU/WH | 1211 | Right Front Suspension Position Sensor Voltage Reference | K | PU/WH | 1211 | Right Front Suspension Position Sensor Voltage Reference | ||||||||
L | L-GN | 1005 | Left Front Damper Low Reference | L | L-GN | 1005 | Left Front Damper Low Reference | ||||||||
M | TN/WH | 1213 | Right Front Suspension Position Sensor Signal | M | TN/WH | 1213 | Right Front Suspension Position Sensor Signal | ||||||||
|
| ||||||||||||||
|---|---|---|---|---|---|---|---|---|---|---|---|---|---|---|---|
Connector Part Information |
| Connector Part Information |
| ||||||||||||
Pin | Wire Color | Circuit No. | Function | Pin | Wire Color | Circuit No. | Function | ||||||||
A | PU | 6 | Starter Solenoid Crank Voltage | A | PU | 6 | Starter Solenoid Crank Voltage | ||||||||
|
| ||||||||||||||
|---|---|---|---|---|---|---|---|---|---|---|---|---|---|---|---|
Connector Part Information |
| Connector Part Information |
| ||||||||||||
Pin | Wire Color | Circuit No. | Function | Pin | Wire Color | Circuit No. | Function | ||||||||
A | PK/BK | 5291 | Ignition 1 Voltage | A | PK/BK | 5291 | Ignition 1 Voltage | ||||||||
B | -- | -- | Not Used | B | -- | -- | Not Used | ||||||||
C | D-GN | 59 | A/C Compressor Clutch Supply Voltage | C | D-GN | 59 | A/C Compressor Clutch Supply Voltage | ||||||||
D | PK/BK | 5292 | Ignition 1 Voltage | D | PK/BK | 5292 | Ignition 1 Voltage | ||||||||
E | PU | 6 | Starter Solenoid Crank Voltage | E | PU | 6 | Starter Solenoid Crank Voltage | ||||||||
F | PK/BK | 5293 | Ignition 1 Voltage | F | PK/BK | 5293 | Ignition 1 Voltage | ||||||||
G | BK/WH | 751 | Ground | G | BK/WH | 751 | Ground | ||||||||
|
| ||||||||||||||
|---|---|---|---|---|---|---|---|---|---|---|---|---|---|---|---|
Connector Part Information |
| Connector Part Information |
| ||||||||||||
Pin | Wire Color | Circuit No. | Function | Pin | Wire Color | Circuit No. | Function | ||||||||
A | PU | 2234 | Front Fog Lamp Supply Voltage | A | BK | 2234 | Front Fog Lamp Supply Voltage | ||||||||
B | D-GN | 5365 | Right DRL/Turn Supply Voltage (w/o T62/T65) | B | WH | 5365 | Right DRL/Turn Supply Voltage (w/o T62/T65) | ||||||||
D-BU/WH | 1315 | Right Front Turn Signal Lamp Supply Voltage (T62/T65) | WH | 1315 | Right Front Turn Signal Lamp Supply Voltage (T62/T65) | ||||||||||
C | BK | 250 | Ground | C | BK | 250 | Ground | ||||||||
D | BK | 250 | Ground | D | WH | 250 | Ground | ||||||||
|
| ||||||||||||||
|---|---|---|---|---|---|---|---|---|---|---|---|---|---|---|---|
Connector Part Information |
| Connector Part Information |
| ||||||||||||
Pin | Wire Color | Circuit No. | Function | Pin | Wire Color | Circuit No. | Function | ||||||||
A | PU | 2234 | Front Fog Lamp Supply Voltage | A | BK | 2234 | Front Fog Lamp Supply Voltage | ||||||||
B | D-BU | 5364 | Left DRL/Turn Supply Voltage (w/o T62/T65) | B | WH | 5364 | Left DRL/Turn Supply Voltage (w/o T62/T65) | ||||||||
L-BU/WH | 1314 | Left Front Turn Signal Lamp Supply Voltage (T62/T65) | WH | 1314 | Left Front Turn Signal Lamp Supply Voltage (T62/T65) | ||||||||||
C | BK | 250 | Ground | C | BK | 250 | Ground | ||||||||
D | BK | 250 | Ground | D | WH | 250 | Ground | ||||||||
|
| ||||||||||||||
|---|---|---|---|---|---|---|---|---|---|---|---|---|---|---|---|
Connector Part Information |
| Connector Part Information |
| ||||||||||||
Pin | Wire Color | Circuit No. | Function | Pin | Wire Color | Circuit No. | Function | ||||||||
A | YE | 712 | Left Headlamp Low Beam Supply Voltage | A | TN/WH | 712 | Left Headlamp Low Beam Supply Voltage | ||||||||
B | D-GN/WH | 711 | Left Headlamp High Beam Supply Voltage | B | L-GN/BK | 711 | Left Headlamp High Beam Supply Voltage | ||||||||
C | PU | 709 | Left Park Lamp Supply Voltage | C | BN/WH | 709 | Left Park Lamp Supply Voltage | ||||||||
D | BK | 250 | Ground | D | BK | 250 | Ground | ||||||||
E-M | -- | -- | Not Used | E-M | -- | -- | Not Used | ||||||||
|
| ||||||||||||||
|---|---|---|---|---|---|---|---|---|---|---|---|---|---|---|---|
Connector Part Information |
| Connector Part Information |
| ||||||||||||
Pin | Wire Color | Circuit No. | Function | Pin | Wire Color | Circuit No. | Function | ||||||||
A | YE | 712 | Left Headlamp Low Beam Supply Voltage | A | YE | 712 | Left Headlamp Low Beam Supply Voltage | ||||||||
B | D-GN/WH | 711 | Left Headlamp High Beam Supply Voltage | B | D-GN/WH | 711 | Left Headlamp High Beam Supply Voltage | ||||||||
C | PU | 709 | Left Park Lamp Supply Voltage | C | PU | 709 | Left Park Lamp Supply Voltage | ||||||||
D | BK | 250 | Ground | D | BK | 250 | Ground | ||||||||
E | BK | 250 | Ground | E | BK | 250 | Ground | ||||||||
F-M | -- | -- | Not Used | F-M | -- | -- | Not Used | ||||||||
|
| ||||||||||||||
|---|---|---|---|---|---|---|---|---|---|---|---|---|---|---|---|
Connector Part Information |
| Connector Part Information |
| ||||||||||||
Pin | Wire Color | Circuit No. | Function | Pin | Wire Color | Circuit No. | Function | ||||||||
A | TN/WH | 712 | Left Headlamp Low Beam Supply Voltage | A | TN/WH | 712 | Left Headlamp Low Beam Supply Voltage | ||||||||
B | BN/WH | 1472 | Left Park Lamp Supply Voltage | B | BN/WH | 1472 | Left Park Lamp Supply Voltage | ||||||||
C | WH/BK | 5043 | Keyword 2000 Serial Data | C | WH/BK | 5043 | Keyword 2000 Serial Data | ||||||||
D | GY | 868 | Headlamp Leveling Switch Bit 1 Signal | D | GY | 868 | Headlamp Leveling Switch Bit 1 Signal | ||||||||
E | GY | 868 | Headlamp Leveling Switch Bit 1 Signal | E | GY | 868 | Headlamp Leveling Switch Bit 1 Signal | ||||||||
F | BK | 250 | Ground | F | BK | 250 | Ground | ||||||||
G | L-GN/BK | 711 | Left Headlamp High Beam Supply Voltage | G | L-GN/BK | 711 | Left Headlamp High Beam Supply Voltage | ||||||||
H | PK | 1439 | Ignition 1 Voltage | H | PK | 1439 | Ignition 1 Voltage | ||||||||
J | -- | -- | Not Used | J | -- | -- | Not Used | ||||||||
K | BN/WH | 709 | Left Park Lamp Supply Voltage | K | BN/WH | 709 | Left Park Lamp Supply Voltage | ||||||||
L | -- | -- | Not Used | L | -- | -- | Not Used | ||||||||
M | BK | 250 | Ground | M | BK | 250 | Ground | ||||||||
|
| ||||||||||||||
|---|---|---|---|---|---|---|---|---|---|---|---|---|---|---|---|
Connector Part Information |
| Connector Part Information |
| ||||||||||||
Pin | Wire Color | Circuit No. | Function | Pin | Wire Color | Circuit No. | Function | ||||||||
A | TN/WH | 312 | Right Headlamp Low Beam Supply Voltage | A | TN/WH | 312 | Right Headlamp Low Beam Supply Voltage | ||||||||
B | L-GN/BK | 311 | Right Headlamp High Beam Supply Voltage | B | L-GN/BK | 311 | Right Headlamp High Beam Supply Voltage | ||||||||
C | BN/WH | 309 | Right Park Lamp Supply Voltage | C | BN/WH | 309 | Right Park Lamp Supply Voltage | ||||||||
D | BK | 250 | Ground | D | BK | 250 | Ground | ||||||||
E-M | -- | -- | Not Used | E-M | -- | -- | Not Used | ||||||||
|
| ||||||||||||||||
|---|---|---|---|---|---|---|---|---|---|---|---|---|---|---|---|---|---|
Connector Part Information |
| Connector Part Information |
| ||||||||||||||
Pin | Wire Color | Circuit No. | Function | Pin | Wire Color | Circuit No. | Function | ||||||||||
A | TN/WH | 312 | Right Headlamp Low Beam Supply Voltage | A | TN/WH | 312 | Right Headlamp Low Beam Supply Voltage | ||||||||||
B | L-GN/BK | 311 | Right Headlamp High Beam Supply Voltage | B | L-GN/BK | 311 | Right Headlamp High Beam Supply Voltage | ||||||||||
C | BN/WH | 309 | Right Park Lamp Supply Voltage | C | BN/WH | 309 | Right Park Lamp Supply Voltage | ||||||||||
D | BK | 250 | Ground | D | BK | 250 | Ground | ||||||||||
E | BK | 250 | Ground | E | BK | 250 | Ground | ||||||||||
F-M | -- | -- | Not Used | F-M | -- | -- | Not Used | ||||||||||
|
| ||||||||||||||
|---|---|---|---|---|---|---|---|---|---|---|---|---|---|---|---|
Connector Part Information |
| Connector Part Information |
| ||||||||||||
Pin | Wire Color | Circuit No. | Function | Pin | Wire Color | Circuit No. | Function | ||||||||
A | TN/WH | 312 | Right Headlamp Low Beam Supply Voltage | A | TN/WH | 312 | Right Headlamp Low Beam Supply Voltage | ||||||||
B | BN/WH | 1473 | Right Park Lamp Supply Voltage | B | BN/WH | 1473 | Right Park Lamp Supply Voltage | ||||||||
C | WH/BK | 5043 | Keyword 2000 Serial Data | C | WH/BK | 5043 | Keyword 2000 Serial Data | ||||||||
D | GY | 868 | Headlamp Leveling Switch Bit 1 Signal | D | GY | 868 | Headlamp Leveling Switch Bit 1 Signal | ||||||||
E | GY | 868 | Headlamp Leveling Switch Bit 1 Signal | E | GY | 868 | Headlamp Leveling Switch Bit 1 Signal | ||||||||
F | BK | 250 | Ground | F | BK | 250 | Ground | ||||||||
G | L-GN/BK | 311 | Right Headlamp High Beam Supply Voltage | G | L-GN/BK | 311 | Right Headlamp High Beam Supply Voltage | ||||||||
H | PK | 1439 | Ignition 1 Voltage | H | PK | 1439 | Ignition 1 Voltage | ||||||||
J | -- | -- | Not Used | J | -- | -- | Not Used | ||||||||
K | BN/WH | 309 | Right Park Lamp Supply Voltage | K | BN/WH | 309 | Right Park Lamp Supply Voltage | ||||||||
L | -- | -- | Not Used | L | -- | -- | Not Used | ||||||||
M | BK | 250 | Ground | M | BK | 250 | Ground | ||||||||
|
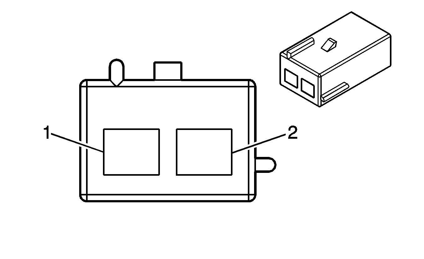
| ||||||||||||||
|---|---|---|---|---|---|---|---|---|---|---|---|---|---|---|---|
Connector Part Information |
| Connector Part Information |
| ||||||||||||
Pin | Wire Color | Circuit No. | Function | Pin | Wire Color | Circuit No. | Function | ||||||||
1 | BK | 1150 | Ground | 1 | BK | 1150 | Ground | ||||||||
2 | BK | 1150 | Ground | 2 | BK | 1150 | Ground | ||||||||
|
| ||||||||||||||
|---|---|---|---|---|---|---|---|---|---|---|---|---|---|---|---|
Connector Part Information |
| Connector Part Information |
| ||||||||||||
Pin | Wire Color | Circuit No. | Function | Pin | Wire Color | Circuit No. | Function | ||||||||
A | PK/BK | 5292 | Ignition 1 Voltage | A | PK | 5292 | Ignition 1 Voltage | ||||||||
B | BK/WH | 1451 | Ground | B | BK | 1451 | Ground | ||||||||
C | BN/WH | 2130 | Low Reference | C | BN | 2130 | Low Reference | ||||||||
D | D-GN/WH | 2124 | IC 4 Control | D | L-BU | 2124 | IC 4 Control | ||||||||
E | L-BU/WH | 2126 | IC 6 Control | E | D-GN | 2126 | IC 6 Control | ||||||||
F | PU/WH | 2128 | IC 8 Control | F | RD | 2128 | IC 8 Control | ||||||||
G | OG/WH | 2122 | IC 2 Control | G | PU | 2122 | IC 2 Control | ||||||||
|
| ||||||||||||||
|---|---|---|---|---|---|---|---|---|---|---|---|---|---|---|---|
Connector Part Information |
| Connector Part Information |
| ||||||||||||
Pin | Wire Color | Circuit No. | Function | Pin | Wire Color | Circuit No. | Function | ||||||||
A | PK/BK | 5291 | Ignition 1 Voltage | A | PK | 5291 | Ignition 1 Voltage | ||||||||
B | BK/WH | 1451 | Ground | B | BK | 1451 | Ground | ||||||||
C | BN | 2129 | Low Reference | C | BN | 2129 | Low Reference | ||||||||
D | D-GN | 2125 | IC 5 Control | D | L-BU | 2125 | IC 5 Control | ||||||||
E | L-BU | 2123 | IC 3 Control | E | D-GN | 2123 | IC 3 Control | ||||||||
F | PU | 2121 | IC 1 Control | F | OG | 2121 | IC 1 Control | ||||||||
G | OG | 2127 | IC 7 Control | G | PU | 2127 | IC 7 Control | ||||||||
|
| ||||||||||||||
|---|---|---|---|---|---|---|---|---|---|---|---|---|---|---|---|
Connector Part Information |
| Connector Part Information |
| ||||||||||||
Pin | Wire Color | Circuit No. | Function | Pin | Wire Color | Circuit No. | Function | ||||||||
1 | OG | 400 | Output Speed Sensor (OSS) - High Signal | 1 | YE | 400 | Output Speed Sensor (OSS) - High Signal | ||||||||
2 | BN | 1786 | Park/Neutral Signal | 2 | OG/BK | 1786 | Park/Neutral Signal | ||||||||
3 | WH | 401 | Output Speed Sensor (OSS) - Low Signal | 3 | PU | 401 | Output Speed Sensor (OSS) - Low Signal | ||||||||
4 | BK | 1551 | Ground (LH2) | 4 | BK | 1551 | Ground (LH2) | ||||||||
5 | GY | 898 | 4-5 Shift Solenoid Valve Control | 5 | PU | 898 | 4-5 Shift Solenoid Valve Control | ||||||||
6 | WH | 2762 | TFT Sensor Low Reference | 6 | TN | 2762 | TFT Sensor Low Reference | ||||||||
7 | BK | 772 | Transmission Range (TR) - Signal B | 7 | YE | 772 | (TR) - Signal B | ||||||||
8 | WH | 1229 | PC Solenoid Valve Low Control | 8 | L-BU/WH | 1229 | PC Solenoid Valve Low Control | ||||||||
9 | BU | 1223 | 2-3 Shift Solenoid Valve Control | 9 | YE/BK | 1223 | 2-3 Shift Solenoid Valve Control | ||||||||
10 | RD | 1227 | TFT Sensor Signal | 10 | YE/BK | 1227 | TFT Sensor Signal | ||||||||
11 | GY | 776 | (TR) - Signal P | 11 | WH | 776 | (TR) - Signal P | ||||||||
12 | -- | -- | Not Used | 12 | -- | -- | Not Used | ||||||||
13 | GN | 1228 | PC Solenoid Valve High Control | 13 | OG/BK | 1228 | PC Solenoid Valve High Control | ||||||||
14 | BK | 1222 | 1-2 Shift Solenoid Valve Control | 14 | L-GN | 1222 | 1-2 Shift Solenoid Valve Control | ||||||||
15 | WH | 1231 | ISS Low Signal | 15 | D-BU/WH | 1231 | ISS Low Signal | ||||||||
16 | RD | 771 | (TR) - Signal A | 16 | TN/WH | 771 | (TR) - Signal A | ||||||||
17 | WH | 1525 | Solenoid Supply Voltage | 17 | OG | 1525 | Solenoid Supply Voltage | ||||||||
18 | YE | 1230 | ISS High Signal | 18 | OG/BK | 1230 | ISS High Signal | ||||||||
19 | BU | 773 | (TR) - Signal C | 19 | GY | 773 | (TR) - Signal C | ||||||||
20 | BN | 418 | TCC PWM Solenoid Valve Control | 20 | BN | 418 | TCC PWM Solenoid Valve Control | ||||||||
|
| ||||||||||||||
|---|---|---|---|---|---|---|---|---|---|---|---|---|---|---|---|
Connector Part Information |
| Connector Part Information |
| ||||||||||||
Pin | Wire Color | Circuit No. | Function | Pin | Wire Color | Circuit No. | Function | ||||||||
1 | BK | 350 | Ground | 1 | BK | 350 | Ground | ||||||||
2 | PU | 1807 | Class 2 Serial Data (Primary) | 2 | PU | 1807 | Class 2 Serial Data (Primary) | ||||||||
3 | BK/WH | 351 | Ground | 3 | BK/WH | 351 | Ground | ||||||||
4 | WH | 17 | Stop Lamp Switch Signal (w/o T79) | 4 | WH | 17 | Stop Lamp Switch Signal (w/o T79) | ||||||||
5 | D-GN | 5953 | Adjustable Brake Pedal Position Sensor Signal (JF4) | 5 | D-GN | 5953 | Adjustable Brake Pedal Position Sensor Signal (JF4) | ||||||||
6 | YE | 354 | Discriminating Sensor - Signal | 6 | YE | 354 | Discriminating Sensor - Signal | ||||||||
7 | TN/OG | 5045 | Front End Sensor - Signal | 7 | TN/OG | 5045 | Front End Sensor - Signal | ||||||||
8 | YE | 443 | Accessory Voltage | 8 | YE | 443 | Accessory Voltage | ||||||||
9 | D-BU/WH | 149 | Courtesy Lamp Supply Voltage | 9 | D-BU/WH | 149 | Courtesy Lamp Supply Voltage | ||||||||
D-BU/WH | 149 | Courtesy Lamp Supply Voltage | |||||||||||||
10 | GY | 157 | Courtesy Lamp Control | 10 | GY | 157 | Courtesy Lamp Control | ||||||||
GY | 157 | Courtesy Lamp Control | |||||||||||||
11 | YE | 32 | Instrument Panel Lamp Fuse Supply Voltage - 1 | 11 | YE | 32 | Instrument Panel Lamp Fuse Supply Voltage - 1 | ||||||||
12 | PU | 709 | Left Park Lamp Supply Voltage (w/o T79) | 12 | PU | 709 | Left Park Lamp Supply Voltage | ||||||||
13 | RD/WH | 540 | Battery Positive Voltage | 13 | RD/WH | 540 | Battery Positive Voltage | ||||||||
14 | TN | 782 | Memory Seat/Mirror Sensor Low Reference (JF4) | 14 | TN | 782 | Memory Seat/Mirror Sensor Low Reference (JF4) | ||||||||
TN | 782 | Memory Seat/Mirror Sensor Low Reference (JF4) | |||||||||||||
15 | OG | 300 | Ignition 3 Voltage | 15 | OG | 300 | Ignition 3 Voltage | ||||||||
16 | OG/BK | 5285 | Adjustable Pedals Motor Rearward Control (JF4) | 16 | OG/BK | 5285 | Adjustable Pedals Motor Rearward Control (JF4) | ||||||||
17 | PU | 5130 | Adjustable Pedals Relay Forward Control (JF4) | 17 | PU | 5130 | Adjustable Pedals Relay Forward Control (JF4) | ||||||||
18 | PU | 5286 | Adjustable Pedals Motor Forward Control (JF4) | 18 | PU | 5286 | Adjustable Pedals Motor Forward Control (JF4) | ||||||||
19 | BN | 818 | Vehicle Speed Signal | 19 | BN | 818 | Vehicle Speed Signal | ||||||||
BN | 818 | Vehicle Speed Signal | |||||||||||||
20 | D-BU | 5952 | Adjustable Pedal Position Sensor Brake Signal (JF4) | 20 | D-BU | 5952 | Adjustable Pedal Position Sensor Brake Signal (JF4) | ||||||||
21 | GY | 788 | 5-Volt Reference (JF4) | 21 | GY | 788 | 5-Volt Reference (JF4) | ||||||||
GY | 788 | 5-Volt Reference (JF4) | |||||||||||||
22 | BN | 41 | Ignition 3 Voltage | 22 | BN | 41 | Ignition 3 Voltage | ||||||||
23 | YE | 5356 | Left Outage Detect (w/o T79) | 23 | YE | 5356 | Left Outage Detect (w/o T79) | ||||||||
24 | BN | 141 | Ignition 3 Voltage | 24 | BN | 141 | Ignition 3 Voltage | ||||||||
25 | YE | 18 | Left Rear Stop/Turn Lamp Supply Voltage (w/o T79) | 25 | YE | 18 | Left Rear Stop/Turn Lamp Supply Voltage (w/o T79) | ||||||||
YE/BK | 1334 | Left Rear Turn Signal Lamp Supply Voltage (T79) | YE/BK | 1334 | Left Rear Turn Signal Lamp Supply Voltage (T62/T65) | ||||||||||
26 | YE | 5129 | Adjustable Pedals Relay Rearward Control (JF4) | 26 | YE | 5129 | Adjustable Pedals Relay Rearward Control (JF4) | ||||||||
|
| ||||||||||||||
|---|---|---|---|---|---|---|---|---|---|---|---|---|---|---|---|
Connector Part Information |
| Connector Part Information |
| ||||||||||||
Pin | Wire Color | Circuit No. | Function | Pin | Wire Color | Circuit No. | Function | ||||||||
1 | BK | 450 | Ground | 1 | BK | 450 | Ground | ||||||||
2 | D-GN | 19 | Right Rear Stop/Turn Lamp Supply Voltage (w/o T79) | 2 | D-GN | 19 | Right Rear Stop/Turn Lamp Supply Voltage (w/o T79) | ||||||||
D-GN/WH | 1335 | Right Mirror Turn Signal Lamp Supply Voltage (T79) | D-GN/WH | 1335 | Right Mirror Turn Signal Lamp Supply Voltage (T79/T62/T65) | ||||||||||
3 | GY/BK | 1337 | 5-Volt Reference | 3 | GY/BK | 1337 | 5-Volt Reference | ||||||||
GY/BK | 1337 | 5-Volt Reference | |||||||||||||
4 | L-GN/BK | 1338 | Yaw Rate Sensor Signal | 4 | L-GN/BK | 1338 | Yaw Rate Sensor Signal | ||||||||
L-GN/BK | 1338 | Yaw Rate Sensor Signal | |||||||||||||
5 | PU | 1807 | Class 2 Serial Data (Primary) | 5 | PU | 1807 | Class 2 Serial Data (Primary) | ||||||||
6 | YE | 5005 | Instrument Panel Lamps Dimmer Switch Low Reference | 6 | YE | 5005 | Instrument Panel Lamps Dimmer Switch Low Reference | ||||||||
7 | D-BU/WH | 149 | Courtesy Lamp Supply Voltage | 7 | D-BU/WH | 149 | Courtesy Lamp Supply Voltage | ||||||||
D-BU/WH | 149 | Courtesy Lamp Supply Voltage | |||||||||||||
8 | BN/WH | 309 | Right Park Lamp Supply Voltage (w/o T79) | 8 | BN/WH | 309 | Right Park Lamp Supply Voltage (w/o T79) | ||||||||
9 | GY | 5127 | Afterboil Coolant Pump Supply Voltage (LH2 and V92) | 9 | GY | 5127 | Afterboil Coolant Pump Supply Voltage (LH2 and V92) | ||||||||
10 | YE | 1491 | Backlight Lamps Control | 10 | YE | 1491 | Backlight Lamps Control | ||||||||
YE | 1491 | Backlight Lamps Control | |||||||||||||
11 | D-GN | 44 | Instrument Panel Lamps Dimmer Switch Signal | 11 | D-GN | 44 | Instrument Panel Lamps Dimmer Switch Signal | ||||||||
12 | PU | 1472 | Left Park Lamp Supply Voltage (T79) | 12 | PU | 1472 | Left Park Lamp Supply Voltage (T79) | ||||||||
13 | BN/WH | 1473 | Right Park Lamp Supply Voltage (T79) | 13 | BN/WH | 1473 | Right Park Lamp Supply Voltage (T79) | ||||||||
14 | BK/WH | 451 | Ground | 14 | BK/WH | 451 | Ground | ||||||||
15 | PK | 3 | Ignition 1 Voltage | 15 | PK | 3 | Ignition 1 Voltage | ||||||||
16 | BN | 341 | Ignition 3 Voltage (TR7) | 16 | BN | 341 | Ignition 3 Voltage (TR7) | ||||||||
17 | RD/WH | 3540 | Battery Positive Voltage | 17 | RD/WH | 3540 | Battery Positive Voltage | ||||||||
18 | GY | 157 | Courtesy Lamp Control | 18 | GY | 157 | Courtesy Lamp Control | ||||||||
GY | 157 | Courtesy Lamp Control | |||||||||||||
19 | GY | 868 | Headlamp Leveling Switch Bit 1 Signal (TR7) | 19 | GY | 868 | Headlamp Leveling Switch Bit 1 Signal (TR7) | ||||||||
20 | D-GN/WH | 1419 | Right Rear Turn Signal Switch Signal (T79) | 20 | D-GN/WH | 1419 | Right Rear Turn Signal Switch Signal (T79) | ||||||||
21 | YE/BK | 1418 | Left Rear Turn Signal Switch Signal (T79) | 21 | YE/BK | 1418 | Left Rear Turn Signal Switch Signal (T79) | ||||||||
22 | PK-BK | 1597 | Courtesy Lamps Switch On Signal | 22 | PK-BK | 1597 | Courtesy Lamps Switch On Signal | ||||||||
23 | PU | 5357 | Right Outage Detect | 23 | PU | 5357 | Right Outage Detect | ||||||||
24 | L-BU/BK | 1688 | 5-Volt Reference | 24 | L-BU/BK | 1688 | 5-Volt Reference | ||||||||
25 | YE | 43 | Accessory Voltage | 25 | YE | 43 | Accessory Voltage | ||||||||
26 | -- | -- | Not Used | 26 | -- | -- | Not Used | ||||||||
|
| ||||||||||||||
|---|---|---|---|---|---|---|---|---|---|---|---|---|---|---|---|
Connector Part Information |
| Connector Part Information |
| ||||||||||||
Pin | Wire Color | Circuit No. | Function | Pin | Wire Color | Circuit No. | Function | ||||||||
A1 | BN | 1356 | Flash To Pass Switch Signal | A1 | BN | 1356 | Flash To Pass Switch Signal | ||||||||
A2 | -- | -- | Not Used | A2 | -- | -- | Not Used | ||||||||
A3 | TN/WH | 1969 | Headlamp Relay Control/Headlamp High Beam Relay Control | A3 | BK/WH | 1969 | Headlamp Relay Control/Headlamp High Beam Relay Control | ||||||||
TN/WH | 1969 | Headlamp Relay Control/Headlamp High Beam Relay Control | |||||||||||||
A4 | PK/WH | 1970 | Headlamp Low Beam Relay Control/Headlamp Driver Module Control | A4 | L-GN | 1970 | Headlamp Low Beam Relay Control/Headlamp Driver Module Control | ||||||||
PK/WH | 1970 | Headlamp Low Beam Relay Control/Headlamp Driver Module Control | |||||||||||||
A5 | TN | 28 | Horn Relay Control | A5 | BK/WH | 28 | Horn Relay Control | ||||||||
TN | 28 | Horn Relay Control | |||||||||||||
A6 | BK/WH | 351 | Ground | A6 | BK/WH | 351 | Ground | ||||||||
A7 | PU | 1807 | Class 2 Serial Data (Primary) | A7 | PU | 1807 | Class 2 Serial Data (Primary) | ||||||||
A8 | OG/BK | 5285 | Adjustable Pedals Motor Rearward Control (JF4) | A8 | OG/BK | 5285 | Adjustable Pedals Motor Rearward Control (JF4) | ||||||||
B1 | -- | -- | Not Used | B1 | L-BU | -- | Not Used | ||||||||
B2 | OG | 192 | Front Fog Lamp Switch Signal | B2 | OG | 192 | Front Fog Lamp Switch Signal | ||||||||
B3 | WH | 103 | Headlamp Switch Headlamps On Signal | B3 | WH | 103 | Headlamp Switch Headlamps On Signal | ||||||||
B4 | BN/WH | 301 | Park Lamp Switch On Signal | B4 | BN/WH | 301 | Park Lamp Switch On Signal | ||||||||
B5 | PU | 1783 | Twilight Sentinel Delay Signal | B5 | PU | 1783 | Twilight Sentinel Delay Signal | ||||||||
B6 | -- | -- | Not Used | B6 | -- | -- | Not Used | ||||||||
B7 | L-GN | 80 | Key In Ignition Switch Signal | B7 | TN | 80 | Key In Ignition Switch Signal | ||||||||
B8 | D-BU | 477 | Windshield Wiper Switch Signal 1 | B8 | D-BU | 477 | Windshield Wiper Switch Signal 1 | ||||||||
B9 | PU | 92 | Windshield Wiper Motor High Speed | B9 | PU | 92 | Windshield Wiper Motor High Speed | ||||||||
B10 | WH | 1538 | Windshield Wiper Switch On Signal | B10 | WH | 1538 | Windshield Wiper Switch On Signal | ||||||||
B11 | YE | 43 | Accessory Voltage | B11 | YE | 43 | Accessory Voltage | ||||||||
B12 | GY | 478 | Windshield Wiper Switch Signal 2 | B12 | GY | 478 | Windshield Wiper Switch Signal 2 | ||||||||
C1 | PU | 1375 | Remote Radio Control Supply Voltage | C1 | PU | 1375 | Remote Radio Control Supply Voltage | ||||||||
C2 | RD/WH | 1440 | Battery Positive Voltage | C2 | OG | 1440 | Battery Positive Voltage | ||||||||
C3 | YE | 343 | Accessory Voltage | C3 | YE | 343 | Accessory Voltage | ||||||||
C4 | YE | 1491 | Backlight Lamps Control | C4 | YE | 1491 | Backlight Lamps Control | ||||||||
C5 | BK | 350 | Ground | C5 | BK | 350 | Ground | ||||||||
C6 | PU/WH | 5025 | Ignition Lock Cylinder Control Actuator Supply Voltage | C6 | PU | 5025 | Ignition Lock Cylinder Control Actuator Supply Voltage | ||||||||
C7 | L-BU/WH | 1414 | Left Turn Signal Switch Signal | C7 | L-BU/WH | 1414 | Left Turn Signal Switch Signal | ||||||||
C8 | D-BU/WH | 1415 | Right Turn Signal Switch Signal | C8 | D-BU/WH | 1415 | Right Turn Signal Switch Signal | ||||||||
C9 | PK | 3 | Ignition 1 Voltage | C9 | PK | 3 | Ignition 1 Voltage | ||||||||
C10 | YE | 5 | Crank Voltage | C10 | YE | 5 | Crank Voltage | ||||||||
C11 | OG | 300 | Ignition 3 Voltage | C11 | OG | 300 | Ignition 3 Voltage | ||||||||
C12 | D-BU | 1796 | Steering Wheel Controls Signal | C12 | D-BU | 1796 | Steering Wheel Controls Signal | ||||||||
D1 | PU | 5286 | Adjustable Pedals Motor Forward Control | D1 | PK | 5286 | Adjustable Pedals Motor Forward Control | ||||||||
D2 | GY | 1884 | Cruise Control Set/Coast and Resume/Accelerate Switch Signal | D2 | GY | 1884 | Cruise Control Set/Coast and Resume/Accelerate Switch Signal | ||||||||
D3 | RD/WH | 540 | Battery Positive Voltage | D3 | RD/WH | 540 | Battery Positive Voltage | ||||||||
D4 | RD/WH | 1940 | Battery Positive Voltage | D4 | RD/WH | 1940 | Battery Positive Voltage | ||||||||
D5 | PK | 339 | Ignition 1 Voltage | D5 | PK | 339 | Ignition 1 Voltage | ||||||||
D6 | BN | 4 | Accessory Voltage | D6 | BN | 4 | Accessory Voltage | ||||||||
BN | 4 | Accessory Voltage | |||||||||||||
D7 | -- | -- | Not Used | D7 | YE/BK | -- | Not Used | ||||||||
D8 | -- | -- | Not Used | D8 | L-GN | -- | Not Used | ||||||||
|
| ||||||||||||||
|---|---|---|---|---|---|---|---|---|---|---|---|---|---|---|---|
Connector Part Information |
| Connector Part Information |
| ||||||||||||
Pin | Wire Color | Circuit No. | Function | Pin | Wire Color | Circuit No. | Function | ||||||||
A1 | TN | 3021 | Steering Wheel Module - Stage 1 - High Control | A1 | TN | 3021 | Steering Wheel Module - Stage 1 - High Control | ||||||||
A2 | BN | 3020 | Steering Wheel Module - Stage 1 - Low Control | A2 | BN | 3020 | Steering Wheel Module - Stage 1 - Low Control | ||||||||
B1 | WH | 3023 | Steering Wheel Module - Stage 2 - High Control | B1 | WH | 3023 | Steering Wheel Module - Stage 2 - High Control | ||||||||
B2 | PK | 3022 | Steering Wheel Module - Stage 2 - Low Control | B2 | PK | 3022 | Steering Wheel Module - Stage 2 - Low Control | ||||||||
|
| ||||||||||||||
|---|---|---|---|---|---|---|---|---|---|---|---|---|---|---|---|
Connector Part Information |
| Connector Part Information |
| ||||||||||||
Pin | Wire Color | Circuit No. | Function | Pin | Wire Color | Circuit No. | Function | ||||||||
A | L-BU/BK | 590 | Driver Sunload Sensor Signal | A | L-BU/BK | 590 | Driver Sunload Sensor Signal | ||||||||
B | GY | 1548 | Passenger Sunload Sensor Signal | B | GY | 1548 | Passenger Sunload Sensor Signal | ||||||||
C | YE | 61 | Low Reference | C | YE | 61 | Low Reference | ||||||||
D | WH | 278 | Ambient Light Sensor Signal | D | WH | 278 | Ambient Light Sensor Signal | ||||||||
|
| ||||||||||||||
|---|---|---|---|---|---|---|---|---|---|---|---|---|---|---|---|
Connector Part Information |
| Connector Part Information |
| ||||||||||||
Pin | Wire Color | Circuit No. | Function | Pin | Wire Color | Circuit No. | Function | ||||||||
1 | RD/WH | 2240 | Battery Positive Voltage | 1 | RD/WH | 2240 | Battery Positive Voltage | ||||||||
RD/WH | 2240 | Battery Positive Voltage (U2V/U2X/U2Y) | |||||||||||||
2 | L-BU | 1960 | Front Center Speaker Output (-) (U57) | 2 | L-BU | 1960 | Front Center Speaker Output (-) (U57) | ||||||||
3 | YE | 1860 | Front Center Speaker Output (+) (U57) | 3 | YE | 1860 | Front Center Speaker Output (+) (U57) | ||||||||
4 | TN | 511 | Left Front Low Level Audio Signal (+) | 4 | TN | 511 | Left Front Low Level Audio Signal (+) | ||||||||
5 | L-BU | 512 | Right Front Low Level Audio Signal (+) | 5 | L-BU | 512 | Right Front Low Level Audio Signal (+) | ||||||||
6 | OG | 1486 | FM Composite Signal | 6 | OG | 1486 | FM Composite Signal | ||||||||
7 | TN | 5026 | Ignition Lock Cylinder Control Switch Signal | 7 | TN | 5026 | Ignition Lock Cylinder Control Switch Signal | ||||||||
8 | BK/WH | 851 | Ground | 8 | BK/WH | 851 | Ground | ||||||||
BK/WH | 851 | Ground (U2V/U2X/U2Y) | |||||||||||||
9 | PK | 5149 | MIC Out (U2V) | 9 | PK | 5149 | MIC Out (U2V) | ||||||||
GY | 655 | Cellular Microphone Signal (U2X/U2Y) | GY | 655 | Cellular Microphone Signal (U2X/U2Y) | ||||||||||
10 | PK/BK | 5152 | MIC Out RTN (U2V) | 10 | PK/BK | 5152 | MIC Out RTN (U2V) | ||||||||
BARE | 1782 | Drain Wire (U2X/U2Y) | BARE | 1782 | Drain Wire (U2X/U2Y) | ||||||||||
11 | D-GN | 1947 | Left Front Low Level Audio Signal (-) | 11 | D-GN | 1947 | Left Front Low Level Audio Signal (-) | ||||||||
12 | L-GN | 1948 | Right Front Low Level Audio Signal (-) | 12 | L-GN | 1948 | Right Front Low Level Audio Signal (-) | ||||||||
13 | BARE | 2011 | Drain Wire | 13 | BARE | 2011 | Drain Wire | ||||||||
14 | BARE | 2012 | Drain Wire | 14 | BARE | 2012 | Drain Wire | ||||||||
15 | PU/WH | 5025 | Ignition Lock Cylinder Control Actuator Supply Voltage | 15 | PU/WH | 5025 | Ignition Lock Cylinder Control Actuator Supply Voltage | ||||||||
16 | BARE | 1792 | Drain Wire (U2V) | 16 | BARE | 1792 | Drain Wire (U2V) | ||||||||
17 | D-GN | 392 | Rear Window Washer Pump Control | 17 | D-GN | 392 | Rear Window Washer Pump Control | ||||||||
18 | PU | 5526 | TCC Brake Switch | 18 | PU | 5526 | TCC Brake Switch | ||||||||
19 | D-GN | 1409 | Discriminating Sensor - Right - Signal | 19 | GN | 1409 | Discriminating Sensor - Right - Signal | ||||||||
20 | GY | 5600 | Discriminating Sensor Low Reference | 20 | GY | 5600 | Discriminating Sensor Low Reference | ||||||||
21 | PU | -- | Auxiliary Video Input (U2X/U2Y) | 21 | PU | -- | Auxiliary Video Input (U2X/U2Y) | ||||||||
22 | BK | -- | Auxiliary Video Ground (U2X/U2Y) | 22 | BK | -- | Auxiliary Video Ground (U2X/U2Y) | ||||||||
23 | YE | 5342 | Voice Output (+) (U2V/U2X/U2Y) | 23 | YE | 5342 | Voice Output (+) (U2V/U2X/U2Y) | ||||||||
24 | WH | 5343 | Voice Output (-) (U2V/U2X/U2Y) | 24 | WH | 5343 | Voice Output (-) (U2V/U2X/U2Y) | ||||||||
25 | BARE | 5344 | Voice Output Ground (U2V/U2X/U2Y) | 25 | BARE | 5344 | Voice Output Ground (U2V/U2X/U2Y) | ||||||||
26 | D-GN | 5525 | Tap Up/Tap Down Trans Enable Switch | 26 | D-GN | 5525 | Tap Up/Tap Down Trans Enable Switch | ||||||||
|
| ||||||||||||||
|---|---|---|---|---|---|---|---|---|---|---|---|---|---|---|---|
Connector Part Information |
| Connector Part Information |
| ||||||||||||
Pin | Wire Color | Circuit No. | Function | Pin | Wire Color | Circuit No. | Function | ||||||||
A-D | -- | -- | Not Used | A-D | -- | -- | Not Used | ||||||||
E | PU | 1375 | Remote Radio Control Supply Voltage | E | PU | 1375 | Remote Radio Control Supply Voltage | ||||||||
F | YE | 1491 | Backlight Lamps Control | F | YE | 1491 | Backlight Lamps Control | ||||||||
G | D-BU | 1796 | Steering Wheel Controls Signal | G | D-BU | 1796 | Steering Wheel Controls Signal | ||||||||
H | BK | 350 | Ground | H | BK | 350 | Ground | ||||||||
J | BK/WH | 28 | Horn Relay Control | J | BK/WH | 28 | Horn Relay Control | ||||||||
K | -- | -- | Not Used | K | -- | -- | Not Used | ||||||||
|
| ||||||||||||||
|---|---|---|---|---|---|---|---|---|---|---|---|---|---|---|---|
Connector Part Information |
| Connector Part Information |
| ||||||||||||
Pin | Wire Color | Circuit No. | Function | Pin | Wire Color | Circuit No. | Function | ||||||||
1 | RD/WH | 3740 | Battery Positive Voltage | 1 | RD/WH | 3740 | Battery Positive Voltage | ||||||||
2 | RD/WH | 2440 | Battery Positive Voltage (KA1) | 2 | RD/WH | 2440 | Battery Positive Voltage (KA1) | ||||||||
3 | PK | 1501 | Driver Heated Seat High/Low Signal (KA1) | 3 | PK | 1501 | Driver Heated Seat High/Low Signal (KA1) | ||||||||
4 | L-BU/WH | 181 | Heated Seat Control Module Status Signal (KA1) | 4 | L-BU/WH | 181 | Heated Seat Control Module Status Signal (KA1) | ||||||||
5-7 | -- | -- | Not Used | 5-7 | -- | -- | Not Used | ||||||||
8 | BK | 550 | Ground | 8 | BK | 550 | Ground | ||||||||
9 | BN | 41 | Ignition 3 Voltage (KA1) | 9 | BN | 41 | Ignition 3 Voltage (KA1) | ||||||||
10 | -- | -- | Not Used | 10 | -- | -- | Not Used | ||||||||
11 | PU | 1807 | Class 2 Serial Data (Primary) (A45) | 11 | PU | 1807 | Class 2 Serial Data (Primary) (A45) | ||||||||
12 | PK | 5017 | Seat Belt Switch - Left - Low Reference | 12 | PK | 5017 | Seat Belt Switch - Left - Low Reference | ||||||||
13 | TN/WH | 238 | Seat Belt Switch - Left | 13 | TN/WH | 238 | Seat Belt Switch - Left | ||||||||
14 | RD/WH | 2840 | Battery Positive Voltage (A45) | 14 | RD/WH | 2840 | Battery Positive Voltage (A45) | ||||||||
15 | OG/BK | 5285 | Adjustable Pedals Motor Rearward Control (JF4) | 15 | OG/BK | 5285 | Adjustable Pedals Motor Rearward Control (JF4) | ||||||||
16 | PU | 5286 | Adjustable Pedals Motor Forward Control (JF4) | 16 | PU | 5286 | Adjustable Pedals Motor Forward Control (JF4) | ||||||||
17 | YE | 5129 | Adjustable Pedals Relay Rearward Control (JF4) | 17 | YE | 5129 | Adjustable Pedals Relay Rearward Control (JF4) | ||||||||
18 | D-GN | 5953 | Adjustable Accelerator Pedal Position Sensor Signal (JF4) | 18 | D-GN | 5953 | Adjustable Accelerator Pedal Position Sensor Signal (JF4) | ||||||||
19 | D-BU | 5952 | Adjustable Brake Pedal Position Sensor Signal (JF4) | 19 | D-BU | 5952 | Adjustable Brake Pedal Position Sensor Signal (JF4) | ||||||||
20-23 | -- | -- | Not Used | 20-23 | -- | -- | Not Used | ||||||||
24 | GY | 788 | 5-Volt Reference (JF4) | 24 | GY | 788 | 5-Volt Reference (JF4) | ||||||||
25 | TN | 782 | Memory Seat/Mirror Sensor Low Reference (JF4) | 25 | TN | 782 | Memory Seat/Mirror Sensor Low Reference (JF4) | ||||||||
26 | PU | 5130 | Adjustable Pedals Relay Forward Control (JF4) | 26 | PU | 5130 | Adjustable Pedals Relay Forward Control (JF4) | ||||||||
|
| ||||||||||||||||||
|---|---|---|---|---|---|---|---|---|---|---|---|---|---|---|---|---|---|---|---|
Connector Part Information |
| Connector Part Information |
| ||||||||||||||||
Pin | Wire Color | Circuit No. | Function | Pin | Wire Color | Circuit No. | Function | ||||||||||||
A | BK | 2118 | Seat Belt Pretensioner - Left - High Control | A | TN/WH | 2118 | Seat Belt Pretensioner - Left - High Control | ||||||||||||
B | -- | -- | Not Used | B | -- | -- | Not Used | ||||||||||||
C | WH | 2105 | Side Impact Module - Left - High Control | C | D-GN | 2105 | Side Impact Module - Left - High Control | ||||||||||||
D | D-GN | 2106 | Side Impact Module - Left - Low Control | D | BN | 2106 | Side Impact Module - Left - Low Control | ||||||||||||
E | -- | -- | Not Used | E | -- | -- | Not Used | ||||||||||||
F | WH | 2119 | Seat Belt Pretensioner - Left - Low Control | F | OG/BK | 2119 | Seat Belt Pretensioner - Left - Low Control | ||||||||||||
|
| ||||||||||||||
|---|---|---|---|---|---|---|---|---|---|---|---|---|---|---|---|
Connector Part Information |
| Connector Part Information |
| ||||||||||||
Pin | Wire Color | Circuit No. | Function | Pin | Wire Color | Circuit No. | Function | ||||||||
1 | -- | -- | Not Used | 1 | -- | -- | Not Used | ||||||||
2 | L-GN/WH | 5337 | TV Left Audio Signal (U2Y/U2X) | 2 | L-GN/WH | 5337 | TV Left Audio Signal (U2Y/U2X) | ||||||||
3 | L-BU/WH | 5338 | TV Right Audio Signal (U2Y/U2X) | 3 | L-BU/WH | 5338 | TV Right Audio Signal (U2Y/U2X) | ||||||||
4 | GY/BK | 5339 | TV Audio Common Signal (U2Y/U2X) | 4 | GY/BK | 5339 | TV Audio Common Signal (U2Y/U2X) | ||||||||
5 | BARE | 5345 | Drain Wire (U2Y/U2X) | 5 | BARE | 5345 | Drain Wire (U2Y/U2X) | ||||||||
6-8 | -- | -- | Not Used | 6-8 | -- | -- | Not Used | ||||||||
9 | TN/WH | 372 | Audio Common | 9 | TN/WH | 372 | Audio Common | ||||||||
10 | BN/WH | 367 | Left Audio Signal (+) | 10 | BN/WH | 367 | Left Audio Signal (+) | ||||||||
11 | D-GN/WH | 368 | Right Audio Signal (+) | 11 | D-GN/WH | 368 | Right Audio Signal (+) | ||||||||
12 | BARE | 5324 | Drain Wire | 12 | BARE | 5324 | Drain Wire | ||||||||
13 | -- | -- | Not Used | 13 | BARE | 514 | Drain Wire (U2X) | ||||||||
14 | GY | 5383 | Navigation Display Serial Data High (U2X) | 14 | GY | 5383 | Navigation Display Serial Data High (U2X) | ||||||||
15 | BN | 5384 | Navigation Display Serial Data Low (U2X) | 15 | BN | 5384 | Navigation Display Serial Data Low (U2X) | ||||||||
16-17 | -- | -- | Not Used | 16-17 | -- | -- | Not Used | ||||||||
18 | YE | 5385 | Switch Power (U2X) | 18 | YE | 5385 | Switch Power (U2X) | ||||||||
19-24 | -- | -- | Not Used | 19-24 | -- | -- | Not Used | ||||||||
25 | YE | 243 | Accessory Voltage (U2X) | 25 | YE | 243 | Accessory Voltage (U2X) | ||||||||
26 | -- | -- | Not Used | 26 | -- | -- | Not Used | ||||||||
|
| ||||||||||||||
|---|---|---|---|---|---|---|---|---|---|---|---|---|---|---|---|
Connector Part Information |
| Connector Part Information |
| ||||||||||||
Pin | Wire Color | Circuit No. | Function | Pin | Wire Color | Circuit No. | Function | ||||||||
1 | RD/WH | 2040 | Battery Positive Voltage | 1 | RD/WH | 2040 | Battery Positive Voltage | ||||||||
2 | YE | 1491 | Backlight Lamps Control | 2 | YE | 1491 | Backlight Lamps Control | ||||||||
YE | 1491 | Backlight Lamps Control | |||||||||||||
3 | PU | 1807 | Class 2 Serial Data (Primary) (U42) | 3 | PU | 1807 | Class 2 Serial Data (Primary) (U42) | ||||||||
4 | BARE | 5315 | Drain Wire (U42 w/U2V/U2X/U2Y) | 4 | BARE | 5315 | Drain Wire (U42) | ||||||||
5 | L-BU | 5312 | RSA Left Audio Signal (U42 w/U2V/U2X/U2Y) | 5 | L-BU | 5312 | RSA Left Audio Signal (U42) | ||||||||
6 | L-GN | 5313 | RSA Right Audio Signal (U42 w/U2V/U2X/U2Y) | 6 | L-GN | 5313 | RSA Right Audio Signal (U42) | ||||||||
7 | BN | 5314 | RSA Audio Common Signal (U42 w/U2V/U2X/U2Y) | 7 | BN | 5314 | RSA Audio Common Signal (U42) | ||||||||
8 | PU | COAX | Aux Video Output (U42 w/U2V/U2X/U2Y) | 8 | PU | COAX | Aux Video Output (U42) | ||||||||
9 | BK | SHIELD | Aux Video Output (U42 w/U2V/U2X/U2Y) | 9 | BK | SHIELD | Aux Video Output (U42) | ||||||||
10 | -- | -- | Not Used | 10 | -- | -- | Not Used | ||||||||
|
| ||||||||||||||
|---|---|---|---|---|---|---|---|---|---|---|---|---|---|---|---|
Connector Part Information |
| Connector Part Information |
| ||||||||||||
Pin | Wire Color | Circuit No. | Function | Pin | Wire Color | Circuit No. | Function | ||||||||
1 | PU | 1807 | Class 2 Serial Data (Primary) | 1 | PU | 1807 | Class 2 Serial Data (Primary) | ||||||||
2 | OG | 1486 | FM Composite Signal | 2 | OG | 1486 | FM Composite Signal | ||||||||
3 | WH | 2370 | Telltale Assembly Supply Voltage | 3 | WH | 2370 | Telltale Assembly Supply Voltage | ||||||||
4 | OG | 2371 | Left Amber Indicator Control | 4 | OG | 2371 | Left Amber Indicator Control | ||||||||
5 | D-BU | 2372 | Center Amber Indicator Control | 5 | D-BU | 2372 | Center Amber Indicator Control | ||||||||
6 | GY | 2373 | Red Indicator Control | 6 | GY | 2373 | Red Indicator Control | ||||||||
7 | L-BU/BK | 1688 | 5-Volt Reference | 7 | L-BU/BK | 1688 | 5-Volt Reference | ||||||||
8 | PK/BK | 1597 | Courtesy Lamps Switch On Signal | 8 | PK/BK | 1597 | Courtesy Lamps Switch On Signal | ||||||||
9 | D-BU/WH | 149 | Courtesy Lamp Supply Voltage | 9 | D-BU/WH | 149 | Courtesy Lamp Supply Voltage | ||||||||
10 | D-GN | 44 | Instrument Panel Lamps Dimmer Switch Signal | 10 | D-GN | 44 | Instrument Panel Lamps Dimmer Switch Signal | ||||||||
11 | YE | 5005 | Instrument Panel Lamps Dimmer Switch Low Reference | 11 | YE | 5005 | Instrument Panel Lamps Dimmer Switch Low Reference | ||||||||
12 | YE | 1491 | Backlight Lamps Control | 12 | YE | 1491 | Backlight Lamps Control | ||||||||
13 | PU | 679 | Keypad Signal (UE1) | 13 | PU | 679 | Keypad Signal (UE1) | ||||||||
14 | GY/BK | 1798 | Keypad Green LED Signal (UE1) | 14 | GY/BK | 1798 | Keypad Green LED Signal (UE1) | ||||||||
15 | PU | 1156 | Keypad Red LED Signal (UE1) | 15 | PU | 1158 | Keypad Red LED Signal (UE1) | ||||||||
16 | BN | 1941 | Keypad Supply Voltage (UE1) | 16 | BN | 1941 | Keypad Supply Voltage (UE1) | ||||||||
|
| ||||||||||||||||||
|---|---|---|---|---|---|---|---|---|---|---|---|---|---|---|---|---|---|---|---|
Connector Part Information |
| Connector Part Information |
| ||||||||||||||||
Pin | Wire Color | Circuit No. | Function | Pin | Wire Color | Circuit No. | Function | ||||||||||||
A | BK | 2116 | Seat Belt Pretensioner - Right - High Control | A | L-GN | 2116 | Seat Belt Pretensioner - Right - High Control | ||||||||||||
B | -- | -- | Not Used | B | -- | -- | Not Used | ||||||||||||
C | WH | 2103 | Side Impact Module - Right - High Control | C | GY | 2103 | Side Impact Module - Right - High Control | ||||||||||||
D | D-GN | 2104 | Side Impact Module - Right - Low Control | D | D-BU | 2104 | Side Impact Module - Right - Low Control | ||||||||||||
E | -- | -- | Not Used | E | -- | -- | Not Used | ||||||||||||
F | WH | 2117 | Seat Belt Pretensioner - Right - Low Control | F | OG | 2117 | Seat Belt Pretensioner - Right - Low Control | ||||||||||||
|
| ||||||||||||||
|---|---|---|---|---|---|---|---|---|---|---|---|---|---|---|---|
Connector Part Information |
| Connector Part Information |
| ||||||||||||
Pin | Wire Color | Circuit No. | Function | Pin | Wire Color | Circuit No. | Function | ||||||||
1 | RD/WH | 3740 | Battery Positive Voltage (AH8) | 1 | OG | 3740 | Battery Positive Voltage (AH8) | ||||||||
2 | RD/WH | 2540 | Battery Positive Voltage (KA1) | 2 | OG | 2540 | Battery Positive Voltage (KA1) | ||||||||
3 | PK/BK | 1503 | Passenger Heated Seat High/Low Signal (KA1) | 3 | PK | 1503 | Passenger Heated Seat High/Low Signal (KA1) | ||||||||
4 | D-BU | 2181 | Passenger Heated Seat Control Module Status Signal (KA1) | 4 | L-BU/WH | 2181 | Passenger Heated Seat Control Module Status Signal (KA1) | ||||||||
5-8 | -- | -- | Not Used | 5-8 | -- | -- | Not Used | ||||||||
9 | BN | 41 | Ignition 3 Voltage (KA1) | 9 | BN | 41 | Ignition 3 Voltage (KA1) | ||||||||
10-13 | -- | -- | Not Used | 10-13 | -- | -- | Not Used | ||||||||
14 | BK | 550 | Ground (AH8/KA1) | 14 | BK | 550 | Ground (AH8/KA1) | ||||||||
|
| ||||||||||||||
|---|---|---|---|---|---|---|---|---|---|---|---|---|---|---|---|
Connector Part Information |
| Connector Part Information |
| ||||||||||||
Pin | Wire Color | Circuit No. | Function | Pin | Wire Color | Circuit No. | Function | ||||||||
1 | -- | -- | Not Used | 1 | -- | -- | Not Used | ||||||||
2 | OG | 1052 | Auxiliary Blower Motor Supply Voltage (C57) | 2 | OG | 1052 | Auxiliary Blower Motor Supply Voltage (C57) | ||||||||
3 | TN | 63 | Auxiliary Blower Motor Medium Control (C57) | 3 | TN | 63 | Auxiliary Blower Motor Medium Control (C57) | ||||||||
4 | YE | 60 | Auxiliary Blower Motor Low Control (C57) | 4 | YE | 60 | Auxiliary Blower Motor Low Control (C57) | ||||||||
5 | -- | -- | Not Used | 5 | -- | -- | Not Used | ||||||||
6 | OG | 1052 | Auxiliary Blower Motor Supply Voltage (C57) | 6 | OG | 1052 | Auxiliary Blower Motor Supply Voltage (C57) | ||||||||
7 | -- | -- | Not Used | 7 | -- | -- | Not Used | ||||||||
8 | L-BU | 72 | Medium 2 Blower Motor Control (C57) | 8 | L-BU | 72 | Medium 2 Blower Motor Control (C57) | ||||||||
9 | -- | -- | Not Used | 9 | -- | -- | Not Used | ||||||||
10 | BK | 1050 | Ground | 10 | BK | 1050 | Ground | ||||||||
|
| ||||||||||||||
|---|---|---|---|---|---|---|---|---|---|---|---|---|---|---|---|
Connector Part Information |
| Connector Part Information |
| ||||||||||||
Pin | Wire Color | Circuit No. | Function | Pin | Wire Color | Circuit No. | Function | ||||||||
1 | D-BU | 75 | RAP Relay Switch Supply Voltage (w/o T79) | 1 | BN | 75 | RAP Relay Switch Supply Voltage (w/o T79) | ||||||||
BN | 41 | Ignition 3 Voltage (T79) | BN | 41 | Ignition 3 Voltage (T79) | ||||||||||
2 | RD/WH | 4440 | Battery Positive Voltage | 2 | RD/WH | 4440 | Battery Positive Voltage | ||||||||
3 | BK | 1050 | Ground | 3 | BK | 1050 | Ground | ||||||||
4 | -- | -- | Not Used | 4 | -- | -- | Not Used | ||||||||
|
| ||||||||||||||
|---|---|---|---|---|---|---|---|---|---|---|---|---|---|---|---|
Connector Part Information |
| Connector Part Information |
| ||||||||||||
Pin | Wire Color | Circuit No. | Function | Pin | Wire Color | Circuit No. | Function | ||||||||
A | BK | 1050 | Ground | A | BK | 1050 | Ground | ||||||||
B | PU | 1807 | Class 2 Serial Data (Primary) | B | PU | 1807 | Class 2 Serial Data (Primary) | ||||||||
C | L-BU | 5368 | Folding Seat D-Pillar Recline Switch Signal | C | L-BU | 5368 | Folding Seat D-Pillar Recline Switch Signal | ||||||||
D | RD/WH | 140 | Battery Positive Voltage | D | RD/WH | 140 | Battery Positive Voltage | ||||||||
E | D-BU | 5366 | Folding Seat C-Pillar Stow Switch Signal | E | D-BU | 5366 | Folding Seat C-Pillar Stow Switch Signal | ||||||||
F | D-BU/WH | 5367 | Folding Seat D-Pillar Stow Switch Signal | F | D-BU/WH | 5367 | Folding Seat D-Pillar Stow Switch Signal | ||||||||
G-H | -- | -- | Not Used | G-H | -- | -- | Not Used | ||||||||
|
| ||||||||||||||
|---|---|---|---|---|---|---|---|---|---|---|---|---|---|---|---|
Connector Part Information |
| Connector Part Information |
| ||||||||||||
Pin | Wire Color | Circuit No. | Function | Pin | Wire Color | Circuit No. | Function | ||||||||
1 | TN/WH | 372 | Audio Common (U42) | 1 | TN/WH | 372 | Audio Common (U42) | ||||||||
2 | BN/WH | 367 | Left Audio Signal (+) (U42) | 2 | BN/WH | 367 | Left Audio Signal (+) (U42) | ||||||||
3 | D-GN/WH | 368 | Right Audio Signal (+) (U42) | 3 | D-GN/WH | 368 | Right Audio Signal (+) (U42) | ||||||||
4 | BARE | 5324 | Drain (U42) | 4 | BARE | 5324 | Drain (U42) | ||||||||
5 | RD/WH | 2240 | Battery Positive Voltage (U42) | 5 | RD/WH | 2240 | Battery Positive Voltage (U42) | ||||||||
6 | L-GN/WH | 5337 | TV Left Audio Signal (U42 w/U2X/U2Y) | 6 | L-GN/WH | 5337 | TV Left Audio Signal (U42 w/U2X/U2Y) | ||||||||
7 | L-BU/WH | 5338 | TV Right Audio Signal (U42 w/U2X/U2Y) | 7 | L-BU/WH | 5338 | TV Right Audio Signal (U42 w/U2X/U2Y) | ||||||||
8 | GY/BK | 5339 | TV Audio Common Signal (U42 w/U2X/U2Y) | 8 | GY/BK | 5339 | TV Audio Common Signal (U42 w/U2X/U2Y) | ||||||||
9 | BARE | 5345 | Drain Wire (U42 w/U2X/U2Y)) | 9 | BARE | 5345 | Drain Wire (U42 w/U2X/U2Y) | ||||||||
10 | BK | 850 | Ground (U42) | 10 | BK | 850 | Ground (U42) | ||||||||
11 | BK | 450 | Ground | 11 | BK | 450 | Ground | ||||||||
12 | BK | Shield | TV Video Ground (U42 w/U2X/U2Y) | 12 | BK | Shield | TV Video Ground (U42 w/U2X/U2Y) | ||||||||
13 | PU | COAX | TV Video (U42 and U2X/U2Y) | 13 | PU | COAX | TV Video (U42 and U2X/U2Y) | ||||||||
14 | BN/WH | 1571 | Traction Control Switch Signal | 14 | BN/WH | 1571 | Traction Control Switch Signal | ||||||||
15-16 | -- | -- | Not Used | 15-16 | -- | -- | Not Used | ||||||||
|
| ||||||||||||||
|---|---|---|---|---|---|---|---|---|---|---|---|---|---|---|---|
Connector Part Information |
| Connector Part Information |
| ||||||||||||
Pin | Wire Color | Circuit No. | Function | Pin | Wire Color | Circuit No. | Function | ||||||||
1 | GY | 157 | Courtesy Lamp Control | 1 | GY | 157 | Courtesy Lamp Control | ||||||||
2 | L-GN | 24 | Backup Lamp Supply Voltage | 2 | L-GN | 24 | Backup Lamp Supply Voltage | ||||||||
3 | PU | 5059 | Intrusion Sensor Alarm On Signal (UA2) | 3 | PU | 5059 | Intrusion Sensor Alarm On Signal (UA2) | ||||||||
4 | YE | 43 | Accessory Voltage | 4 | YE | 43 | Accessory Voltage | ||||||||
5 | GY | 391 | Rear Window Wiper Switch Signal | 5 | GY | 391 | Rear Window Wiper Switch Signal | ||||||||
6 | BK/WH | 1051 | Ground | 6 | BK/WH | 1051 | Ground | ||||||||
7 | -- | -- | Not Used | 7 | -- | -- | Not Used | ||||||||
8 | BARE | 1489 | Drain Wire (U57) | 8 | BARE | 1489 | Drain Wire (U57) | ||||||||
9 | D-GN | 1488 | Noise Reduction Microphone Supply Voltage (U57) | 9 | D-GN | 1488 | Noise Reduction Microphone Supply Voltage (U57) | ||||||||
10 | RD/WH | 3640 | Battery Positive Voltage | 10 | RD/WH | 3640 | Battery Positive Voltage | ||||||||
11 | YE | 5058 | Intrusion Sensor Armed Signal (UA2) | 11 | YE | 5058 | Intrusion Sensor Armed Signal (UA2) | ||||||||
12 | GY | 1690 | Automatic Day/Night Mirror Signal (DR2/DR4/D24) | 12 | GY | 1690 | Automatic Day/Night Mirror Signal (DR2/DR4/D24) | ||||||||
13 | PK | 1691 | Automatic Day/Night Mirror Low Reference (DR2/DR4/D24) | 13 | PK | 1691 | Automatic Day/Night Mirror Low Reference (DR2/DR4/D24) | ||||||||
14 | PK | 1339 | Ignition 1 Voltage | 14 | PK | 1339 | Ignition 1 Voltage | ||||||||
PK | 1339 | Ignition 1 Voltage | |||||||||||||
15 | BARE | 1782 | Drain Wire (UE1) | 15 | BARE | 1782 | Drain Wire (UE1) | ||||||||
16 | GY | 655 | Cellular Microphone Signal (UE1) | 16 | GY | 655 | Cellular Microphone Signal (UE1) | ||||||||
|
| ||||||||||||||
|---|---|---|---|---|---|---|---|---|---|---|---|---|---|---|---|
Connector Part Information |
| Connector Part Information |
| ||||||||||||
Pin | Wire Color | Circuit No. | Function | Pin | Wire Color | Circuit No. | Function | ||||||||
1 | OG/BK | 144 | Sunroof Switch Open Vent Signal (C3B) | 1 | OG/BK | 144 | Sunroof Switch Open Vent Signal (C3B) | ||||||||
2 | D-GN | 2074 | Sunroof Switch Express Signal (CF5/C3B) | 2 | D-GN | 2074 | Sunroof Switch Express Signal (CF5/C3B) | ||||||||
3 | OG | 110 | Sunroof Switch Close Signal (CF5/C3B) | 3 | OG | 110 | Sunroof Switch Close Signal (CF5/C3B) | ||||||||
4 | -- | -- | Not Used | 4 | -- | -- | Not Used | ||||||||
5 | L-BU | 5304 | Sunshade Switch Open Signal (CF5/C3B) | 5 | L-BU | 5304 | Sunshade Switch Open Signal (CF5/C3B) | ||||||||
6 | PU | 5306 | Sunshade Switch Express Signal (CF5/C3B) | 6 | PU | 5306 | Sunshade Switch Express Signal (CF5/C3B) | ||||||||
7 | PK | 2075 | Sunroof Switch Close Vent Signal (C3B) | 7 | PK | 2075 | Sunroof Switch Close Vent Signal (C3B) | ||||||||
8 | L-GN | 5308 | Sunshade Switch Open Signal (C3B) | 8 | L-GN | 5308 | Sunshade Switch Open Signal (C3B) | ||||||||
9 | OG | 5309 | Sunshade Switch Close Signal (C3B) | 9 | OG | 5309 | Sunshade Switch Close Signal (C3B) | ||||||||
10 | BN | 100 | Sunroof Switch Open Signal (CF5/C3B) | 10 | BN | 100 | Sunroof Switch Open Signal (CF5/C3B) | ||||||||
11 | BK | 1050 | Ground (CF5/C3B and U2K/U2L) | 11 | BK | 1050 | Ground (CF5/C3B and U2K/U2L) | ||||||||
12 | YE | 5305 | Sunshade Switch Close Signal (CF5/C3B) | 12 | YE | 5305 | Sunshade Switch Close Signal (CF5/C3B) | ||||||||
|
| ||||||||||||||
|---|---|---|---|---|---|---|---|---|---|---|---|---|---|---|---|
Connector Part Information |
| Connector Part Information |
| ||||||||||||
Pin | Wire Color | Circuit No. | Function | Pin | Wire Color | Circuit No. | Function | ||||||||
1 | D-BU | 5366 | Folding Seat C-Pillar Stow Switch Signal | 1 | D-BU | 5366 | Folding Seat C-Pillar Stow Switch Signal (AMO) | ||||||||
2 | D-BU/WH | 5367 | Folding Seat D-Pillar Stow Switch Signal | 2 | D-BU/WH | 5367 | Folding Seat D-Pillar Stow Switch Signal (AMO) | ||||||||
3 | L-BU | 5368 | Folding Seat D-Pillar Recline Switch Signal | 3 | L-BU | 5368 | Folding Seat D-Pillar Recline Switch Signal (AMO) | ||||||||
4 | RD/WH | 4540 | Battery Positive Voltage | 4 | RD/WH | 4540 | Battery Positive Voltage (AMO) | ||||||||
5 | BK | 450 | Ground | 5 | BK | 450 | Ground | ||||||||
6 | RD/WH | 3540 | Battery Positive Voltage | 6 | RD/WH | 3540 | Battery Positive Voltage | ||||||||
|
| ||||||||||||||
|---|---|---|---|---|---|---|---|---|---|---|---|---|---|---|---|
Connector Part Information |
| Connector Part Information |
| ||||||||||||
Pin | Wire Color | Circuit No. | Function | Pin | Wire Color | Circuit No. | Function | ||||||||
1 | D-BU | 1646 | Passenger Air Temperature Door Position Signal | 1 | D-BU | 1646 | Passenger Air Temperature Door Position Signal | ||||||||
2 | WH/BK | 1236 | Passenger Air Temperature Door Control B | 2 | WH/BK | 1236 | Passenger Air Temperature Door Control B | ||||||||
3 | GY/BK | 2778 | Passenger Air Temperature Door Control A | 3 | GY/BK | 2778 | Passenger Air Temperature Door Control A | ||||||||
4 | YE | 1318 | Mode Door Control B | 4 | PK | 1318 | Mode Door Control B | ||||||||
5 | YE/BK | 1814 | Mode Door Position Signal | 5 | GY | 1814 | Mode Door Position Signal | ||||||||
6 | TN | 2273 | Mode Door Control A | 6 | L-BU | 2273 | Mode Door Control A | ||||||||
7-9 | -- | -- | Not Used | 7-9 | -- | -- | Not Used | ||||||||
10 | GY | 705 | 5-Volt Reference | 10 | GY | 705 | 5-Volt Reference | ||||||||
11 | L-BU | 733 | Driver Air Temperature Door Position Signal | 11 | L-BU | 733 | Driver Air Temperature Door Position Signal | ||||||||
12 | YE | 1791 | Driver Air Temperature Door Control A | 12 | YE | 1791 | Driver Air Temperature Door Control A | ||||||||
13 | D-BU | 1199 | Driver Air Temperature Door Control B | 13 | D-BU | 1199 | Driver Air Temperature Door Control B | ||||||||
14 | YE | 61 | Low Reference | 14 | YE | 61 | Low Reference | ||||||||
15 | GY | 731 | Evaporator Temperature Sensor Signal | 15 | GY | 731 | Evaporator Temperature Sensor Signal | ||||||||
16 | -- | -- | Not Used | 16 | -- | -- | Not Used | ||||||||
|
| ||||||||||||||
|---|---|---|---|---|---|---|---|---|---|---|---|---|---|---|---|
Connector Part Information |
| Connector Part Information |
| ||||||||||||
Pin | Wire Color | Circuit No. | Function | Pin | Wire Color | Circuit No. | Function | ||||||||
1 | L-BU | 188 | Blower Motor Control Processor Supply Voltage | 1 | L-BU | 188 | Blower Motor Control Processor Supply Voltage | ||||||||
2 | BK | 450 | Ground | 2 | BK | 450 | Ground | ||||||||
3 | BN | 41 | Ignition 3 Voltage | 3 | BN | 41 | Ignition 3 Voltage | ||||||||
4 | PU | 1838 | Recirculation Door Control A | 4 | PU | 1838 | Recirculation Door Control A | ||||||||
5 | D-GN | 1614 | Recirculation Door Control B | 5 | D-GN | 1614 | Recirculation Door Control B | ||||||||
6 | GY/BK | 754 | Blower Motor Speed Control | 6 | GY/BK | 754 | Blower Motor Speed Control | ||||||||
|
| ||||||||||||||
|---|---|---|---|---|---|---|---|---|---|---|---|---|---|---|---|
Connector Part Information |
| Connector Part Information |
| ||||||||||||
Pin | Wire Color | Circuit No. | Function | Pin | Wire Color | Circuit No. | Function | ||||||||
A | D-BU | 611 | Diver Seat Lumbar Motor Forward Control | A | D-BU | 611 | Diver Seat Lumbar Motor Forward Control | ||||||||
B | PK | 610 | Driver Seat Lumbar Motor Rearward Control | B | PK | 610 | Driver Seat Lumbar Motor Rearward Control | ||||||||
C | BK | 782 | Memory Seat Sensor Low Reference | C | TN | 782 | Memory Seat Sensor Low Reference | ||||||||
D | GY | 788 | 5-Volt Reference | D | GY | 788 | 5-Volt Reference | ||||||||
E | YE | 1063 | Driver Seat Lumbar Horizontal Position Sensor Signal | E | YE | 1063 | Driver Seat Lumbar Horizontal Position Sensor Signal | ||||||||
F | -- | -- | Not Used | F | -- | -- | Not Used | ||||||||
|
| ||||||||||||||
|---|---|---|---|---|---|---|---|---|---|---|---|---|---|---|---|
Connector Part Information |
| Connector Part Information |
| ||||||||||||
Pin | Wire Color | Circuit No. | Function | Pin | Wire Color | Circuit No. | Function | ||||||||
A | D-BU | 211 | Passenger Seat Lumbar Motor Forward Control | A | D-BU | 211 | Passenger Seat Lumbar Motor Forward Control | ||||||||
B | WH | 210 | Passenger Seat Lumbar Motor Rearward Control | B | WH | 210 | Passenger Seat Lumbar Motor Rearward Control | ||||||||
|
| ||||||||||||||
|---|---|---|---|---|---|---|---|---|---|---|---|---|---|---|---|
Connector Part Information |
| Connector Part Information |
| ||||||||||||
Pin | Wire Color | Circuit No. | Function | Pin | Wire Color | Circuit No. | Function | ||||||||
A | TN | 294 | Door Lock Actuator Unlock Control | A | TN | 294 | Door Lock Actuator Unlock Control | ||||||||
B | GY | 295 | Door Lock Actuator Lock Control | B | GY | 295 | Door Lock Actuator Lock Control | ||||||||
C | GY | 157 | Courtesy Lamp Control | C | GY | 157 | Courtesy Lamp Control | ||||||||
D | D-BU/WH | 149 | Courtesy Lamp Supply Voltage | D | D-BU/WH | 149 | Courtesy Lamp Supply Voltage | ||||||||
E | OG/BK | 744 | Rear Compartment Lid Ajar Switch | E | OG/BK | 744 | Rear Compartment Lid Ajar Switch | ||||||||
F | GY | 391 | Rear Window Wiper Switch Signal | F | GY | 391 | Rear Window Wiper Switch Signal | ||||||||
G-H | -- | -- | Not Used | G-H | -- | -- | Not Used | ||||||||
|
| ||||||||||||||
|---|---|---|---|---|---|---|---|---|---|---|---|---|---|---|---|
Connector Part Information |
| Connector Part Information |
| ||||||||||||
Pin | Wire Color | Circuit No. | Function | Pin | Wire Color | Circuit No. | Function | ||||||||
A | D-BU | 2374 | Object Sensor Supply Voltage | A | D-BU | 2374 | Object Sensor Supply Voltage | ||||||||
B | YE | 2375 | LR Corner Object Sensor Signal | B | YE | 2375 | LR Corner Object Sensor Signal | ||||||||
C | GY | 2379 | Object Sensor Low Reference | C | GY | 2379 | Object Sensor Low Reference | ||||||||
D | OG | 2376 | LR Middle Object Sensor Signal | D | OG | 2376 | LR Middle Object Sensor Signal | ||||||||
E | D-GN | 2377 | RR Middle Object Sensor Signal | E | D-GN | 2377 | RR Middle Object Sensor Signal | ||||||||
F | PU | 2378 | RR Corner Object Sensor Signal | F | PU | 2378 | RR Corner Object Sensor Signal | ||||||||
G | YE | 18 | Left Rear Stop/Turn Lamp Supply Voltage | G | YE | 18 | Left Rear Stop/Turn Lamp Supply Voltage (V92) | ||||||||
H | WH | 17 | Stop Lamp Switch Signal (T79) | H | WH | 17 | Stop Lamp Switch Signal (V92 w/T79) | ||||||||
J | D-GN | 19 | Right Rear Stop/Turn Lamp Supply Voltage | J | D-GN | 19 | Right Rear Stop/Turn Lamp Supply Voltage (V92) | ||||||||
K | PU | 709 | Left Park Lamp Supply Voltage | K | BN | 5184 | Left Park Lamp Supply Voltage (V92) | ||||||||
L | -- | -- | Not Used | L | -- | -- | Not Used | ||||||||
M | BK | 850 | Ground | M | WH | 22 | Ground (V92) | ||||||||
|
| ||||||||||||||
|---|---|---|---|---|---|---|---|---|---|---|---|---|---|---|---|
Connector Part Information |
| Connector Part Information |
| ||||||||||||
Pin | Wire Color | Circuit No. | Function | Pin | Wire Color | Circuit No. | Function | ||||||||
1 | PU | 293 | Rear Defog Element Supply Voltage | 1 | PU | 293 | Rear Defog Element Supply Voltage | ||||||||
2 | BK | 850 | Ground | 2 | BK | 850 | Ground | ||||||||
|
| ||||||||||||||
|---|---|---|---|---|---|---|---|---|---|---|---|---|---|---|---|
Connector Part Information |
| Connector Part Information |
| ||||||||||||
Pin | Wire Color | Circuit No. | Function | Pin | Wire Color | Circuit No. | Function | ||||||||
A | WH | 17 | Stop Lamp Supply Voltage | A | WH | 17 | Stop Lamp Supply Voltage | ||||||||
B | YE | 32 | Instrument Panel Lamp Fuse Supply Voltage | B | YE | 32 | Instrument Panel Lamp Fuse Supply Voltage | ||||||||
C | L-GN | 24 | Backup Lamp Supply Voltage | C | L-GN | 24 | Backup Lamp Supply Voltage | ||||||||
D | D-GN | 392 | Rear Window Washer Pump Control | D | D-GN | 392 | Rear Window Washer Pump Control | ||||||||
E | YE | 443 | Accessory Voltage | E | YE | 443 | Accessory Voltage | ||||||||
F | BK | 850 | Ground | F | BK | 850 | Ground | ||||||||
G | OG | 122 | Rear Fog Lamp Supply Voltage (T79) | G | OG | 122 | Rear Fog Lamp Supply Voltage (T79) | ||||||||
H | -- | -- | Not Used | H | -- | -- | Not Used | ||||||||
|
| ||||||||||||||
|---|---|---|---|---|---|---|---|---|---|---|---|---|---|---|---|
Connector Part Information |
| Connector Part Information |
| ||||||||||||
Pin | Wire Color | Circuit No. | Function | Pin | Wire Color | Circuit No. | Function | ||||||||
A | D-BU | 2374 | Object Sensor Supply Voltage | A | D-BU | 2374 | Object Sensor Supply Voltage | ||||||||
B | YE | 2375 | LR Corner Object Sensor Signal | B | YE | 2375 | LR Corner Object Sensor Signal | ||||||||
C | GY | 2379 | Object Sensor Low Reference | C | GY | 2379 | Object Sensor Low Reference | ||||||||
D | OG | 2376 | LR Middle Object Sensor Signal | D | OG | 2376 | LR Middle Object Sensor Signal | ||||||||
E | D-GN | 2377 | RR Middle Object Sensor Signal | E | D-GN | 2377 | RR Middle Object Sensor Signal | ||||||||
F | PU | 2378 | RR Corner Object Sensor Signal | F | PU | 2378 | RR Corner Object Sensor Signal | ||||||||
G-M | -- | -- | Not Used | G-M | -- | -- | Not Used | ||||||||
|
| ||||||||||||||
|---|---|---|---|---|---|---|---|---|---|---|---|---|---|---|---|
Connector Part Information |
| Connector Part Information |
| ||||||||||||
Pin | Wire Color | Circuit No. | Function | Pin | Wire Color | Circuit No. | Function | ||||||||
A | GY | 120 | Fuel Pump Supply Voltage | A | GY | 120 | Fuel Pump Supply Voltage | ||||||||
B | D-GN | 890 | Fuel Tank Pressure Sensor Signal | B | D-GN | 890 | Fuel Tank Pressure Sensor Signal | ||||||||
C | GY | 2709 | 5-Volt Reference | C | GY/BK | 2709 | 5-Volt Reference | ||||||||
D | WH | 1310 | EVAP Canister Vent Solenoid Control | D | WH | 1310 | EVAP Canister Vent Solenoid Control | ||||||||
E | TN | 452 | Low Reference | E | TN | 2759 | Low Reference | ||||||||
F | D-BU | 1936 | Fuel Level Sensor Signal - Primary | F | L-BU | 1937 | Fuel Level Sensor Signal - Primary | ||||||||
G | L-BU | 1937 | Fuel Level Sensor Signal - Secondary | G | D-BU | 1936 | Fuel Level Sensor Signal - Secondary | ||||||||
H | -- | -- | Not Used | H | -- | -- | Not Used | ||||||||
J | RD/WH | 1540 | Battery Positive Voltage | J | OG | 1540 | Battery Positive Voltage | ||||||||
K | BK | 1050 | Ground | K | BK | 1050 | Ground | ||||||||
|
| ||||||||||||||
|---|---|---|---|---|---|---|---|---|---|---|---|---|---|---|---|
Connector Part Information |
| Connector Part Information |
| ||||||||||||
Pin | Wire Color | Circuit No. | Function | Pin | Wire Color | Circuit No. | Function | ||||||||
1 | RD/WH | 1040 | Battery Positive Voltage | 1 | RD/WH | 1040 | Battery Positive Voltage | ||||||||
2 | RD/WH | 640 | Battery Positive Voltage | 2 | RD/WH | 640 | Battery Positive Voltage | ||||||||
3 | PU | 1807 | Class 2 Serial Data (Primary) | 3 | PU | 1807 | Class 2 Serial Data (Primary) | ||||||||
4 | -- | -- | Not Used | 4 | -- | -- | Not Used | ||||||||
5 | GY | 1690 | Automatic Day/Night Mirror Signal | 5 | GY | 1690 | Automatic Day/Night Mirror Signal | ||||||||
6 | BK/WH | 351 | Ground | 6 | BK/WH | 251 | Ground | ||||||||
7 | BK | 350 | Ground | 7 | BK | 350 | Ground | ||||||||
8 | BK/WH | 351 | Ground | 8 | BK/WH | 351 | Ground | ||||||||
9 | TN | 1856 | Left Front Tweeter Speaker Output (+) (U57) | 9 | TN | 1856 | Left Front Tweeter Speaker Output (+) (U57) | ||||||||
L-BU | 1957 | Left Front Midrange Speaker Output (-) (U66) | L-BU | 1957 | Left Front Midrange Speaker Output (-) (U66) | ||||||||||
10 | YE | 1956 | Left Front Tweeter Speaker Output (-) (U57) | 10 | YE | 1956 | Left Front Tweeter Speaker Output (-) (U57) | ||||||||
D-BU | 1857 | Left Front Midrange Speaker Output (+) (U66) | D-BU | 1857 | Left Front Midrange Speaker Output (+) (U66) | ||||||||||
11 | D-BU/WH | 149 | Courtesy Lamp Supply Voltage | 11 | D-BU/WH | 149 | Courtesy Lamp Supply Voltage | ||||||||
12 | GY | 157 | Courtesy Lamp Control | 12 | GY | 157 | Courtesy Lamp Control | ||||||||
13 | PK | 1691 | Automatic Day/Night Mirror Low Reference (DR2/DR4/D24) | 13 | PK | 1691 | Automatic Day/Night Mirror Low Reference (DR2/DR4/D24) | ||||||||
14 | -- | -- | Not Used | 14 | -- | -- | Not Used | ||||||||
|
| ||||||||||||||
|---|---|---|---|---|---|---|---|---|---|---|---|---|---|---|---|
Connector Part Information |
| Connector Part Information |
| ||||||||||||
Pin | Wire Color | Circuit No. | Function | Pin | Wire Color | Circuit No. | Function | ||||||||
1 | YE | 1491 | Backlight Lamps Control | 1 | YE | 1491 | Backlight Lamps Control | ||||||||
2 | D-BU/WH | 149 | Courtesy Lamp Supply Voltage | 2 | D-BU/WH | 149 | Courtesy Lamp Supply Voltage | ||||||||
3 | GY | 157 | Courtesy Lamp Control | 3 | GY | 157 | Courtesy Lamp Control | ||||||||
4 | RD/WH | 640 | Battery Positive Voltage | 4 | RD/WH | 640 | Battery Positive Voltage | ||||||||
5 | PU | 1807 | Class 2 Serial Data (Primary) | 5 | PU | 1807 | Class 2 Serial Data (Primary) | ||||||||
6 | BK/WH | 351 | Ground | 6 | BK/WH | 351 | Ground | ||||||||
7-12 | -- | -- | Not Used | 7-12 | -- | -- | Not Used | ||||||||
|
| ||||||||||||||
|---|---|---|---|---|---|---|---|---|---|---|---|---|---|---|---|
Connector Part Information |
| Connector Part Information |
| ||||||||||||
Pin | Wire Color | Circuit No. | Function | Pin | Wire Color | Circuit No. | Function | ||||||||
1 | RD/WH | 1040 | Battery Positive Voltage | 1 | RD/WH | 1040 | Battery Positive Voltage | ||||||||
2 | RD/WH | 740 | Battery Positive Voltage | 2 | RD/WH | 740 | Battery Positive Voltage | ||||||||
3 | PU | 1807 | Class 2 Serial Data (Primary) | 3 | PU | 1807 | Class 2 Serial Data (Primary) | ||||||||
4 | BK/WH | 351 | Ground | 4 | BK/WH | 351 | Ground | ||||||||
5-7 | -- | -- | Not Used | 5-7 | -- | -- | Not Used | ||||||||
8 | PU | 1952 | Right Front Tweeter Speaker Output (-) (U57) | 8 | PU | 1952 | Right Front Tweeter Speaker Output (-) (U57) | ||||||||
D-GN | 1953 | Right Front Midrange Speaker Output (-) (U66) | D-GN | 1953 | Right Front Midrange Speaker Output (-) (U66) | ||||||||||
9 | L-GN | 1852 | Right Front Tweeter Speaker Output (+) (U57) | 9 | L-GN | 1852 | Right Front Tweeter Speaker Output (+) (U57) | ||||||||
OG | 1853 | Right Front Midrange Speaker Output (+) (U66) | OG | 1853 | Right Front Midrange Speaker Output (+) (U66) | ||||||||||
10 | D-BU/WH | 149 | Courtesy Lamp Supply Voltage | 10 | D-BU/WH | 149 | Courtesy Lamp Supply Voltage | ||||||||
11 | GY | 157 | Courtesy Lamp Control | 11 | GY | 157 | Courtesy Lamp Control | ||||||||
12-13 | -- | -- | Not Used | 12-13 | -- | -- | Not Used | ||||||||
14 | BK | 350 | Ground | 14 | BK | 350 | Ground | ||||||||
|
| ||||||||||||||
|---|---|---|---|---|---|---|---|---|---|---|---|---|---|---|---|
Connector Part Information |
| Connector Part Information |
| ||||||||||||
Pin | Wire Color | Circuit No. | Function | Pin | Wire Color | Circuit No. | Function | ||||||||
1 | YE | 1491 | Backlight Lamps Control | 1 | YE | 1491 | Backlight Lamps Control | ||||||||
2 | BN | 5295 | Power Window Switch Right Front Down Signal | 2 | BN | 5295 | Power Window Switch Right Front Down Signal | ||||||||
3 | PU | 2765 | Power Window Switch Right Front Express Signal | 3 | PU | 2765 | Power Window Switch Right Front Express Signal | ||||||||
4 | D-GN | 1184 | Power Window Switch Right Front Up Signal | 4 | D-GN | 1184 | Power Window Switch Right Front Up Signal | ||||||||
5 | BK/WH | 451 | Ground | 5 | BK/WH | 451 | Ground | ||||||||
6 | L-BU | 244 | Passenger Door Lock Switch Lock (Control or Supply Voltage) | 6 | L-BU | 244 | Passenger Door Lock Switch Lock (Control or Supply Voltage) | ||||||||
7 | D-BU | 245 | Passenger Door Lock Switch Unlock (Control or Supply Voltage) | 7 | D-BU | 245 | Passenger Door Lock Switch Unlock (Control or Supply Voltage) | ||||||||
8 | D-BU/WH | 149 | Courtesy Lamp Supply Voltage | 8 | D-BU/WH | 149 | Courtesy Lamp Supply Voltage | ||||||||
9 | GY | 157 | Courtesy Lamp Control | 9 | GY | 157 | Courtesy Lamp Control | ||||||||
10-12 | -- | -- | Not Used | 10-12 | -- | -- | Not Used | ||||||||
|
| ||||||||||||||
|---|---|---|---|---|---|---|---|---|---|---|---|---|---|---|---|
Connector Part Information |
| Connector Part Information |
| ||||||||||||
Pin | Wire Color | Circuit No. | Function | Pin | Wire Color | Circuit No. | Function | ||||||||
1 | RD/WH | 1040 | Battery Positive Voltage | 1 | RD/WH | 1040 | Battery Positive Voltage | ||||||||
2 | RD/WH | 840 | Battery Positive Voltage | 2 | RD/WH | 840 | Battery Positive Voltage | ||||||||
3 | PU | 1807 | Class 2 Serial Data (Primary) | 3 | PU | 1807 | Class 2 Serial Data (Primary) | ||||||||
4 | BK/WH | 351 | Ground | 4 | BK/WH | 351 | Ground | ||||||||
5 | TN | 1859 | Left Rear Midrange Speaker Output (+) | 5 | TN | 1859 | Left Rear Midrange Speaker Output (+) | ||||||||
6 | WH | 1959 | Left Rear Midrange Speaker Output (-) | 6 | WH | 1959 | Left Rear Midrange Speaker Output (-) | ||||||||
7 | BK | 350 | Ground | 7 | BK | 350 | Ground | ||||||||
8 | -- | -- | Not Used | 8 | -- | -- | Not Used | ||||||||
9 | GY | 295 | Door Lock Actuator Lock Control | 9 | GY | 295 | Door Lock Actuator Lock Control | ||||||||
10 | TN | 294 | Door Lock Actuator Unlock Control | 10 | TN | 294 | Door Lock Actuator Unlock Control | ||||||||
11-14 | -- | -- | Not Used | 11-14 | -- | -- | Not Used | ||||||||
|
| ||||||||||||||
|---|---|---|---|---|---|---|---|---|---|---|---|---|---|---|---|
Connector Part Information |
| Connector Part Information |
| ||||||||||||
Pin | Wire Color | Circuit No. | Function | Pin | Wire Color | Circuit No. | Function | ||||||||
1 | YE | 1491 | Backlight Lamps Control | 1 | YE | 1491 | Backlight Lamps Control | ||||||||
2 | YE | 1187 | Power Window Switch Left Rear Down Signal | 2 | YE | 1187 | Power Window Switch Left Rear Down Signal | ||||||||
3 | WH | 1185 | Power Window Switch Left Rear Up Signal | 3 | WH | 1185 | Power Window Switch Left Rear Up Signal | ||||||||
4 | BK/WH | 351 | Ground | 4 | BK/WH | 351 | Ground | ||||||||
5 | D-GN | 5048 | Power Window Switch Left Rear Express Signal | 5 | D-GN | 5048 | Power Window Switch Left Rear Express Signal | ||||||||
6 | TN | 1859 | Left Rear Midrange Speaker Output (+) | 6 | TN | 1859 | Left Rear Midrange Speaker Output (+) | ||||||||
7 | WH | 1959 | Left Rear Midrange Speaker Output (-) | 7 | WH | 1959 | Left Rear Midrange Speaker Output (-) | ||||||||
8-12 | -- | -- | Not Used | 8-12 | -- | -- | Not Used | ||||||||
|
| ||||||||||||||
|---|---|---|---|---|---|---|---|---|---|---|---|---|---|---|---|
Connector Part Information |
| Connector Part Information |
| ||||||||||||
Pin | Wire Color | Circuit No. | Function | Pin | Wire Color | Circuit No. | Function | ||||||||
1 | RD/WH | 1040 | Ignition 1 Voltage | 1 | RD/WH | 1040 | Ignition 1 Voltage | ||||||||
2 | RD/WH | 840 | Battery Positive Voltage | 2 | RD/WH | 840 | Battery Positive Voltage | ||||||||
3 | PU | 1807 | Class 2 Serial Data (Primary) | 3 | PU | 1807 | Class 2 Serial Data (Primary) | ||||||||
4 | BK/WH | 451 | Ground | 4 | BK/WH | 451 | Ground | ||||||||
5 | TN | 1855 | Right Rear Midrange Speaker Output (+) | 5 | TN | 1855 | Right Rear Midrange Speaker Output (+) | ||||||||
6 | OG | 1955 | Right Rear Midrange Speaker Output (-) | 6 | OG | 1955 | Right Rear Midrange Speaker Output (-) | ||||||||
7 | BK | 450 | Ground | 7 | BK | 450 | Ground | ||||||||
8-14 | -- | -- | Not Used | 8-14 | -- | -- | Not Used | ||||||||
|
| ||||||||||||||
|---|---|---|---|---|---|---|---|---|---|---|---|---|---|---|---|
Connector Part Information |
| Connector Part Information |
| ||||||||||||
Pin | Wire Color | Circuit No. | Function | Pin | Wire Color | Circuit No. | Function | ||||||||
1 | YE | 1491 | Backlight Lamps Control | 1 | YE | 1491 | Backlight Lamps Control | ||||||||
2 | D-GN | 1188 | Power Window Switch Right Rear Down Signal | 2 | D-GN | 1188 | Power Window Switch Right Rear Down Signal | ||||||||
3 | GY/BK | 1186 | Power Window Switch Right Rear Up Signal | 3 | GY/BK | 1186 | Power Window Switch Right Rear Up Signal | ||||||||
4 | BK/WH | 451 | Ground | 4 | BK/WH | 451 | Ground | ||||||||
5 | L-GN | 5049 | Power Window Switch Right Rear Express Signal | 5 | L-GN | 5049 | Power Window Switch Right Rear Express Signal | ||||||||
6 | TN | 1855 | Right Rear Midrange Speaker Output (+) | 6 | TN | 1855 | Right Rear Midrange Speaker Output (+) | ||||||||
7 | OG | 1955 | Right Rear Midrange Speaker Output (-) | 7 | OG | 1955 | Right Rear Midrange Speaker Output (-) | ||||||||
8-12 | -- | -- | Not Used | 8-12 | -- | -- | Not Used | ||||||||
|
| ||||||||||||||
|---|---|---|---|---|---|---|---|---|---|---|---|---|---|---|---|
Connector Part Information |
| Connector Part Information |
| ||||||||||||
Pin | Wire Color | Circuit No. | Function | Pin | Wire Color | Circuit No. | Function | ||||||||
A | BK | 850 | Ground | A | BK | 850 | Ground | ||||||||
B | L-GN | 24 | Backup Lamp Supply Voltage | B | WH | 24 | Backup Lamp Supply Voltage | ||||||||
C | YE | 32 | Instrument Panel Lamp Fuse Supply Voltage | C | D-BU | 32 | Instrument Panel Lamp Fuse Supply Voltage | ||||||||
|
| ||||||||||||||
|---|---|---|---|---|---|---|---|---|---|---|---|---|---|---|---|
Connector Part Information |
| Connector Part Information |
| ||||||||||||
Pin | Wire Color | Circuit No. | Function | Pin | Wire Color | Circuit No. | Function | ||||||||
A | OG | 122 | Rear Fog Lamp Supply Voltage | A | OG | 122 | Rear Fog Lamp Supply Voltage | ||||||||
B | L-GN | 24 | Backup Lamp Supply Voltage | B | WH | 24 | Backup Lamp Supply Voltage | ||||||||
C | BK | 850 | Ground | C | BK | 850 | Ground | ||||||||
D | YE | 32 | Instrument Panel Lamp Fuse Supply Voltage | D | D-BU | 32 | Instrument Panel Lamp Fuse Supply Voltage | ||||||||