| Table 1: | A/C Compressor Clutch |
| Table 2: | A/C Refrigerant Pressure Sensor |
| Table 3: | Air Temperature Actuator - Left |
| Table 4: | Air Temperature Actuator - Right |
| Table 5: | Ambient Air Temperature Sensor |
| Table 6: | Blower Motor - Auxiliary |
| Table 7: | Blower Motor Resistor Assembly - Auxiliary |
| Table 8: | Blower Motor |
| Table 9: | Blower Motor Control Module |
| Table 10: | Blower Motor Switch - Auxiliary |
| Table 11: | Blower Motor Switch - Rear Auxiliary |
| Table 12: | Evaporator Temperature Sensor |
| Table 13: | HVAC Control Module |
| Table 14: | Inside Air Temperature Sensor |
| Table 15: | Mode Actuator |
| Table 16: | Recirculation Actuator |
| Table 17: | Sunload/Ambient Light Sensor |
| |||||||
|---|---|---|---|---|---|---|---|
Connector Part Information |
| ||||||
Pin | Wire Color | Circuit No. | Function | ||||
1 | D-GN | 59 | A/C Compressor Clutch Supply Voltage | ||||
2 | BK | 750 | Ground (LY7) | ||||
BK | 1550 | Ground (LH2) | |||||
| |||||||
|---|---|---|---|---|---|---|---|
Connector Part Information |
| ||||||
Pin | Wire Color | Circuit No. | Function | ||||
A | TN | 452 | Low Reference (LY7) | ||||
TN | 470 | Low Reference (LH2) | |||||
B | GY | 596 | 5-Volt Reference (LY7) | ||||
GY | 2700 | 5-Volt Reference (LH2) | |||||
C | OG/BK | 380 | A/C Refrigerant Pressure Sensor Signal | ||||
| |||||||
|---|---|---|---|---|---|---|---|
Connector Part Information |
| ||||||
Pin | Wire Color | Circuit No. | Function | ||||
1 | GY | 705 | 5-Volt Reference | ||||
2 | -- | -- | Not Used | ||||
3 | YE | 61 | Low Reference | ||||
4 | -- | -- | Not Used | ||||
5 | L-BU | 733 | Driver Air Temperature Door Position Signal | ||||
6 | D-BU | 1199 | Driver Air Temperature Door Control B | ||||
7 | YE | 1791 | Driver Air Temperature Door Control A | ||||
| |||||||
|---|---|---|---|---|---|---|---|
Connector Part Information |
| ||||||
Pin | Wire Color | Circuit No. | Function | ||||
1 | YE | 61 | Low Reference | ||||
2 | -- | -- | Not Used | ||||
3 | GY | 705 | 5-Volt Reference | ||||
4 | -- | -- | Not Used | ||||
5 | D-BU | 1646 | Passenger Air Temperature Door Position | ||||
6 | GY/BK | 2778 | Passenger Air Temperature Door Control A | ||||
7 | WH/BK | 1236 | Passenger Air Temperature Door Control B | ||||
| |||||||
|---|---|---|---|---|---|---|---|
Connector Part Information |
| ||||||
Pin | Wire Color | Circuit No. | Function | ||||
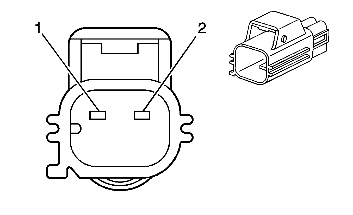
1 | L-GN/BK | 735 | Ambient Air Temperature Sensor Signal | ||||
2 | YE | 61 | Low Reference | ||||
| |||||||
|---|---|---|---|---|---|---|---|
Connector Part Information |
| ||||||
Pin | Wire Color | Circuit No. | Function | ||||
1 | OG | 1052 | Auxiliary Blower Motor Supply Voltage | ||||
2 | PU | 65 | Blower Motor Supply Voltage | ||||
| |||||||
|---|---|---|---|---|---|---|---|
Connector Part Information |
| ||||||
Pin | Wire Color | Circuit No. | Function | ||||
1 | OG | 1052 | Auxiliary Blower Motor Supply Voltage | ||||
2 | TN | 63 | Blower Motor Medium 1 Control | ||||
3 | L-BU | 72 | Medium 2 Blower Motor Control | ||||
4 | YE | 60 | Blower Motor Low Control | ||||
| |||||||
|---|---|---|---|---|---|---|---|
Connector Part Information |
| ||||||
Pin | Wire Color | Circuit No. | Function | ||||
1 | L-BU | 188 | Blower Motor Control Processor Supply Voltage | ||||
2 | BK/RD | 450 | Ground | ||||
| |||||||
|---|---|---|---|---|---|---|---|
Connector Part Information |
| ||||||
Pin | Wire Color | Circuit No. | Function | ||||
1 | BK/RD | 450 | Ground | ||||
2 | L-BU | 188 | Blower Motor Control Processor Supply Voltage | ||||
3 | GY/BK | 754 | Blower Motor Speed Control | ||||
4 | BK | 450 | Ground | ||||
| |||||||
|---|---|---|---|---|---|---|---|
Connector Part Information |
| ||||||
Pin | Wire Color | Circuit No. | Function | ||||
A | BK | 1050 | Ground | ||||
B | PU/WH | 5264 | Rear Auxiliary Mode Door Control | ||||
C | BK | 1050 | Ground | ||||
D | YE | 60 | Blower Motor Low Control | ||||
E | TN | 63 | Blower Motor Medium 1 Control | ||||
F | L-BU | 72 | Medium 2 Blower Motor Control | ||||
G | OG | 1052 | Auxiliary Blower Motor Supply Voltage | ||||
H | YE | 1491 | Backlight Lamps Control | ||||
| |||||||
|---|---|---|---|---|---|---|---|
Connector Part Information |
| ||||||
Pin | Wire Color | Circuit No. | Function | ||||
A | BK | 1050 | Ground | ||||
B | -- | -- | Not Used | ||||
C | PU/WH | 5264 | Rear Auxiliary Mode Door Control | ||||
D | YE | 60 | Blower Motor Low Control | ||||
E | TN | 63 | Blower Motor Medium Control | ||||
F | L-BU | 72 | Medium 2 Blower Motor Control | ||||
G | OG | 1052 | Auxiliary Blower Motor Supply Voltage | ||||
H | YE | 1491 | Backlight Lamps Control | ||||
| |||||||
|---|---|---|---|---|---|---|---|
Connector Part Information |
| ||||||
Pin | Wire Color | Circuit No. | Function | ||||
1 | GY | 731 | Evaporator Temperature Sensor Signal | ||||
2 | YE | 61 | Low Reference | ||||
| |||||||
|---|---|---|---|---|---|---|---|
Connector Part Information |
| ||||||
Pin | Wire Color | Circuit No. | Function | ||||
E1 | RD/WH | 340 | Battery Positive Voltage | ||||
E2 | -- | -- | Not Used | ||||
E3 | D-BU | 1199 | Driver Air Temperature Door Control B | ||||
E4 | WH/BK | 1236 | Passenger Air Temperature Door Control B | ||||
E5 | YE | 1318 | Mode Door Control B | ||||
E6 | PU | 1838 | Recirculation Door Control A | ||||
E7 | BN | 247 | Blower Motor Relay Control | ||||
E8 | GY/BK | 754 | Blower Motor Speed Control | ||||
E9 | PU | 1807 | Class 2 Serial Data | ||||
E10 | PU | 1807 | Class 2 Serial Data | ||||
E11 | L-GN | 1478 | Coolant Level Switch Signal | ||||
E12 | YE/BK | 1814 | Mode Door Position Signal | ||||
E13 | L-GN/BK | 735 | Ambient Air Temperature Sensor Signal | ||||
E14 | D-GN | 734 | Inside Air Temperature Sensor Signal | ||||
E15 | GY | 705 | 5-Volt Reference | ||||
E16 | -- | -- | Not Used | ||||
F1 | BN | 141 | Ignition 3 Voltage | ||||
F2 | -- | -- | Not Used | ||||
F3 | YE | 1791 | Driver Air Temperature Door Control A | ||||
F4 | GY/BK | 2778 | Passenger Air Temperature Door Control A | ||||
F5 | TN | 2273 | Mode Door Control A | ||||
F6 | D-GN | 1614 | Recirculation Door Control B | ||||
F7 | GY | 5127 | Afterboil Coolant Pump Supply Voltage (V92) | ||||
F8 | BK/WH | 451 | Ground | ||||
F9 | D-BU | 1646 | Passenger Air Temperature Door Position Signal | ||||
F10 | L-BU | 733 | Driver Air Temperature Door Position Signal | ||||
F11 | GY | 1548 | Passenger Sunload Sensor Signal | ||||
F12 | L-BU/BK | 590 | Driver Sunload Sensor Signal | ||||
F13 | WH | 278 | Ambient Light Sensor Signal | ||||
F14 | GY | 731 | Evaporator Temperature Sensor Signal | ||||
F15 | YE | 61 | Low Reference | ||||
F16 | -- | -- | Not Used | ||||
| |||||||
|---|---|---|---|---|---|---|---|
Connector Part Information |
| ||||||
Pin | Wire Color | Circuit No. | Function | ||||
1 | D-GN | 734 | Inside Air Temperature Sensor Signal | ||||
2 | YE | 61 | Low Reference | ||||
| |||||||
|---|---|---|---|---|---|---|---|
Connector Part Information |
| ||||||
Pin | Wire Color | Circuit No. | Function | ||||
1 | YE | 61 | Low Reference | ||||
2 | -- | -- | Not Used | ||||
3 | GY | 705 | 5-Volt Reference | ||||
4 | -- | -- | Not Used | ||||
5 | GY | 1814 | Mode Door Position Signal | ||||
6 | PK | 1318 | Mode Door Control B | ||||
7 | L-BU | 2273 | Mode Door Control A | ||||
| |||||||
|---|---|---|---|---|---|---|---|
Connector Part Information |
| ||||||
Pin | Wire Color | Circuit No. | Function | ||||
1 | D-GN | 1614 | Recirculation Door Control B | ||||
2 | -- | -- | Not Used | ||||
3 | PU | 1838 | Recirculation Door Control A | ||||
4-6 | -- | -- | Not Used | ||||
7 | BN | 41 | Ignition 3 Voltage | ||||
| |||||||
|---|---|---|---|---|---|---|---|
Connector Part Information |
| ||||||
Pin | Wire Color | Circuit No. | Function | ||||
A | L-BU/BK | 590 | Driver Sunload Sensor Signal | ||||
B | GY | 1548 | Passenger Sunload Sensor Signal | ||||
C | YE | 61 | Low Reference | ||||
D | WH | 278 | Ambient Light Sensor Signal | ||||