GM Service Manual Online
For 1990-2009 cars only

Loss of Drive or Reverse, Loss of Transmission Fluid, Noise When Shifted into Driver or Reverse (Replace and Torque Transmission Output Shaft Flange Nut)

Subject:Loss of Drive or Reverse, Loss of Transmission Fluid, Noise When Shifted into Drive or Reverse (Replace and Torque Transmission Output Shaft Flange Nut)

Models:2003-2004 Cadillac CTS
2004 Cadillac SRX
with Automatic Transmission and Rear Wheel Drive (RPO's M22, M82, MV3, MX5)



This Bulletin is being revised to include additional models and Loctite™ usage. Please discard Corporate Service Bulletin 03-07-30-059 (Section 07 -- Transmission/Transaxle)


Condition

Some customers may comment on a grinding noise when shifted into Drive or Reverse; others may comment on a no Drive or a no Reverse condition; other customers may comment of a transmission fluid leak.

Cause

Disengagement of the transmission output shaft flange nut may be the cause.

Correction

Follow the service procedure below to correct this condition:

    Important: With the vehicle properly supported on the hoist, shift the vehicle transmission out of the Park position into the Neutral position.

  1. Raise and suitably support the vehicle. Refer to Lifting and Jacking the Vehicle in the General Information subsection of the Service Manual.

  2. Object Number: 772383  Size: SH
  3. Remove the bolts securing the brace to the floor pan.
  4. Remove the floor panel tunnel brace from the floor panel.
  5. Position a jack stand or other suitable support under the front resonator of the exhaust system.
  6. Remove the nuts securing the exhaust system to the catalytic converters on both sides.
  7. Disconnect the exhaust system from the rubber hangers and remove the exhaust system from the vehicle.
  8. Locate a suitable location from which a mechanic's wire support may be attached to support the front portion of the propshaft after you disconnect it from the transmission drive flange.

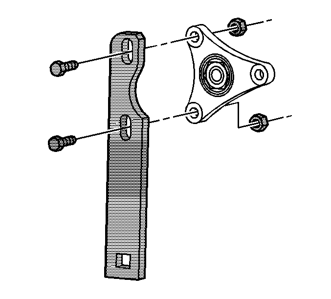
  9. Object Number: 801931  Size: SH

    Important: Remove only the propeller shaft coupler-to-transmission flange bolts. Do NOT remove the coupler from the propeller shaft.

  10. Remove the propeller shaft coupler-to-transmission flange bolts (2) and nuts (3). Slide the propshaft slightly rearward to clear the transmission output drive flange and attach the propshaft to the mechanic's wire.

  11. Object Number: 804354  Size: SH
  12. Install the J 45012 to the transmission drive flange.
  13. Important: DO NOT REUSE the drive flange nut.

  14. While holding the J 45012, remove the drive flange nut using the J 29873, a 30 mm socket or the equivalent.
  15. Remove the drive flange thrust washer.
  16. Important: 

       • The NEW nut included with the kit has pinkish/red compound on the treads. It is extremely important that this compound be left on the threads. In addition, a strip of Loctite™ 609 General Purpose Retaining Compound, or equivalent, should be applied across the threads.
       • To ensure proper adhesion and fastener retention of the out put shaft to the drive flange nut, the output shaft threads must be free of debris and/or oil residue prior to the application of threadlocker. Thoroughly clean the threads using Brake Clean, denatured alcohol, or the equivalent (DO NOT USE CARB CLEANER. CARB CLEANER LEAVES AN OILY RESIDUE) and allow to dry.

  17. Install the NEW drive flange thrust (wave) washer from kit P/N 96041805.
  18. While holding the J 45012, install a NEW drive flange nut from kit P/N 96041805.
  19. Tighten
    Tighten the drive flange nut to 60 N·m(44 lb ft).

  20. Remove the J 45012 from the drive flange.
  21. Important: To ensure proper adhesion and fastener retention if reusing the propeller shaft to flange nuts and bolts, the threads must be free of debris and/or oil residue prior to the application of threadlocker. Thoroughly clean the threads using Brake Clean, denatured alcohol or the equivalent (DO NOT USE CARB CLEANER. CARB CLEANER LEAVES AN OILY RESIDUE) and allow to dry. Apply High Temp-High Strength threadlocker Loctite™ 272, GM P/N 89021297 (Canadian P/N 10953488), or the equivalent, to the propeller shaft to flange bolts. Ensure that there are no gaps in the threadlocker along the length of the filled area of the bolt. Allow the threadlocker to cure approximately ten minutes before installation.

  22. Re-install the propeller shaft coupler to the transmission flange.
  23. Tighten
    Tighten the propeller shaft coupler-to-transmission flange bolts to 85N·m(63 lb ft).

  24. Re-install the exhaust system.
  25. Tighten
    Tighten the catalytic converter nuts to 15N·m(11 lb ft).

  26. Re-install the floor pan brace and bolts to the floor pan.
  27. Tighten
    Tighten the floor panel tunnel brace bolts to 25N·m(18 lb ft).

  28. Vehicles requiring additional transmission fluid, refer to Transmission Fluid Checking Procedure SI Document ID # 856433.
  29. Lower the vehicle.

Parts Information

Part Number

Description

Qty

96041805

Nut, drive shaft flange (includes washer)

1

89021297

In Canada, use 10953488

Threadlocker, 272 Loctite™

1

Available At Your Local Parts Supplier

Loctite™ 609 General Purpose Retaining Compound

1

For additional information on Loctite™, contact www.Loctite.com or call in the U.S., 1-800-562-8483. In Canada, call 1-800-263-5043.

Parts are currently available from GMSPO. This condition will only be experienced by a limited number of customers.

Warranty Information

For vehicles repaired under warranty, use:

Labor Operation

Description

Labor Time

K9502

Replace Drive Shaft Output Shaft Flange Nut

0.8 hr

Add A

Fill Transmission

0.2-0.4 hr