GM Service Manual Online
For 1990-2009 cars only

Crankshaft Bearing Installation Procedure

    Important: If the crankshaft bearings have been used in a running engine, you must replace them with NEW crankshaft bearings for reassembly.

  1. Clean the crankcase crank bore with a lint-free cloth.
  2. Clean all the oil from the backside of new bearing halves.

  3. Object Number: 902742  Size: SH
  4. Install the new upper crankshaft bearings into position. The thrust bearing belongs in the number 3 journal. Ensure that the upper bearing insert contains the oil transfer hole and groove. Roll the bearing into position so that the lock tang engages the crank slot. The bearing must fit flush with the upper crankcase.

  5. Object Number: 902744  Size: SH
  6. Install the new lower crankshaft bearings into position in the main bearing caps. The lower crankshaft bearings are identified by NO grooves or holes. The bearings must fit flush with the crankshaft bearing caps.

Crankshaft Installation Procedure


    Object Number: 1864436  Size: SH
  1. If removed, install the crankshaft key. Lightly tap the key in place with a small soft face, bronze/plastic, hammer until it bottoms in the keyway.

  2. Object Number: 902743  Size: SH
  3. Gently lower the crankshaft into position in the cylinder block.

Crankshaft Bearing Clearance Measurement Procedure

Tools Required

    • J 6125-1B Slide Hammer Adapter
    • J 41818 Crankshaft Bearing Cap Remover
    • J 45059 Angle Meter

    Object Number: 1553593  Size: SH
  1. Place a length of fresh, room temperature plastic gaging material all the way across all the crankshaft bearing journals.
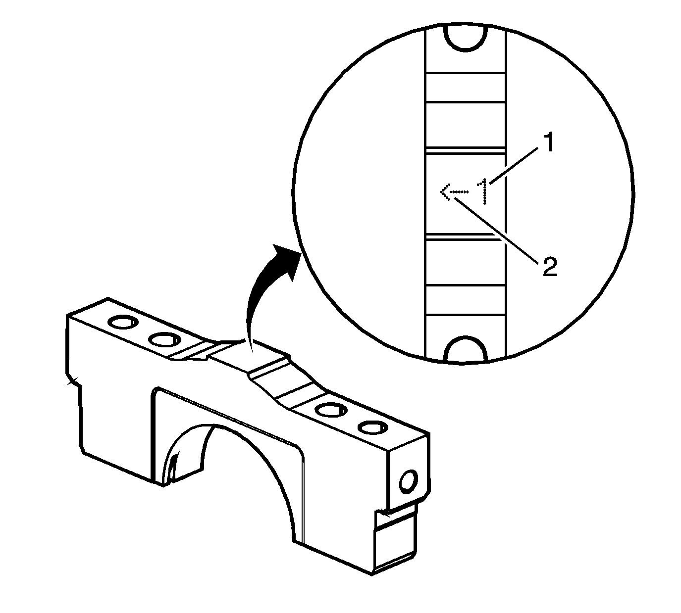
  2. Identify the proper order of the main bearing caps. The main bearing caps are numbered 1 (1) through 4, with the front main bearing cap marked with the number 1. The arrow (2) is to be oriented to the front of the engine.

  3. Object Number: 902745  Size: SH
  4. Install the crankshaft main bearing caps.
  5. Loosely install the original inner main cap bolts.
  6. Loosely install the original outer main cap bolts.

  7. Object Number: 902789  Size: SH
  8. Loosely install the original short/inner side main cap bolts.
  9. Loosely install the original long/outer side main cap bolts.

  10. Object Number: 1553597  Size: SH
  11. Tap the crankshaft main bearing caps with a soft-faced hammer.
  12. Tighten the main caps bolts using the J 45059 in the following sequence:

  13. Object Number: 1553599  Size: SH

    Notice: Refer to Fastener Notice in the Preface section.

  14. Tighten the inboard bolts (1-8).
  15. Tighten
    Tighten the inboard bolts to 20 N·m (15 lb ft) plus 80 degrees.


    Object Number: 1553600  Size: SH
  16. Tighten the outboard bolts (9-16).
  17. Tighten
    Tighten the outboard bolts to 15 N·m (11 lb ft) plus 110 degrees.


    Object Number: 1553602  Size: SH
  18. Tighten the short/inner bolts (17-20).
  19. Tighten
    Tighten the short/inner bolts to 30 N·m (22 lb ft) plus 60 degrees.

  20. Tighten the long/outer bolts (21-24).
  21. Tighten
    Tighten the long/outer bolts to 30 N·m (22 lb ft) plus 60 degrees.

    Important: Do not rotate the crankshaft.

  22. After reaching final torque, allow the assembly to sit for 2 minutes.

  23. Object Number: 902789  Size: SH
  24. Remove the crankshaft bearing cap side bolts.

  25. Object Number: 902745  Size: SH
  26. Remove the crankshaft bearing cap outer bolts.
  27. Remove the crankshaft bearing cap inner bolts.
  28. Remove the crankshaft bearing caps using the J 6125-1B and J 41818 .

  29. Object Number: 54236  Size: SH
  30. Determine the crankshaft bearing clearance by comparing the width of the flattened plastic gaging material at its widest point with the graduation on the gaging material container.
  31. Important: The crankshaft bearings CAN be reused after checking the clearance if the bearings have never been used in a running engine.

  32. Compare your measurements with the Engine Mechanical Specifications . If the new bearings do not provide the proper crankshaft to bearing clearance, inspect the following:
  33. 20.1. Re-measure the crankshaft journals for the correct specified size and ensure the proper new bearings are being installed. If the crankshaft journals are incorrectly sized, replace or regrind the crankshaft. Crankshaft machining is permitted and undersized bearings are available.
    20.2. Re-measure the engine block crankshaft bearing bore diameter to ensure proper size. The engine block crankshaft bearing bore is not machinable and the block must be replaced if out of specification.
  34. Clean the plastic gaging material from the crankshaft bearing journals with a soft, lint-free cloth.

  35. Object Number: 902743  Size: SH
  36. Lift the crankshaft out of the cylinder block.

  37. Object Number: 1553604  Size: SH
  38. Apply a liberal amount of crankshaft prelube GM P/N 1052367 (Canadian P/N 992869) or clean engine oil GM P/N 12345501 (Canadian P/N 992704) to the upper and lower bearing surfaces.

  39. Object Number: 902743  Size: SH
  40. Gently lower the crankshaft into position in the cylinder block.

  41. Object Number: 1553593  Size: SH
  42. Identify the proper order of the main bearing caps. The main bearing caps are numbered 1 (1) through 4, with the front main bearing cap marked with the number 1. The arrow (2) is to be oriented to the front of the engine.

  43. Object Number: 902745  Size: SH
  44. Install the crankshaft main bearing caps.
  45. Loosely install the original inner main cap bolts.
  46. Loosely install the NEW outer main cap bolts.

  47. Object Number: 1553597  Size: SH
  48. Tap the crankshaft main bearing caps with a soft-faced hammer.

  49. Object Number: 902789  Size: SH

    Important: The side main cap bolts originally have a sealant on the flange of the bolt head. NEW bolts must be used. If NEW bolts are not used, oil can leak from the crankcase past the bolts.

  50. Loosely install the NEW short/inner side main cap bolts.
  51. Loosely install the NEW long/outer side main cap bolts.
  52. Tighten the main cap bolts using the J 45059 in the following sequence:

  53. Object Number: 1553599  Size: SH
  54. Tighten the inboard bolts (1-8).
  55. Tighten
    Tighten the inboard bolts to 20 N·m (15 lb ft) plus 80 degrees.


    Object Number: 1553600  Size: SH
  56. Tighten the outboard bolts (9-16).
  57. Tighten
    Tighten the outboard bolts to 15 N·m (11 lb ft) plus 110 degrees.


    Object Number: 1553602  Size: SH
  58. Tighten the short/inner bolts (17-20).
  59. Tighten
    Tighten the short/inner bolts to 30 N·m (22 lb ft) plus 60 degrees.

  60. Tighten the long/outer bolts (21-24).
  61. Tighten
    Tighten the long/outer bolts to 30 N·m (22 lb ft) plus 60 degrees.

  62. Ensure that the crankshaft turns without binding or noise.