GM Service Manual Online
For 1990-2009 cars only
Figure 1:

Forward Lamp Harness


Object Number: 1245398  Size: LF
(1)Ambient Air Temperature Sensor
(2)Fuse Block Underhood - C1
(3)Hood Ajar Switch
(4)C112
(5)Repeater Lamp - RF (T90)
(6)C109
(7)G104
(8)Cooling Fan - Right
(9)Cooling Fan - Left
(10)Horn Assembly
(11)C110
(12)Repeater Lamp - Left (T90)
(13)C111
(14)Headlamp Leveling Sensor - Front
Figure 2:

Engine Harness Routing 1 of 5 (LH2)


Object Number: 1252831  Size: LF
(1)Fuel Injector 8
(2)Ignition Coil 8
(3)Fuel Injector 6
(4)Ignition Coil 6
(5)Fuel Injector 4
(6)Ignition Coil 4
(7)Fuel Injector 2
(8)Ignition Coil 2
(9)Camshaft Position (CMP) Intake Actuator Solenoid - Bank 2
(10)Camshaft Position (CMP) Exhaust Actuator Solenoid - Bank 2
(11)Camshaft Position (CMP) Intake Actuator Solenoid - Bank 1
(12)Camshaft Position (CMP) Exhaust Actuator Solenoid - Bank 1
(13)Ignition Coil 1
(14)Fuel Injector 1
(15)Ignition Coil 3
(16)Fuel Injector 3
(17)Ignition Coil 5
(18)Fuel injector 5
(19)Ignition Coil 7
(20)Fuel Injector 7
Figure 3:

Engine Harness Routing 2 of 5 (LH2)


Object Number: 1252838  Size: LF
(1)Evaporative Emission (EVAP) Canister Purge Valve
(2)Camshaft Position (CMP) Position Sensor Intake - Bank 1
(3)Camshaft Position (CMP) Position Sensor Exhaust - Bank 1
(4)C175
(5)Suspension Position Sensor - LF
(6)Variable Effort Steering Actuator
(7)Wheel Speed Sensor (WSS) - LF
(8)Engine Oil Level Switch
(9)Engine Oil Pressure (EOP) Sensor
(10)A/C Compressor Clutch
(11)Engine Control Module (ECM) - C1
(12)Engine Control Module (ECM) - C2
(13)Engine Control Module (ECM) - C3
(14)A/C Refrigerant Pressure Sensor
(15)Inflatable Restraint Sensing and Diagnostics Module (SDM)
(16)Brake Fluid Level Switch
(17)C113
(18)Throttle Position (TP) Sensor
(19)Mass Air Flow (MAF) Sensor
Figure 4:

Engine Harness Routing 3 of 5 (LH2)


Object Number: 1252842  Size: LF
(1)C102
(2)C107
(3)C140
(4)Heated Oxygen Sensor (HO2S) - Bank 2 Sensor 1
(5)C104
(6)Suspension Position Sensor - RF
(7)G100
(8)G107
(9)Wheel Speed Sensor (WSS) - RF
(10)Engine Coolant Temperature (ECT) Sensor
(11)Heated Oxygen Sensor (HO2S) - Bank 2 Sensor 2
(12)C175
(13)Heated Oxygen Sensor (HO2S) - Bank 1 Sensor 2
(14)Heated Oxygen Sensor (HO2S) - Bank 1 Sensor 1
(15)C139
Figure 5:

Engine Harness Routing 4 of 5 (LH2)


Object Number: 1252843  Size: LF
(1)C139
(2)Manifold Absolute Pressure (MAP) Sensor
(3)Suspension Damper - LF
(4)Mass Air Flow (MAF) Sensor
(5)Engine Control Module (ECM) Connectors
(6)A/C High Pressure Switch
(7)After Boil Coolant Pump (V92)
(8)Generator
(9)Brake Pressure Modulator Valve (BPMV)
(10)Sensing and Diagnostic Module (SDM)
(11)C113
(12)Wheel Speed Sensor (WSS) - RF
(13)Suspension Position Sensor - RF
(14)Underhood Fuse Block - C5
(15)C105
(16)C101
(17)Transmission Control Module (TCM)
(18)Cam Sensor ODD - Exhaust
(19)Cam Sensor ODD - Intake
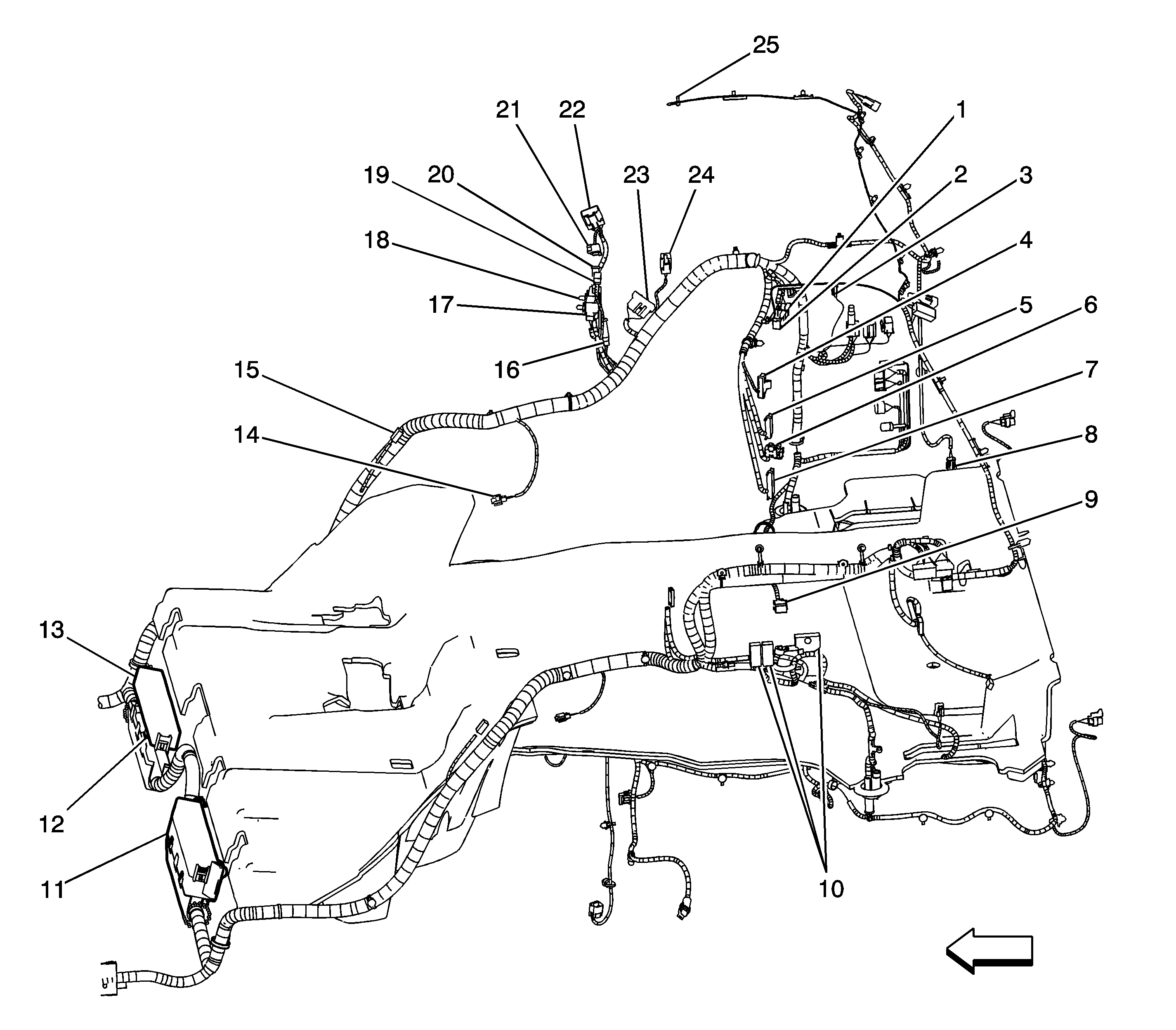
Figure 6:

Engine Harness Routing 5 of 5 (LH2)


Object Number: 1253071  Size: LF
(1)S101
(2)S100
(3)S118
(4)S115
(5)S114
(6)S142
(7)S111
(8)S113
(9)S131
Figure 7:

Engine Harness Components 1 of 2 (LY7)


Object Number: 1527309  Size: LF
(1)C108
(2)C105
(3)C101
(4)Barometric Pressure (BARO) Sensor
(5)Intake Runner Solenoid
(6)S123
(7)S127/S128
(8)C102
(9)C175
(10)G111/G112
(11)S120
(12)Throttle Body Connector
(13)S124
(14)G110
(15)G114/G113
Figure 8:

Engine Harness Components 2 of 2 (LY7)


Object Number: 1527312  Size: LF
(1)Engine Control Module (ECM) Connector
(2)S115
(3)S103
(4)S102
(5)S109
(6)S108
(7)S111
(8)S118
(9)S100
(10)S101
(11)S117
(12)S113
(13)G108/G109
(14)S125
(15)S126
(16)S114
(17)S122
Figure 9:

I/P Harness - Front Engine Compartment


Object Number: 1887010  Size: LF
(1)Battery
(2)C102
(3)G101
(4)C103
Figure 10:

Left Side of the I/P


Object Number: 1886923  Size: LF
(1)C202
(2)C200
(3)Data Link Connector (DLC)
Figure 11:

Right Side of the I/P


Object Number: 1886919  Size: LF
(1)C204
(2)SP200
(3)C201
Figure 12:

Under Floor Console


Object Number: 1886897  Size: LF
(1)HVAC Control Module
(2)C205
(3)C304
(4)C303
Figure 13:

HVAC Actuators


Object Number: 803129  Size: LF
(1)Recirculation Actuator
(2)C322 (Inline to I/P Harness)
(3)Blower Motor
(4)Blower Motor Control Module
(5)Air Temperature Actuator - Right
(6)Mode Actuator
(7)Air Temperature Actuator - Left
(8)Inside Air Temperature Sensor
(9)C321 (Inline to I/P Harness)
Figure 14:

Steering Column Components - 1 of 2


Object Number: 1379391  Size: LF
(1)Inflatable Restraint Steering Wheel Module Coil Connector
(2)Inflatable Restraint Steering Wheel Module Coil Connector
(3)C208
(4)Ignition Lock Cylinder Solenoid
(5)Windshield Wiper Washer Switch
(6)Ignition Lock Cylinder Case
(7)Theft Deterrent Module (TDM)
(8)Ignition Switch Connector
(9)C202
(10)C203
(11)Fuse Block - Steering Column
(12)Adjustable Pedal Switch (JF4)
(13)Steering Tilt Lever
(14)Turn Signal/Multifunction Switch
Figure 15:

Steering Wheel Components


Object Number: 1374799  Size: LF
(1)Inflatable Restraint Steering Wheel Module/Horn Switch
(2)Steering Wheel Controls - Left
(3)Steering Wheel Controls - Right
(4)Steering Wheel Controls - Left Connector
(5)C208
(6)Steering Wheel
(7)Steering Column
(8)Inflatable Restraint Steering Wheel Module Coil
(9)Inflatable Restraint Steering Wheel Module Connector C1
(10)Inflatable Restraint Steering Wheel Module Connector C2
(11)C208
(12)Steering Wheel Controls - Right Connector
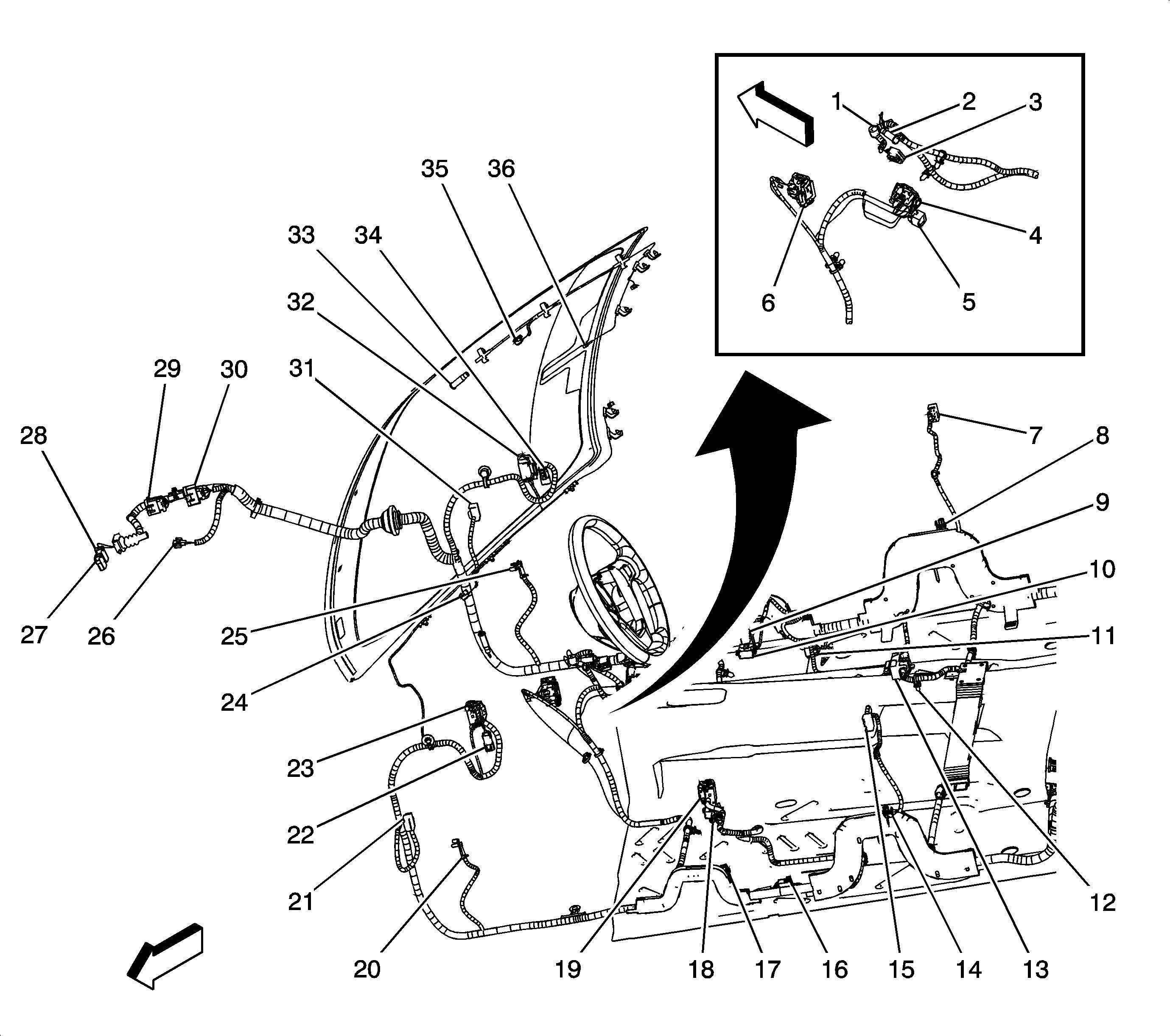
Figure 16:

Body Harness Routing 1 of 5


Object Number: 1245396  Size: LF
(1)Coax Splice and Video Shielding
(2)Coax
(3)C312
(4)C205
(5)Automatic Transmission Shifter Lever Connector
(6)C303
(7)C800
(8)Inflatable Restraint Side Impact Sensor (SIS) - Right
(9)C307
(10)C306
(11)Yaw/Longitudinal Acceleration Sensor
(12)G306
(13)Inflatable Restraint Sensing and Diagnostic Module (SDM)
(14)Inflatable Restraint Side Impact Sensor (SIS) - Left
(15)C700
(16)Splice Pack SP300
(17)G307
(18)C301
(19)C300
(20)G200
(21)C500
(22)Inflatable Restraint Steering Wheel Module
(23)C200
(24)Upper Speaker- LF Tweeter
(25)G201
(26)Suspension Damper - RF
(27)Fuse Block Underhood - C3
(28)Fuse Block Underhood - C2
(29)C105
(30)C101
(31)C600
(32)C201
(33)Radio Antenna Coax
(34)Inflatable Restraint I/P Module
(35)Upper Speaker- RF Tweeter
(36)Antenna Pre-Amplifier
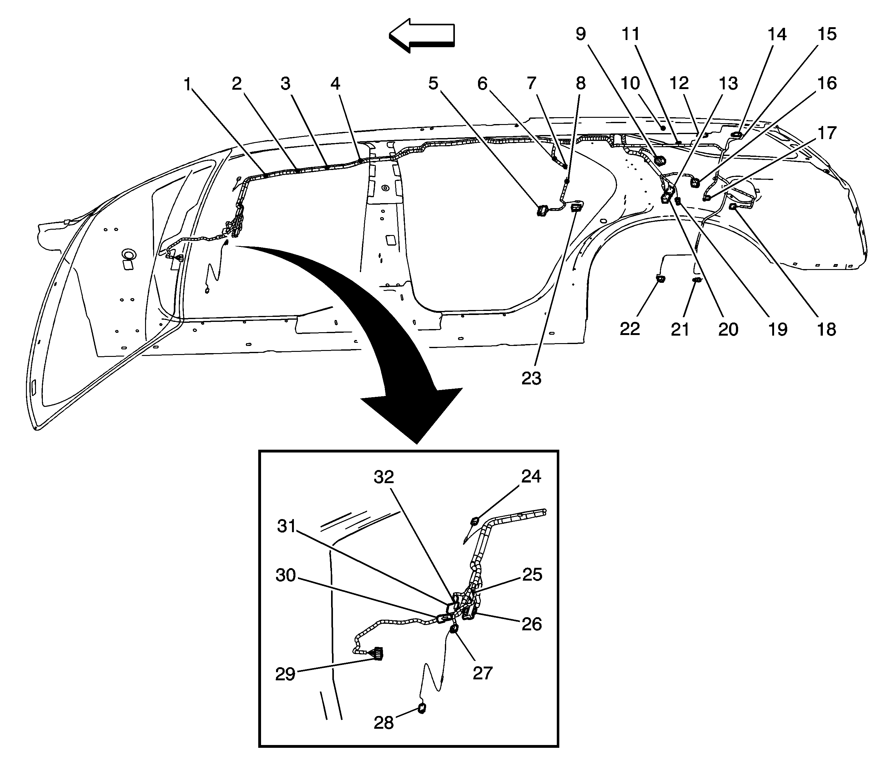
Figure 17:

Body Harness Routing 2 of 5


Object Number: 1245757  Size: LF
(1)Rear Integration Module (RIM) C1
(2)Rear Integration Module (RIM) C2
(3)Traffic Information Receiver Coax
(4)Door Lock Relay-Liftgate
(5)Suspension Control Module (SCM) - C1
(6)Suspension Control Module (SCM) - C3
(7)Suspension Control Module (SCM) - C2
(8)Rear Subwoofer
(9)C311
(10)TV Tuner Connectors (U2Y\U2X)
(11)Fuse Block - Left Rear
(12)Fuse Block-Left Rear Power Feed
(13)Fuse Block-Right Rear
(14)Suspension Damper - RR
(15)Inflatable Restraint Roof Rail Module-Right
(16)Coax Connector
(17)G308
(18)C314
(19)Coax Connector
(20)Coax Connector
(21)C316
(22)C305
(23)Splice Pack SP304
(24)C310
(25)Antenna Pre-Amplifier
Figure 18:

Body Harness Routing 3 of 5


Object Number: 1245759  Size: LF
(1)C401
(2)Vehicle Communication Interface Module (VCIM) Connectors
(3)Liftgate Latch Assembly - LH
(4)Vehicle Communication Interface Module (VCIM) Connectors
(5)Tail Lamp Assembly - RH
(6)Blower Motor Assembly - Auxiliary C2
(7)Blower Motor Assembly - Auxiliary C1
(8)Tail Lamp Assembly - LH
(9)Rear Parking Assist (RPA) Module
(10)Suspension Damper - RR
(11)Inflatable Restraint Roof Rail Module - Left
Figure 19:

Body Harness Routing 4 of 5


Object Number: 1245762  Size: LF
(1)C402
(2)Automatic Level Control (ALC) Compressor
(3)C420
(4)Wheel Speed Sensor (WSS) - RR
(5)Suspension Position Sensor - RR
(6)LH Tail Lamp Harness Connector
(7)Suspension Position Sensor - LR
(8)Wheel Speed Sensor (WSS) - LR
Figure 20:

Body Harness Routing 5 of 5 (Splices)


Object Number: 1245765  Size: LF
(1)S304 (AH8)
(2)S303
(3)S302 (C57/C3B/CF5)
(4)S309 (w/o T79)
(5)S406 (C57)
(6)S322 (T79)
(7)S309 (w/o T79)
(8)S401
(9)S402
(10)S323 (w/o T79)
(11)S317 (w/o T79)
(12)S321 (T79)
(13)S403
(14)S404
(15)S305 (AH8/KA1)
(16)Splice Pack SP300
Figure 21:

Headliner (w/Sunroof)


Object Number: 1245391  Size: LF
(1)S312
(2)S319
(3)S311
(4)S314
(5)Blower Motor Switch - Rear Auxiliary
(6)S408
(7)S308
(8)S307
(9)C305 (Cellular Antenna)
(10)Phone Antenna (UE1)
(11)S313
(12)Radio Antenna Module - Passenger
(13)C314
(14)Passenger Side RFM/RFA
(15)Passenger Side ARS
(16)C310
(17)Reading/Courtesy Lamp - Rear
(18)Rear Parking Assist (RPA) Display
(19)Headliner to Body Coax
(20)C308
(21)FM2 Antenna Signal - Driver
(22)Radio Antenna Module - Driver
(23)Reading/Courtesy Lamp - Center
(24)Vanity Mirror Lamp - Right
(25)Sunroof Switch-Rear (Mega)
(26)Blower Motor Switch - Auxiliary
(27)Rear Wiper/Washer Switch
(28)Vanity Mirror Lamp - Left
(29)Inside Rearview Mirror
(30)Noise Compensation Microphone
(31)Courtesy/Reading Lamp-Front
(32)Sunroof Switch
Figure 22:

Sunroof (CF5)


Object Number: 1277733  Size: LF
(1)Sunroof Control Module
(2)Front Sunshade Control Module
(3)C311
(4)C315
(5)Front Sunshade Switch
(6)Sunroof Switch
Figure 23:

Console Harness Routing


Object Number: 1250663  Size: LF
(1)Traction Control Switch
(2)Coax Splice and Shield
(3)C304
(4)C312
(5)Coax Splice and Shield
(6)S315
(7)Coax Splice and Shield
(8)Rear Seat Infotainment - C1
(9)S316
(10)Auxiliary Power Outlet - RR
(11)Auxiliary Power Outlet - LR
(12)Display Module
(13)Rear Seat Infotainment
(14)Rear Seat Infotainment - C2
(15)Coax Splice and Shield
Figure 24:

Driver Door Harness Routing


Object Number: 1250986  Size: LF
(1)Driver Door Switch Assembly (DDSA)
(2)Window Motor - Driver
(3)Personalization
(4)C500, C600 Similar in Front Passenger Door
(5)P500
(6)Speaker - LF Door
(7)Driver Door Module (DDM) - C5
(8)DDM - C4
(9)DDM - C3
(10)DDM - C2
(11)DDM - C1
(12)Courtesy Lamp - Left Front Door
(13)C501, C601 Similar in Front Passenger Door
(14)S501
(15)Door Latch Assembly - Driver
(16)S502
(17)Door Lock Switch - Driver
Figure 25:

Left Rear Door Harness Routing


Object Number: 1258728  Size: LF
(1)Window Switch - LR
(2)Left Rear Door Module (LRDM) Connectors
(3)C700, C800 Similar in RR Door
(4)S701
(5)S702
(6)Door Speaker - LR
(7)S703
(8)Window Motor - LR
(9)C701, C801 Similar in RR Door
(10)Door Latch Assembly - LR
Figure 26:

Liftgate Harness


Object Number: 1250561  Size: LF
(1)Center High Mounted Stop Lamp (CHMSL)
(2)C403
(3)C404
(4)Rear Defogger
(5)C901
(6)Backup Lamp - Left
(7)License Lamp - Left
(8)Door Latch Assembly - Liftgate C2
(9)Door Latch Assembly - Liftgate C1
(10)License Lamp - Right
(11)Backup Lamp - Right
(12)Courtesy Lamp - Liftgate
(13)S902
(14)Rear Defogger
(15)S900
(16)C401
(17)Rear Window Wiper Motor
Figure 27:

Rear Exterior Lights


Object Number: 1265812  Size: LF
(1)Center High Mounted Stop Lamp (CHMSL)
(2)Courtesy Lamp - Liftgate
(3)Tail Lamp Assembly - Right
(4)Tail Lamp Drive Module - Right
(5)Object Sensor - RR Corner
(6)Backup Lamp - Right
(7)License Lamp - Right
(8)Object Sensor - RR Middle
(9)Object Sensor - LR Middle
(10)License Lamp - Left
(11)Backup Lamp - Left
(12)Object Sensor - LR Corner
(13)Tail Lamp Drive Module - Left
(14)Tail Lamp Assembly - Left
(15)C901
(16)Fog Lamp - LR/RR (T79)
Figure 28:

Rear Fascia Harness Routing


Object Number: 1253345  Size: MF
(1)Rear Object Sensor - RR Corner
(2)Rear Object Sensor - RR Middle
(3)Rear Object Sensor - LR Middle
(4)S402
(5)S401
(6)Rear Object Sensor - LR Corner
(7)C402
(8)Rear Parking Assist (RPA) Harness
(9)Body Harness