| Table 1: | Left Cylinder Head Camshaft Cover Face |
| Table 2: | Left Cylinder Head Front Face |
| Table 3: | Left Cylinder Head Intake Face |
| Table 4: | Left Cylinder Head Exhaust Face |
| Table 5: | Left Cylinder Head Rear Face |
| Table 6: | Right Cylinder Head Camshaft Cover Face |
| Table 7: | Right Cylinder Head Front Face |
| Table 8: | Right Cylinder Head Intake Face |
| Table 9: | Right Cylinder Head Exhaust Face |
| Table 10: | Right Cylinder Head Rear Face |
| Table 11: | Engine Block Front |
| Table 12: | Engine Block Left Side |
| Table 13: | Engine Block Right Side |
| Table 14: | Engine Block Rear |
| Table 15: | Engine Block Top |
| Table 16: | Engine Block Left Deck Face |
| Table 17: | Engine Block Right Deck Face |
| Table 18: | Engine Block Lower Face |
| Table 19: | Lower Crankcase Pan Face |
| Table 20: | Engine Front Cover |
| Table 21: | Camshaft Position Actuator Housing |
| Table 22: | Camshaft Covers |
| Table 23: | Oil Pan - Left |
| Table 24: | Oil Pan - Right |
| Table 25: | Oil Pan - Rear |
| Table 26: | Oil Pan - Bottom |
Hole Location | Thread Size | Drill | Counter Bore Tool | Stop Collar | Tap | Driver | Insert | Drill Depth (Maximum) | Tap Depth (Minimum) | ||
|---|---|---|---|---|---|---|---|---|---|---|---|
J 42385- | MM | (IN) | MM | (IN) | |||||||
1 | M6 x 1.0 | 608 | N/A | N/A | 203 | 204 | 205 | 26.0 | 1.0236 | 22.0 | 0.8661 |
2 | M6 x 1.0 | 201 | 202 | N/A | 203 | 204 | 205 | THRU | THRU | ||
3 | M20 x 1.5 | 715 | 716 | N/A | 717 | 718 | 719 | 32.0 | 1.2598 | 21.0 | 0.8268 |
4 | M6 x 1.0 | 201 | 202 | N/A | 203 | 204 | 205 | 22.0 | 0.8661 | 18.0 | 0.7087 |
Hole Location | Thread Size | Drill | Counter Bore Tool | Stop Collar | Tap | Driver | Insert | Drill Depth (Maximum) | Tap Depth (Minimum) | ||
|---|---|---|---|---|---|---|---|---|---|---|---|
J 42385- | MM | (IN) | MM | (IN) | |||||||
1 | M8 x 1.25 | 206 | 207 | N/A | 208 | 209 | 210 | 27.0 | 1.0630 | 22.0 | 0.8661 |
2 | M6 x 1.0 | 201 | 202 | N/A | 203 | 204 | 205 | 30.0 | 1.1811 | 26.0 | 1.0236 |
3 | M8 x 1.25 | 610 | N/A | 619 | 208 | 209 | 620 | 27.0 | 1.0630 | 22.0 | 0.8661 |
4 | M6 x 1.0 | 201 | 202 | N/A | 203 | 204 | 205 | 22.0 | 0.8661 | 18.0 | 0.7087 |
5 | M10 x 1.5 | 211 | 212 | N/A | 213 | 214 | 215 | 32.0 | 1.2599 | 26.0 | 1.0236 |
Hole Location | Thread Size | Drill | Counter Bore Tool | Stop Collar | Tap | Driver | Insert | Drill Depth (Maximum) | Tap Depth (Minimum) | ||
|---|---|---|---|---|---|---|---|---|---|---|---|
J 42385- | MM | (IN) | MM | (IN) | |||||||
1 | M6 x 1.0 | 201 | 202 | N/A | 203 | 204 | 205 | 25.0 | 0.9843 | 21.25 | 0.8366 |
Hole Location | Thread Size | Drill | Counter Bore Tool | Stop Collar | Tap | Driver | Insert | Drill Depth (Maximum) | Tap Depth (Minimum) | ||
|---|---|---|---|---|---|---|---|---|---|---|---|
J 42385- | MM | (IN) | MM | (IN) | |||||||
1 | M10 x 1.5 | 211 | 212 | N/A | 213 | 214 | 215 | 32.0 | 1.2599 | 27.5 | 1.0827 |
2 | M16 x 1.5 | 861 | 862 | N/A | 863 | 864 | 860 | 20.0 | 0.7874 | 16.0 | 0.6299 |
3 | M10 x 1.5 | 211 | 212 | N/A | 213 | 214 | 215 | 32.0 | 1.2599 | 26.0 | 1.0236 |
4 | M6 x 1.0 | 201 | 202 | N/A | 203 | 204 | 205 | 22.0 | 0.8661 | 18.0 | 0.7087 |
5 | M8 x 1.25 | 206 | 207 | N/A | 208 | 209 | 210 | 25.0 | 0.9843 | 20.0 | 0.7874 |
Hole Location | Thread Size | Drill | Counter Bore Tool | Stop Collar | Tap | Driver | Insert | Drill Depth (Maximum) | Tap Depth (Minimum) | ||
|---|---|---|---|---|---|---|---|---|---|---|---|
J 42385- | MM | (IN) | MM | (IN) | |||||||
1 | M16 x 1.5 | 861 | 862 | N/A | 863 | 864 | 860 | 20.0 | 0.7874 | 16.0 | 0.6299 |
2 | M8 x 1.25 | 206 | 207 | N/A | 208 | 209 | 210 | 27.0 | 1.0630 | 22.0 | 0.8661 |
Hole Location | Thread Size | Drill | Counter Bore Tool | Stop Collar | Tap | Driver | Insert | Drill Depth (Maximum) | Tap Depth (Minimum) | ||
|---|---|---|---|---|---|---|---|---|---|---|---|
J 42385- | MM | (IN) | MM | (IN) | |||||||
1 | M6 x 1.0 | 608 | N/A | N/A | 203 | 204 | 205 | 26.0 | 1.0240 | 22.0 | 0.8660 |
2 | M6 x 1.0 | 201 | 202 | N/A | 203 | 204 | 205 | 22.0 | 0.8660 | 18.0 | 0.7090 |
3 | M6 x 1.0 | 201 | 202 | N/A | 203 | 204 | 205 | THRU | THRU | ||
4 | M20 x 1.5 | 715 | 716 | N/A | 717 | 718 | 719 | 32.0 | 1.2598 | 21.0 | 0.8268 |
Hole Location | Thread Size | Drill | Counter Bore Tool | Stop Collar | Tap | Driver | Insert | Drill Depth (Maximum) | Tap Depth (Minimum) | ||
|---|---|---|---|---|---|---|---|---|---|---|---|
J 42385- | MM | (IN) | MM | (IN) | |||||||
1 | M6 x 1.0 | 201 | 202 | N/A | 203 | 204 | 205 | 30.0 | 1.1811 | 26.0 | 1.0236 |
2 | M6 x 1.0 | 201 | 202 | N/A | 203 | 204 | 205 | 22.0 | 0.8661 | 18.0 | 0.7087 |
3 | M8 x 1.25 | 206 | 207 | N/A | 208 | 209 | 210 | 27.0 | 1.0630 | 22.0 | 0.8661 |
4 | M8 x 1.25 | 610 | N/A | 619 | 208 | 209 | 620 | 27.0 | 1.0630 | 22.0 | 0.8661 |
Hole Location | Thread Size | Drill | Counter Bore Tool | Stop Collar | Tap | Driver | Insert | Drill Depth (Maximum) | Tap Depth (Minimum) | ||
|---|---|---|---|---|---|---|---|---|---|---|---|
J 42385- | MM | (IN) | MM | (IN) | |||||||
1 | M6 x 1.0 | 201 | 202 | N/A | 203 | 204 | 205 | 25.0 | 0.9843 | 21.25 | 0.8366 |
Hole Location | Thread Size | Drill | Counter Bore Tool | Stop Collar | Tap | Driver | Insert | Drill Depth (Maximum) | Tap Depth (Minimum) | ||
|---|---|---|---|---|---|---|---|---|---|---|---|
J 42385- | MM | (IN) | MM | (IN) | |||||||
1 | M10 x 1.5 | 211 | 212 | N/A | 213 | 214 | 215 | 32.0 | 1.2599 | 27.5 | 1.0827 |
2 | M16 x 1.5 | 861 | 862 | N/A | 863 | 864 | 860 | 20.0 | 0.7874 | 16.0 | 0.6299 |
3 | M8 x 1.25 | 206 | 207 | N/A | 208 | 209 | 210 | 25.0 | 0.9843 | 20.0 | 0.7874 |
Hole Location | Thread Size | Drill | Counter Bore Tool | Stop Collar | Tap | Driver | Insert | Drill Depth (Maximum) | Tap Depth (Minimum) | ||
|---|---|---|---|---|---|---|---|---|---|---|---|
J 42385- | MM | (IN) | MM | (IN) | |||||||
1 | M16 x 1.5 | 861 | 862 | N/A | 863 | 864 | 860 | 20.0 | 0.7874 | 16.0 | 0.6299 |
2 | M8 x 1.25 | 206 | 207 | N/A | 208 | 209 | 210 | 27.0 | 1.0630 | 22.0 | 0.8661 |
3 | M10 x 1.5 | 211 | 212 | N/A | 213 | 214 | 215 | 32.0 | 1.2598 | 26.0 | 1.0240 |
4 | 3/8 - 18 NPSF | 2013 | N/A | N/A | 2014 | 2015 | 2016 | THRU | THRU | ||
Hole Location | Thread Size | Drill | Counter Bore Tool | Stop Collar | Tap | Driver | Insert | Drill Depth (Maximum) | Tap Depth (Minimum) | ||
|---|---|---|---|---|---|---|---|---|---|---|---|
J 42385- | MM | (IN) | MM | (IN) | |||||||
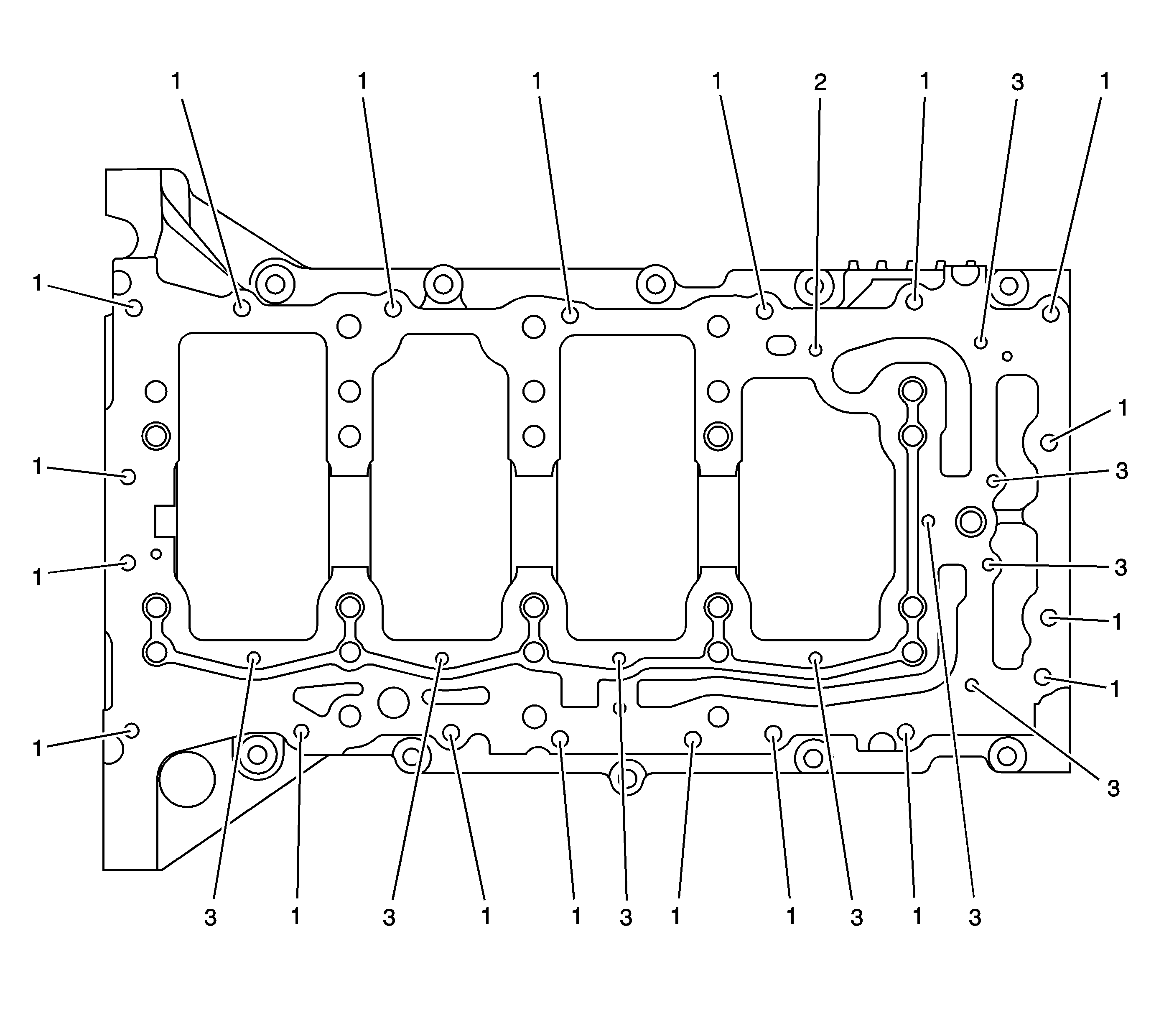
1 | M6 x 1.0 | 201 | 202 | N/A | 203 | 204 | 205 | 19.5 | 0.7677 | 15.5 | 0.6102 |
2 | M8 x 1.25 | 206 | 207 | N/A | 208 | 209 | 210 | 27.0 | 1.0630 | 22.0 | 0.8661 |
3 | M6 x 1.0 | 201 | 202 | N/A | 203 | 204 | 205 | 23.0 | 0.9055 | 19.0 | 0.7480 |
4 | M6 x 1.0 | 201 | 202 | N/A | 203 | 204 | 205 | THRU | 17.0 | 0.6693 | |
5 | M6 x 1.0 | 201 | 202 | N/A | 203 | 204 | 205 | 24.0 | 0.9449 | 17.0 | 0.6693 |
6 | M6 x 1.0 | 201 | 202 | N/A | 203 | 204 | 205 | THRU | 15.5 | 0.6102 | |
7 | M8 x 1.25 | 206 | 207 | N/A | 208 | 209 | 210 | THRU | THRU | ||
8 | M10 x 1.5 | 211 | 212 | N/A | 213 | 214 | 420 | 30.0 | 1.1811 | 24.0 | 0.9449 |
9 | M10 x 1.5 | 211 | 212 | N/A | 213 | 214 | 420 | THRU | THRU | ||
10 | M6 x 1.0 | 201 | 202 | N/A | 203 | 204 | 205 | THRU | THRU | ||
11 | M6 x 1.0 | 201 | 202 | N/A | 203 | 204 | 205 | 20.25 | 0.7972 | 16.25 | 0.6398 |
12 | M6 x 1.0 | 201 | 202 | N/A | 203 | 204 | 205 | 23.75 | 0.9350 | 19.75 | 0.7776 |
13 | M8 x 1.75 | 2001 | 2002 | N/A | 2003 | 2004 | 2005 | 26.75 | 1.0532 | 21.75 | 0.8563 |
Hole Location | Thread Size | Drill | Counter Bore Tool | Stop Collar | Tap | Driver | Insert | Drill Depth (Maximum) | Tap Depth (Minimum) | ||
|---|---|---|---|---|---|---|---|---|---|---|---|
J 42385- | MM | (IN) | MM | (IN) | |||||||
1 | M10 x 1.5 | 211 | 212 | N/A | 213 | 214 | 420 | 30.0 | 1.1811 | 24.0 | 0.0827 |
2 | M6 x 1.0 | 201 | 202 | N/A | 203 | 204 | 205 | 25.0 | 0.9843 | 21.0 | 0.8268 |
3 | M8 x 1.25 | 610 | N/A | N/A | 208 | 209 | 620 | 30.0 | 1.1811 | 25.0 | 0.9843 |
4 | M8 x 1.25 | 206 | 207 | N/A | 208 | 209 | 210 | 20.0 | 0.7874 | 16.0 | 0.6299 |
Hole Location | Thread Size | Drill | Counter Bore Tool | Stop Collar | Tap | Driver | Insert | Drill Depth (Maximum) | Tap Depth (Minimum) | ||
|---|---|---|---|---|---|---|---|---|---|---|---|
J 42385- | MM | (IN) | MM | (IN) | |||||||
1 | M10 x 1.5 | 211 | 212 | N/A | 213 | 214 | 420 | 30.0 | 1.1811 | 24.0 | 1.0827 |
2 | M8 x 1.25 | 206 | 207 | N/A | 208 | 209 | 210 | 24.5 | 0.9646 | 15.0 | 0.5906 |
Hole Location | Thread Size | Drill | Counter Bore Tool | Stop Collar | Tap | Driver | Insert | Drill Depth (Maximum) | Tap Depth (Minimum) | ||
|---|---|---|---|---|---|---|---|---|---|---|---|
J 42385- | MM | (IN) | MM | (IN) | |||||||
1 | M10 x 1.5 | 211 | 212 | N/A | 213 | 214 | 420 | THRU | THRU | ||
2 | M8 x 1.25 | 206 | 207 | N/A | 208 | 209 | 210 | THRU | THRU | ||
3 | M10 x 1.5 | 211 | 212 | N/A | 213 | 214 | 420 | 39.75 | 1.5650 | 33.75 | 1.0827 |
4 | M10 x 1.5 | 211 | 212 | N/A | 213 | 214 | 420 | THRU | THRU | ||
5 | M10 x 1.5 | 211 | 212 | N/A | 213 | 214 | 420 | 39.0 | 1.5354 | 33.0 | 1.2992 |
Hole Location | Thread Size | Drill | Counter Bore Tool | Stop Collar | Tap | Driver | Insert | Drill Depth (Maximum) | Tap Depth (Minimum) | ||
|---|---|---|---|---|---|---|---|---|---|---|---|
J 42385- | MM | (IN) | MM | (IN) | |||||||
1 | M6 x 1.0 | 201 | 202 | N/A | 203 | 204 | 205 | 20.0 | 0.7874 | 16.0 | 0.6299 |
2 | M8 x 1.25 | 206 | 207 | N/A | 208 | 209 | 210 | 23.5 | 0.9252 | 18.5 | 0.7283 |
3 | M8 x 1.25 | 206 | 207 | N/A | 208 | 209 | 210 | 23.0 | 0.9055 | 19.0 | 0.7480 |
4 | M6 x 1.0 | 201 | 202 | N/A | 203 | 204 | 205 | 23.0 | 0.9055 | 19.0 | 0.7480 |
Hole Location | Thread Size | Drill | Counter Bore Tool | Stop Collar | Tap | Driver | Insert | Drill Depth (Maximum) | Tap Depth (Minimum) | ||
|---|---|---|---|---|---|---|---|---|---|---|---|
J 42385- | MM | (IN) | MM | (IN) | |||||||
1 | M6 x 1.0 | 608 | N/A | N/A | 203 | 204 | 205 | 30.0 | 1.1811 | 25.0 | 0.9843 |
2 | M11 x 2.0 | 2031 | N/A | 2034 | 2032 | 2033 | 108 | 73.0 | 2.8740 | 67.0 | 2.6378 |
3 | M11 x 2.0 | 2031 | N/A | N/A | 2032 | 2033 | 108 | 89.5 | 3.5236 | 83.5 | 3.2874 |
Hole Location | Thread Size | Drill | Counter Bore Tool | Stop Collar | Tap | Driver | Insert | Drill Depth (Maximum) | Tap Depth (Minimum) | ||
|---|---|---|---|---|---|---|---|---|---|---|---|
J 42385- | MM | (IN) | MM | (IN) | |||||||
1 | M11 x 2.0 | 2031 | N/A | 2034 | 2032 | 2033 | 108 | 73.0 | 2.8740 | 67.0 | 2.6378 |
2 | M6 x 1.0 | 608 | N/A | N/A | 203 | 204 | 205 | 30.0 | 1.1811 | 25.0 | 0.9843 |
3 | M11 x 2.0 | 2031 | N/A | N/A | 2032 | 2033 | 108 | 89.5 | 3.5236 | 83.5 | 3.2874 |
Hole Location | Thread Size | Drill | Counter Bore Tool | Stop Collar | Tap | Driver | Insert | Drill Depth (Maximum) | Tap Depth (Minimum) | ||
|---|---|---|---|---|---|---|---|---|---|---|---|
J 42385- | MM | (IN) | MM | (IN) | |||||||
1 | M10 x 1.5 | 511 | N/A | N/A | 512 | 513 | 514 | 32.0 | 1.2598 | 26.5 | 1.0433 |
2 | M8 x 1.25 | 610 | N/A | N/A | 208 | 209 | 620 | THRU | THRU | ||
3 | M8 x 1.25 | 610 | N/A | N/A | 208 | 209 | 620 | 37.0 | 1.4567 | 32.0 | 1.2598 |
Hole Location | Thread Size | Drill | Counter Bore Tool | Stop Collar | Tap | Driver | Insert | Drill Depth (Maximum) | Tap Depth (Minimum) | ||
|---|---|---|---|---|---|---|---|---|---|---|---|
J 42385- | MM | (IN) | MM | (IN) | |||||||
1 | M8 x 1.25 | 206 | 207 | N/A | 208 | 209 | 210 | 25.0 | 0.9843 | 20.0 | 0.7874 |
2 | M6 x 1.0 | 201 | 202 | N/A | 203 | 204 | 205 | THRU | THRU | ||
3 | M6 x 1.0 | 201 | 202 | N/A | 203 | 204 | 205 | 22.0 | 0.8661 | 18.0 | 0.7087 |
Hole Location | Thread Size | Drill | Counter Bore Tool | Stop Collar | Tap | Driver | Insert | Drill Depth (Maximum) | Tap Depth (Minimum) | ||
|---|---|---|---|---|---|---|---|---|---|---|---|
J 42385- | MM | (IN) | MM | (IN) | |||||||
1 | M6 x 1.0 | 201 | 202 | N/A | 203 | 204 | 205 | 22.5 | 0.8858 | 18.5 | 0.7283 |
2 | M6 x 1.0 | 201 | 202 | N/A | 203 | 204 | 205 | THRU | 18.5 | 0.7283 | |
3 | M18 x 1.5 | N/A | N/A | N/A | N/A | N/A | N/A | 11.7 | 0.4606 | 9.0 | 0.3543 |
4 | M8 x 1.25 | 206 | 207 | N/A | 208 | 209 | 210 | 26.0 | 1.0236 | 21.5 | 0.8465 |
5 | M8 x 1.25 | 206 | 207 | N/A | 208 | 209 | 210 | THRU | 18.5 | 0.7283 | |
Hole Location | Thread Size | Drill | Counter Bore Tool | Stop Collar | Tap | Driver | Insert | Drill Depth (Maximum) | Tap Depth (Minimum) | ||
|---|---|---|---|---|---|---|---|---|---|---|---|
J 42385- | MM | (IN) | MM | (IN) | |||||||
1 | M6 x 1.0 | 201 | 202 | N/A | 203 | 204 | 205 | THRU | THRU | ||
2 | M6 x 1.0 | 201 | 202 | N/A | 203 | 204 | 205 | 18.0 | 0.7087 | 14.0 | 0.5512 |
3 | M10 x 1.5 | N/A | N/A | N/A | N/A | N/A | N/A | THRU | THRU | ||
Hole Location | Thread Size | Drill | Counter Bore Tool | Stop Collar | Tap | Driver | Insert | Drill Depth (Maximum) | Tap Depth (Minimum) | ||
|---|---|---|---|---|---|---|---|---|---|---|---|
J 42385- | MM | (IN) | MM | (IN) | |||||||
1 | -- | -- | -- | -- | -- | -- | -- | THRU | THRU | ||
2 | M6 x 1.0 | 201 | 202 | N/A | 203 | 204 | 205 | 23.0 | 0.9055 | 19.0 | 0.7480 |
#1 Threads are created initially when coil ground strap bolt is installed.
Hole Location | Thread Size | Drill | Counter Bore Tool | Stop Collar | Tap | Driver | Insert | Drill Depth (Maximum) | Tap Depth (Minimum) | ||
|---|---|---|---|---|---|---|---|---|---|---|---|
J 42385- | MM | (IN) | MM | (IN) | |||||||
1 | M10 x 1.5 | 211 | 212 | N/A | 213 | 214 | 215 | 33.5 | 1.3189 | 27.0 | 1.0630 |
2 | M12 x 1.75 | 856 | 857 | N/A | 858 | 859 | 865 | THRU | THRU | ||
Hole Location | Thread Size | Drill | Counter Bore Tool | Stop Collar | Tap | Driver | Insert | Drill Depth (Maximum) | Tap Depth (Minimum) | ||
|---|---|---|---|---|---|---|---|---|---|---|---|
J 42385- | MM | (IN) | MM | (IN) | |||||||
1 | M12 x 1.75 | 856 | 857 | N/A | 858 | 859 | 855 | 39.5 | 1.5551 | 32.0 | 1.2598 |
Hole Location | Thread Size | Drill | Counter Bore Tool | Stop Collar | Tap | Driver | Insert | Drill Depth (Maximum) | Tap Depth (Minimum) | ||
|---|---|---|---|---|---|---|---|---|---|---|---|
J 42385- | MM | (IN) | MM | (IN) | |||||||
1 | M10 x 1.5 | 211 | 212 | N/A | 213 | 214 | 420 | THRU | 21.5 | 0.8465 | |
Hole Location | Thread Size | Drill | Counter Bore Tool | Stop Collar | Tap | Driver | Insert | Drill Depth (Maximum) | Tap Depth (Minimum) | ||
|---|---|---|---|---|---|---|---|---|---|---|---|
J 42385- | MM | (IN) | MM | (IN) | |||||||
1 | M6 x 1.0 | 201 | 202 | N/A | 203 | 204 | 205 | 28.0 | 1.1024 | 23.5 | 0.9252 |