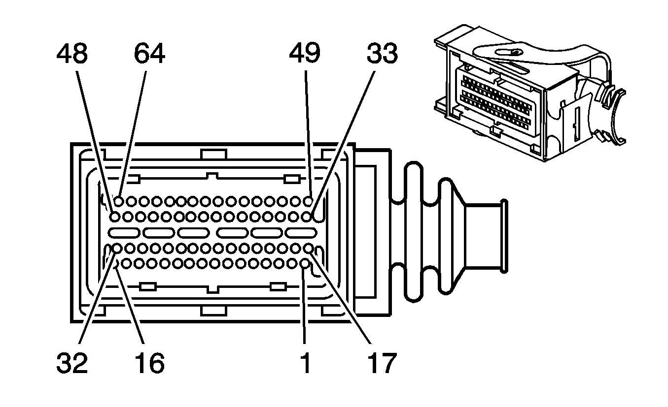
| Table 1: | Engine Control Module (ECM) C1 |
| Table 2: | Engine Control Module (ECM) C2 |
| |||||||
|---|---|---|---|---|---|---|---|
Connector Part Information |
| ||||||
Pin | Wire Color | Circuit No. | Function | ||||
1 | TN | 407 | Low Reference | ||||
2 | OG | 5280 | HO2S Input Pump Current - Bank 2 Sensor 1 | ||||
3 | L-GN | 5278 | HO2S Input Pump Current - Bank 1 Sensor 1 | ||||
4 | OG | 5275 | CMP Sensor Signal - Intake Bank 1 | ||||
5 | GY | 605 | 5-Volt Reference A | ||||
6 | -- | -- | Not Used | ||||
7 | TN | 470 | Low Reference | ||||
8 | PU | 486 | TP Sensor Signal 2 | ||||
9 | D-GN/WH | 2124 | IC 4 Control | ||||
10 | WH/BK | 5039 | CKP Sensor Signal | ||||
11 | -- | -- | Not Used | ||||
12 | OG/BK | 5272 | CMP Actuator Solenoid Control - Intake Bank 2 | ||||
13 | L-GN | 5282 | CMP Actuator Solenoid Control - Exhaust Bank 1 | ||||
14 | -- | -- | Not Used | ||||
15 | TN | 582 | TAC Motor Control - 2 | ||||
16 | GY/WH | 3113 | HO2S Heater Low Control - Bank 1 Sensor 1 | ||||
17 | GY | 1716 | Low Reference | ||||
18 | TN | 1667 | HO2S Low Reference - Bank 2 Sensor 1 | ||||
19 | PU/WH | 1665 | HO2S Reference Voltage - Bank 1 Sensor 1 | ||||
20 | D-GN | 5273 | CMP Sensor Signal - Exhaust Bank 1 | ||||
21 | GY | 23 | Generator Field Duty Cycle Signal | ||||
22 | -- | -- | Not Used | ||||
23 | YE | 410 | ECT Sensor Signal | ||||
24 | -- | -- | Not Used | ||||
25 | L-BU/WH | 2126 | IC 6 Control | ||||
26 | OG/WH | 2122 | IC 2 Control | ||||
27-28 | -- | -- | Not Used | ||||
29 | PK | 5284 | CMP Actuator Solenoid Control - Intake Bank 1 | ||||
30 | WH/BK | 5283 | CMP Actuator Solenoid Control - Exhaust Bank 2 | ||||
31 | YE | 581 | TAC Motor Control - 1 | ||||
32 | L-GN | 3212 | HO2S Heater Low Control - Bank 2 Sensor 1 | ||||
33 | D-BU | 496 | Knock Sensor 1 Signal | ||||
34 | PU | 1666 | HO2S Reference Voltage - Bank 2 Sensor 1 | ||||
35 | WH | 5279 | HO2S Pump Current - Bank 1 Sensor 1 | ||||
36 | PU | 5274 | CMP Sensor Signal - Exhaust Bank 2 | ||||
37 | BN | 1174 | Oil Level Switch Signal | ||||
38 | D-GN/WH | 357 | Oil Temperature Sensor Signal | ||||
39 | TN | 2752 | Low Reference | ||||
40 | TN/BK | 231 | Oil Pressure Switch Signal | ||||
41 | D-GN | 2125 | IC 5 Control | ||||
42 | PU | 2121 | IC 1 Control | ||||
43 | OG | 225 | Generator Turn On Signal | ||||
44 | D-BU/BK | 5041 | IMRC Solenoid Control | ||||
45 | D-BU/BK | 844 | Fuel Injector 4 Control | ||||
46 | PK/BK | 1746 | Fuel Injector 3 Control | ||||
47 | TN/WH | 845 | Fuel Injector 5 Control | ||||
48 | L-GN/WH | 428 | EVAP Canister Purge Solenoid Control | ||||
49 | GY/BK | 1798 | Drain Wire | ||||
50 | L-BU | 1876 | Knock Sensor 2 Signal | ||||
51 | PU/WH | 5281 | HO2S Pump Current - Bank 2 Sensor 1 | ||||
52 | TN | 1664 | HO2S Low Reference - Bank 1 Sensor 1 | ||||
53 | YE | 5276 | CMP Sensor Signal - Intake Bank 2 | ||||
54 | GY | 2701 | 5-Volt Reference C | ||||
55 | D-GN | 485 | TP Sensor Signal 1 | ||||
56 | OG/BK | 5266 | BARO Sensor Signal | ||||
57 | GY | 705 | 5-Volt Reference B | ||||
58 | L-BU | 2123 | IC 3 Control | ||||
59 | PU/WH | 5024 | CKP Sensor Low Reference | ||||
60-61 | -- | -- | Not Used | ||||
62 | L-GN/BK | 1745 | Fuel Injector 2 Control | ||||
63 | TN | 1744 | Fuel Injector 1 Control | ||||
64 | YE/BK | 846 | Fuel Injector 6 Control | ||||
| |||||||
|---|---|---|---|---|---|---|---|
Connector Part Information |
| ||||||
Pin | Wire Color | Circuit No. | Function | ||||
1 | PK/BK | 5290 | Ignition 1 Voltage | ||||
2 | GY/WH | 3122 | HO2S Heater Low Control - Bank 1 Sensor 2 | ||||
3 | PK | 239 | Ignition 1 Voltage | ||||
4 | D-BU | 473 | High Speed Cooling Fan Relay Control | ||||
5 | WH | 121 | Engine Speed Signal | ||||
6 | -- | -- | Not Used | ||||
7 | WH/BK | 1164 | 5-Volt Reference A | ||||
8 | PU | 1272 | Low Reference | ||||
9 | OG/BK | 380 | A/C Refrigerant Pressure Sensor Signal | ||||
10 | OG | 5371 | BAS Relay Coil Supply Voltage | ||||
11 | TN | 472 | IAT Sensor Signal | ||||
12 | D-GN | 890 | Fuel Tank Pressure Sensor Signal | ||||
13-14 | -- | -- | Not Used | ||||
15 | OG/BK | 463 | Requested Torque Signal | ||||
16 | -- | -- | Not Used | ||||
17 | PK/BK | 5290 | Ignition 1 Voltage | ||||
18 | OG/WH | 3223 | HO2S Heater Low Control - Bank 2 Sensor 2 | ||||
19 | D-GN/WH | 465 | Fuel Pump Relay Control | ||||
20 | D-GN | 335 | Low Speed Cooling Fan Relay Control | ||||
21 | -- | -- | Not Used | ||||
22 | BN | 818 | Vehicle Speed Signal | ||||
23 | WH | 2500 | High Speed GMLAN Serial Data Bus+ (M82) | ||||
24 | BN | 5069 | MAIN Relay Control | ||||
25 | TN | 452 | Low Reference | ||||
26 | TN | 2760 | Low Reference | ||||
27 | L-BU | 1937 | Fuel Level Sensor Signal - Secondary | ||||
28 | -- | -- | Not Used | ||||
29 | PU/WH | 1668 | HO2S Signal - Bank 1 Sensor 2 | ||||
30 | -- | -- | Not Used | ||||
31 | YE | 5 | Crank Voltage | ||||
32 | OG/BK | 1786 | Park/Neutral Signal (M82) | ||||
33 | WH | 1310 | EVAP Canister Vent Solenoid Control | ||||
34 | -- | -- | Not Used | ||||
35 | YE | 447 | Starter Relay Coil Control | ||||
36 | RD/WH | 1440 | Battery Positive Voltage | ||||
37 | TN/BK | 464 | Delivered Torque Signal | ||||
38 | -- | -- | Not Used | ||||
39 | GY | 596 | 5-Volt Reference A | ||||
40 | BN | 1271 | Low Reference | ||||
41 | TN | 1671 | HO2S Low Referene - Bank 2 Sensor 2 | ||||
42 | D-BU | 1936 | Fuel Level Sensor Signal - Primary | ||||
43 | YE | 492 | MAF Sensor Signal | ||||
44 | L-BU | 1162 | APP Sensor 2 Signal | ||||
45-46 | -- | -- | Not Used | ||||
47 | YE/BK | 5270 | Engine Drag Control Signal | ||||
48 | PU | 1807 | Class 2 Serial Data | ||||
49 | D-GN/WH | 459 | A/C Compressor Clutch Relay Control | ||||
50 | BN/WH | 419 | MIL Control | ||||
51-54 | -- | -- | Not Used | ||||
55 | L-GN | 2501 | High Speed GMLAN Serial Data Bus- (M82) | ||||
56 | TN | 1274 | 5-Volt Reference C | ||||
57 | TN/WH | 1669 | HO2S Low Reference - Bank 1 Sensor 2 | ||||
58 | YE | 343 | Accessory Voltage | ||||
59 | GY | 1884 | Cruise Control Switch Signal | ||||
60 | D-BU | 1161 | APP Sensor Signal 1 | ||||
61 | PU | 1670 | HO2S Signal - Bank 2 Sensor 2 | ||||
62 | -- | -- | Not Used | ||||
63 | GY | 847 | Extended Travel Brake Switch Signal | ||||
64 | -- | -- | Not Used | ||||