GM Service Manual Online
For 1990-2009 cars only
Connector 1: Backup Lamp - Left
Connector 2: Backup Lamp - Right
Connector 3: Brake Pedal Position (BPP) Sensor
Connector 4: Center High Mounted Stop Lamp (CHMSL)
Connector 5: Courtesy Lamp - Left Front Door
Connector 6: Courtesy Lamp - Right Front Door
Connector 7: Courtesy Lamp - Left Footwell
Connector 8: Courtesy Lamp - Liftgate
Connector 9: Courtesy Lamp - Right Footwell
Connector 10: Courtesy/Reading Lamp - Center
Connector 11: Courtesy/Reading Lamp - Front
Connector 12: Courtesy/Reading Lamp - Rear
Connector 13: Fog Lamp - LF
Connector 14: Fog Lamp - RF
Connector 15: Fog Lamp - LR (T79)
Connector 16: Fog Lamp - RR (T79)
Connector 17: Hazard Switch
Connector 18: Headlamp Assembly - Left (w/o HID)
Connector 19: Headlamp Assembly - Left (HID)
Connector 20: Headlamp Assembly - Right (w/o HID)
Connector 21: Headlamp Assembly - Right (HID)
Connector 22: Headlamp Leveling Sensor - Front (Export w/TR7)
Connector 23: Headlamp Leveling Sensor - Rear (Export w/TR7)
Connector 24: License Lamp - Left
Connector 25: License Lamp - Right
Connector 26: Marker Lamp - LF
Connector 27: Marker Lamp - RF
Connector 28: Repeater Lamp - Left (T90)
Connector 29: Repeater Lamp - Right (T90)
Connector 30: Tail Lamp - Left (Domestic)
Connector 31: Tail Lamp - Left (Export)
Connector 32: Tail Lamp - Right (Domestic)
Connector 33: Tail Lamp - Right (Export)
Connector 34: Turn Signal/Hazard Flasher Module
Connector 35: Turn Signal Lamp - LF
Connector 36: Turn Signal Lamp - RF
Connector 37: Turn Signal/Multifunction Switch C1
Connector 38: Turn Signal/Multifunction Switch C2
Connector 39: Turn Signal/Multifunction Switch C3
Connector 40: Turn Signal/Multifunction Switch C4
Connector 41: Vanity Mirror - Left
Connector 42: Vanity Mirror - Right

Backup Lamp - Left


Object Number: 82372  Size: CH

Connector Part Information

  • OEM: 15324350
  • Service: See Catalog
  • Description: 2-Way Lamp Socket Wedge Base W3 (BK)

Terminal Part Information

  • Terminal/Tray: See Terminal Repair Kit
  • Core/Insulation Crimp: See Terminal Repair Kit
  • Release Tool/Test Probe: See Terminal Repair Kit

Backup Lamp - Left

Pin

Wire Color

Circuit No.

Function

A

BK

24

Backup Lamp Supply Voltage

G

WH

850

Ground

Backup Lamp - Right


Object Number: 82372  Size: CH

Connector Part Information

  • OEM: 15324350
  • Service: See Catalog
  • Description: 2-Way Lamp Socket Wedge Base W3 (BK)

Terminal Part Information

  • Terminal/Tray: See Terminal Repair Kit
  • Core/Insulation Crimp: See Terminal Repair Kit
  • Release Tool/Test Probe: See Terminal Repair Kit

Backup Lamp - Right

Pin

Wire Color

Circuit No.

Function

A

BK

24

Backup Lamp Supply Voltage

G

WH

850

Ground

Brake Pedal Position (BPP) Sensor


Object Number: 1243663  Size: CH

Connector Part Information

  • OEM: 15332132
  • Service: 88953364
  • Description: 3-Way F Metri-Pack 150 Series (BK)

Terminal Part Information

  • Terminal/Tray: 12191812/19
  • Core/Insulation Crimp: E/C
  • Release Tool/Test Probe: 15315247/J-35616-2A (GY)

Brake Pedal Position (BPP) Sensor

Pin

Wire Color

Circuit No.

Function

A

BN

5360

Low Reference

B

YE

5361

Brake Pedal Position Sensor Signal

C

WH

5359

5-Volt Reference

Center High Mounted Stop Lamp (CHMSL)


Object Number: 537107  Size: CH

Connector Part Information

  • OEM: 12052644
  • Service: See Catalog
  • Description: 2-Way M Metri-Pack 150 Series (BK)

Terminal Part Information

  • Terminal/Tray: 12048074/2
  • Core/Insulation Crimp: E/1
  • Release Tool/Test Probe: 12094429/J-35616-2A (GY)

Center High Mounted Stop Lamp (CHMSL)

Pin

Wire Color

Circuit No.

Function

A

WH

17

Stop Lamp Switch Signal

B

BK

850

Ground

Courtesy Lamp - Left Front Door


Object Number: 82383  Size: CH

Connector Part Information

  • OEM: 12047662
  • Service: 12085535
  • Description: 2-Way F Metri-Pack 150 Series (BK)

Terminal Part Information

  • Terminal/Tray: 12064971/5
  • Core/Insulation Crimp: E/C
  • Release Tool/Test Probe: 12094429/J-35616-2A (GY)

Courtesy Lamp - Left Front Door

Pin

Wire Color

Circuit No.

Function

A

D-BU/WH

149

Courtesy Lamp Supply Voltage

B

GY

157

Courtesy Lamp Control

Courtesy Lamp - Right Front Door


Object Number: 82383  Size: CH

Connector Part Information

  • OEM: 12047662
  • Service: 12085535
  • Description: 2-Way F Metri-Pack 150 Series (BK)

Terminal Part Information

  • Terminal/Tray: 12064971/5
  • Core/Insulation Crimp: E/C
  • Release Tool/Test Probe: 12094429/J-35616-2A (GY)

Courtesy Lamp - Right Front Door

Pin

Wire Color

Circuit No.

Function

A

D-BU/WH

149

Courtesy Lamp Supply Voltage

B

GY

157

Courtesy Lamp Control

Courtesy Lamp - Left Footwell


Object Number: 130724  Size: CH

Connector Part Information

  • OEM: 12064869
  • Service: 12117323
  • Description: 2-Way F Metri-Pack 150 Series (BU)

Terminal Part Information

  • Terminal/Tray: 12064971/5
  • Core/Insulation Crimp: E/C
  • Release Tool/Test Probe: 12094429/J-35616-2A (GY)

Courtesy Lamp - Left Footwell

Pin

Wire Color

Circuit No.

Function

A

D-BU/WH

149

Courtesy Lamp Supply Voltage

B

GY

157

Courtesy Lamp Control

Courtesy Lamp - Liftgate


Object Number: 82383  Size: CH

Connector Part Information

  • OEM: 12047662
  • Service: 12085535
  • Description: 2-Way F 150 Series (BK)

Terminal Part Information

  • Terminal/Tray: 12064971/5
  • Core/Insulation Crimp: E/C
  • Release Tool/Test Probe: 12094429/J-35616-2A (GY)

Courtesy Lamp - Liftgate

Pin

Wire Color

Circuit No.

Function

A

D-BU/WH

149

Courtesy Lamp Supply Voltage

B

GY

157

Courtesy Lamp Control

Courtesy Lamp - Right Footwell


Object Number: 130724  Size: CH

Connector Part Information

  • OEM: 12064869
  • Service: 12117323
  • Description: 2-Way F Metri-Pack 150 Series (BU)

Terminal Part Information

  • Terminal/Tray: 12064971/5
  • Core/Insulation Crimp: E/C
  • Release Tool/Test Probe: 12094429/J-35616-2A (GY)

Courtesy Lamp - Right Footwell

Pin

Wire Color

Circuit No.

Function

A

D-BU/WH

149

Courtesy Lamp Supply Voltage

B

GY

157

Courtesy Lamp Control

Courtesy/Reading Lamp - Center


Object Number: 1283885  Size: CH

Connector Part Information

  • OEM: 174928-1
  • Service: 89046708
  • Description: 3-Way F Multi-Lock (WH)

Terminal Part Information

  • Terminal/Tray: 173633-3/15
  • Core/Insulation Crimp: E/4
  • Release Tool/Test Probe: 15315247/J-35616-34 (YE)

Courtesy/Reading Lamp - Center

Pin

Wire Color

Circuit No.

Function

1

GY

157

Courtesy Lamp Control

2

BK

1050

Ground

3

D-BU/WH

149

Courtesy Lamp Supply Voltage

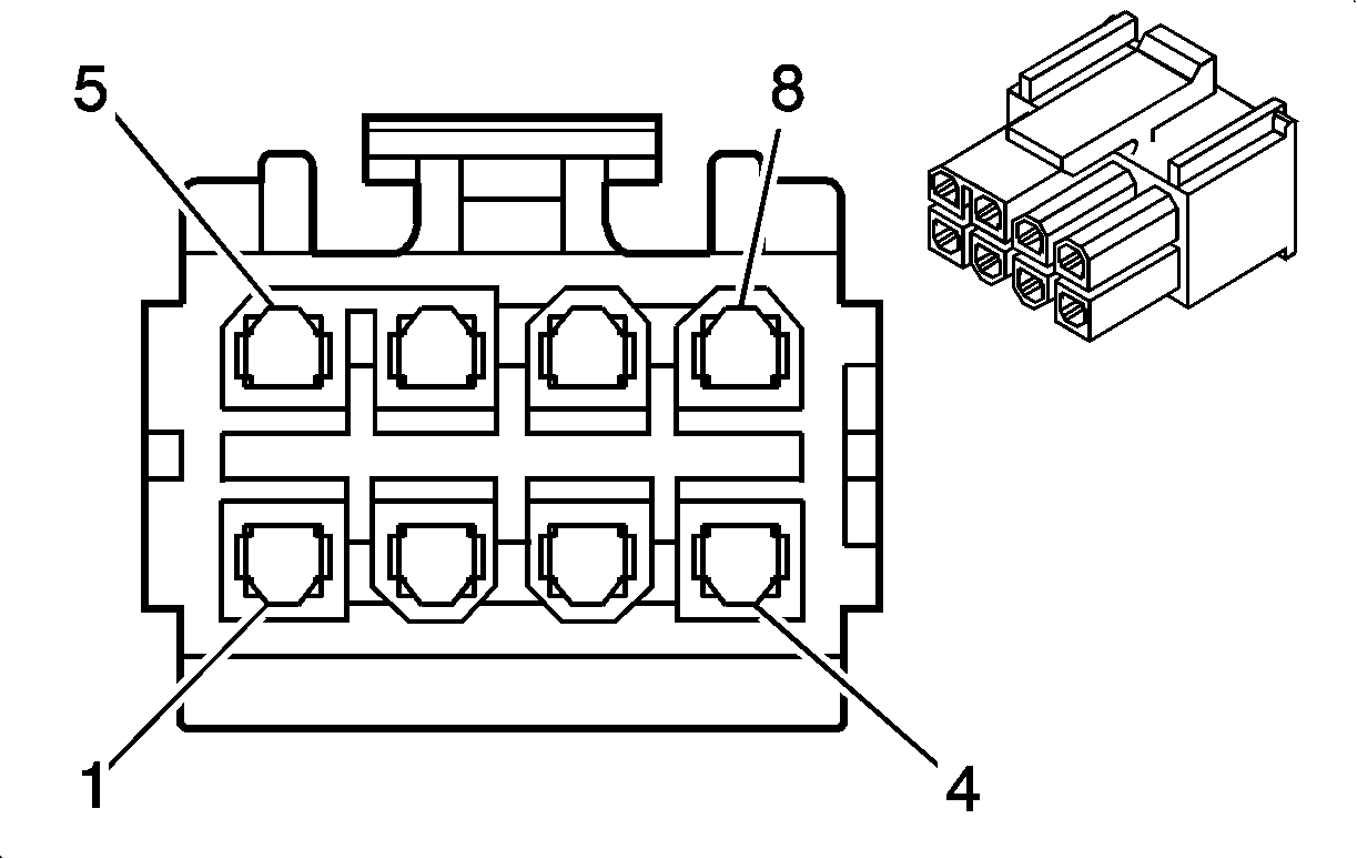
Courtesy/Reading Lamp - Front


Object Number: 813070  Size: CH

Connector Part Information

  • OEM: 15975081
  • Service: See Catalog
  • Description: 8-Way F (BK)

Terminal Part Information

  • Pins: 1, 3
  • Terminal/Tray: 39-00-0038/23
  • Core/Insulation Crimp: K/K
  • Release Tool/Test Probe: J-38125-560/J-35616-12 (BU)
  • Pins: 2, 4, 5, 6, 7, 8
  • Terminal/Tray: 39-00-0046/23
  • Core/Insulation Crimp: H/H
  • Release Tool/Test Probe: J-38125-560/J-35616-12 (BU)

Courtesy/Reading Lamp - Front

Pin

Wire Color

Circuit No.

Function

1

GY

157

Courtesy Lamp Control

2

BK

1050

Ground

3

D-BU/WH

149

Courtesy Lamp Supply Voltage

4

YE

1491

Backlight Lamp Control

5

PK/BK

1597

5-Volt Courtesy Lamp On Signal

6

L-BU/BK

1688

5-Volt Reference

7

YE

5005

I/P Lamps Dimmer Switch Low Reference

8

D-GN

44

I/P Lamps Dimmer Switch

Courtesy/Reading Lamp - Rear


Object Number: 333035  Size: CH

Connector Part Information

  • OEM: 12047781
  • Service: 12101864
  • Description: 3-Way F Metri-Pack 150 Series (BK)

Terminal Part Information

  • Terminal/Tray: 12064971/5
  • Core/Insulation Crimp: E/C
  • Release Tool/Test Probe: 12094429/J-35616-2A (GY)

Courtesy/Reading Lamp - Rear

Pin

Wire Color

Circuit No.

Function

A

GY

157

Courtesy Lamp Control

B

D-BU/WH

149

Courtesy Lamp Supply Voltage

C

BK

1050

Ground

Fog Lamp - LF


Object Number: 684797  Size: CH

Connector Part Information

  • OEM: 12059183
  • Service: 12101898
  • Description: 2-Way F Metri-Pack 280 Series Sealed (BK)

Terminal Part Information

  • Terminal/Tray: See Terminal Repair Kit
  • Core/Insulation Crimp: See Terminal Repair Kit
  • Release Tool/Test Probe: See Terminal Repair Kit

Fog Lamp - LF

Pin

Wire Color

Circuit No.

Function

A

BK

2234

Front Fog Lamp Supply Voltage

B

BK

250

Ground

Fog Lamp - RF


Object Number: 684797  Size: CH

Connector Part Information

  • OEM: 12059183
  • Service: 12101898
  • Description: 2-Way F Metri-Pack 280 Series Sealed (BK)

Terminal Part Information

  • Terminal/Tray: See Terminal Repair Kit
  • Core/Insulation Crimp: See Terminal Repair Kit
  • Release Tool/Test Probe: See Terminal Repair Kit

Fog Lamp - RF

Pin

Wire Color

Circuit No.

Function

A

BK

2234

Front Fog Lamp Supply Voltage

B

BK

250

Ground

Fog Lamp - LR (T79)


Object Number: 38605  Size: CH

Connector Part Information

  • OEM: 12160394
  • Service: See Catalog
  • Description: 3-Way Lamp Socket Wedge Base W3 (NA)

Terminal Part Information

  • Pins: A, G
  • Terminal/Tray: See Terminal Repair Kit
  • Core/Insulation Crimp: See Terminal Repair Kit
  • Release Tool/Test Probe: See Terminal Repair Kit

Fog Lamp - LR (T79)

Pin

Wire Color

Circuit No.

Function

A

RD

122

Rear Fog Lamps Supply Voltage

B

--

--

Not Used

G

BK

850

Ground

Fog Lamp - RR (T79)


Object Number: 38605  Size: CH

Connector Part Information

  • OEM: 12160394
  • Service: See Catalog
  • Description: 3-Way Lamp Socket Wedge Base W3 (NA)

Terminal Part Information

  • Pins: A, G
  • Terminal/Tray: See Terminal Repair Kit
  • Core/Insulation Crimp: See Terminal Repair Kit
  • Release Tool/Test Probe: See Terminal Repair Kit

Fog Lamp - RR (T79)

Pin

Wire Color

Circuit No.

Function

A

RD

122

Rear Fog Lamps Supply Voltage

B

--

--

Not Used

G

BK

850

Ground

Hazard Switch


Object Number: 814536  Size: CH

Connector Part Information

  • OEM: 174966-2
  • Service: 88952835
  • Description: 4-Way F Multi-Lock (BK)

Terminal Part Information

  • Terminal/Tray: 173681-2/17
  • Core/Insulation Crimp: E/4
  • Release Tool/Test Probe: 15315247/J-35616-16 (L-GN)

Hazard Switch

Pin

Wire Color

Circuit No.

Function

1

L-BU

1717

Hazard Switch - Output - Turn Flasher

2

BK

350

Ground

3

YE

1491

Backlight Lamps Control

4

L-BU/WH

1314

Left Front Turn Signal Lamp Supply Voltage

Headlamp Assembly - Left (w/o HID)


Object Number: 831375  Size: CH

Connector Part Information

  • OEM: 15326939
  • Service: 88988440
  • Description: 12-Way F GT 150 280 Series Sealed (BK)

Terminal Part Information

  • Pins: B
  • Terminal/Tray: 15304720/19
  • Core/Insulation Crimp: See Terminal Repair Kit
  • Release Tool/Test Probe: 15315247/J-35616-4A (PU)
  • Pins: A, C, D
  • Terminal/Tray: 12191819/8
  • Core/Insulation Crimp: Pins A, C - E/A
  • Core/Insulation Crimp: Pins D - 2/A
  • Release Tool/Test Probe: 15315247/J-35616-2A (GY)

Headlamp Assembly - Left (w/o HID)

Pin

Wire Color

Circuit No.

Function

A

D-GN/WH

711

Left Headlamp High Beam Supply Voltage

B

YE

712

Left Headlamp Low Beam Supply Voltage

C

PU

709

Left Park Lamp Supply Voltage

D

BK

250

Ground

E-M

--

--

Not Used

Headlamp Assembly - Left (HID)


Object Number: 831375  Size: CH

Connector Part Information

  • OEM: 15373535
  • Service: 15373535
  • Description: 12-Way F GT 150 280 Series Sealed (GY)

Terminal Part Information

  • Pins: A
  • Terminal/Tray: 15304720/19
  • Core/Insulation Crimp: See Terminal Repair Kit
  • Release Tool/Test Probe: 15315247/J-35616-4A (PU)
  • Pins: B, C, D, E
  • Terminal/Tray: 12191819/8
  • Core/Insulation Crimp: E/A
  • Release Tool/Test Probe: 15315247/J-35616-2A (GY)

Headlamp Assembly - Left (HID)

Pin

Wire Color

Circuit No.

Function

A

YE

712

Left Headlamp Low Beam Supply Voltage

B

D-GN/WH

711

Left Headlamp High Beam Supply Voltage

C

PU

709

Left Park Lamp Supply Voltage

D

BK

250

Ground

E

BK

250

Ground

F-M

--

--

Not Used

Headlamp Assembly - Right (w/o HID)


Object Number: 831375  Size: CH

Connector Part Information

  • OEM: 15326939
  • Service: 88988440
  • Description: 12-Way F GT 150 280 Series Sealed (BK)

Terminal Part Information

  • Pins: B
  • Terminal/Tray: 15304720/19
  • Core/Insulation Crimp: See Terminal Repair Kit
  • Release Tool/Test Probe: 15315247/J-35616-4A (PU)
  • Pins: A, C, D
  • Terminal/Tray: 12191819/8
  • Core/Insulation Crimp: Pins A, C - E/A
  • Core/Insulation Crimp: Pins D - 2/A
  • Release Tool/Test Probe: 15315247/J-35616-2A (GY)

Headlamp Assembly - Right (w/o HID)

Pin

Wire Color

Circuit No.

Function

A

L-GN/BK

311

Right Headlamp High Beam Supply Voltage

B

TN/WH

312

Right Headlamp Low Beam Supply Voltage

C

BN/WH

309

Right Park Lamp Supply Voltage

D

BK

250

Ground

E-M

--

--

Not Used

Headlamp Assembly - Right (HID)


Object Number: 831375  Size: CH

Connector Part Information

  • OEM: 15373535
  • Service: 15373535
  • Description: 12-Way F GT 150 280 Series Sealed (GY)

Terminal Part Information

  • Pins: A
  • Terminal/Tray: 15304720/19
  • Core/Insulation Crimp: See Terminal Repair Kit
  • Release Tool/Test Probe: 15315247/J-35616-4A (PU)
  • Pins: B, C, D, E
  • Terminal/Tray: 12191819/8
  • Core/Insulation Crimp: E/A
  • Release Tool/Test Probe: 15315247/J-35616-2A (GY)

Headlamp Assembly - Right (HID)

Pin

Wire Color

Circuit No.

Function

A

TN/WH

312

Right Headlamp Low Beam Supply Voltage

B

L-GN/BK

311

Right Headlamp High Beam Supply Voltage

C

BN/WH

309

Right Park Lamp Supply Voltage

D

BK

250

Ground

E

BK

250

Ground

F-M

--

--

Not Used

Headlamp Leveling Sensor - Front (Export w/TR7)


Object Number: 831393  Size: CH

Connector Part Information

  • OEM: 1-967616-1
  • Service: 15306420
  • Description: 6-Way F MQS Socket Housing

Terminal Part Information

  • Pins: 1, 2, 4, 5, 6
  • Terminal/Tray: 962885-5/15
  • Core/Insulation Crimp: 6/6
  • Release Tool/Test Probe: 12094429/J-35616-64B (L-BU)

Headlamp Leveling Sensor - Front (Export w/TR7)

Pin

Wire Color

Circuit No.

Function

1

BK

250

Ground

2

BK

250

Ground

3

--

--

Not Used

4

GY

868

Headlamp Leveling Switch Bit 1 Signal

5

BN

341

Ignition 3 Voltage

6

BK

250

Ground

Headlamp Leveling Sensor - Rear (Export w/TR7)


Object Number: 684807  Size: CH

Connector Part Information

  • OEM: 12110293
  • Service: 12117025
  • Description: 3-Way F Metri-Pack 150 Series (BK)

Terminal Part Information

  • Terminal/Tray: 12048074/2
  • Core/Insulation Crimp: E/1
  • Release Tool/Test Probe: 12094429/J-35616-2A (GY)

Headlamp Leveling Sensor - Rear (Export w/TR7)

Pin

Wire Color

Circuit No.

Function

A

BN

341

Ignition 3 Voltage

B

GY

868

Headlamp Leveling Switch Bit 1 Signal

C

BK

850

Ground

License Lamp - Left


Object Number: 130733  Size: CH

Connector Part Information

  • OEM: 12146418
  • Service: See Catalog
  • Description: 2-Way Lamp Socket (BK)

Terminal Part Information

  • Terminal/Tray: See Terminal Repair Kit
  • Core/Insulation Crimp: See Terminal Repair Kit
  • Release Tool/Test Probe: See Terminal Repair Kit

License Lamp - Left

Pin

Wire Color

Circuit No.

Function

A

D-BU

32

Park Lamps Supply Voltage

B

BK

850

Ground

License Lamp - Right


Object Number: 130733  Size: CH

Connector Part Information

  • OEM: 12146418
  • Service: See Catalog
  • Description: 2-Way Lamp Socket (BK)

Terminal Part Information

  • Terminal/Tray: See Terminal Repair Kit
  • Core/Insulation Crimp: See Terminal Repair Kit
  • Release Tool/Test Probe: See Terminal Repair Kit

License Lamp - Right

Pin

Wire Color

Circuit No.

Function

A

D-BU

32

Park Lamps Supply Voltage

B

BK

850

Ground

Marker Lamp - LF


Object Number: 813077  Size: CH

Connector Part Information

  • OEM: E5229
  • Service: 88988059
  • Description: 2-Way F (L-GY)

Terminal Part Information

  • Terminal/Tray: See Terminal Repair Kit
  • Core/Insulation Crimp: See Terminal Repair Kit
  • Release Tool/Test Probe: See Terminal Repair Kit

Marker Lamp - LF

Pin

Wire Color

Circuit No.

Function

1

L-GN

709

Left Park Lamp Supply Voltage (TT6)

BK

709

Left Park Lamp Supply Voltage (w/o TT6)

2

L-GN

250

Ground (TT6)

BK

250

Ground (w/o TT6)

Marker Lamp - RF


Object Number: 813077  Size: CH

Connector Part Information

  • OEM: E5229
  • Service: 88988059
  • Description: 2-Way F (GY)

Terminal Part Information

  • Terminal/Tray: See Terminal Repair Kit
  • Core/Insulation Crimp: See Terminal Repair Kit
  • Release Tool/Test Probe: See Terminal Repair Kit

Marker Lamp - RF

Pin

Wire Color

Circuit No.

Function

1

L-GN

709

Left Park Lamp Supply Voltage (TT6)

BK

709

Left Park Lamp Supply Voltage (w/o TT6)

2

L-GN

250

Ground (TT6)

BK

250

Ground (w/o TT6)

Repeater Lamp - Left (T90)


Object Number: 1243632  Size: CH

Connector Part Information

  • OEM: 15336195
  • Service: 88988136
  • Description: 2-Way F GT 150 Sealed (BK)

Terminal Part Information

  • Terminal/Tray: See Terminal Repair Kit
  • Core/Insulation Crimp: See Terminal Repair Kit
  • Release Tool/Test Probe: See Terminal Repair Kit

Repeater Lamp - Left (T90)

Pin

Wire Color

Circuit No.

Function

1

L-BU/WH

1314

Left Front Turn Signal Lamp Supply Voltage

2

BK

250

Ground

Repeater Lamp - Right (T90)


Object Number: 1243632  Size: CH

Connector Part Information

  • OEM: 15336195
  • Service: 88988136
  • Description: 2-Way F 150 GT Sealed (BK)

Terminal Part Information

  • Terminal/Tray: See Terminal Repair Kit
  • Core/Insulation Crimp: See Terminal Repair Kit
  • Release Tool/Test Probe: See Terminal Repair Kit

Repeater Lamp - Right (T90)

Pin

Wire Color

Circuit No.

Function

1

L-BU/WH

1314

Right Front Turn Signal Lamp Supply Voltage

2

BK

250

Ground

Tail Lamp - Left (Domestic)


Object Number: 779050  Size: CH

Connector Part Information

  • OEM: 12124662
  • Service: 12124662
  • Description: 4-Way F Metri-Pack 150 Series Sealed (BN)

Terminal Part Information

  • Pins: A, C, D, E
  • Terminal/Tray: 12048074/2
  • Core/Insulation Crimp: E/1
  • Release Tool/Test Probe: 12094429/J-35616-2A (GY)
  • Pins: B
  • Terminal/Tray: --
  • Core/Insulation Crimp: --
  • Release Tool/Test Probe: --

Tail Lamp - Left (Domestic)

Pin

Wire Color

Circuit No.

Function

A

PU

709

Left Park Lamp Supply Voltage

B

--

--

Not Available

C

YE

5356

Left Tail Lamp Outage Detection Signal

D

BK

850

Ground

E

YE

18

Left Rear Stop/Turn Lamp Supply Voltage

Tail Lamp - Left (Export)


Object Number: 1333935  Size: CH

Connector Part Information

  • OEM: 12077591
  • Service: 12117277
  • Description: 5-Way F Metri-Pack 150 Series Sealed (BK)

Terminal Part Information

  • Terminal/Tray: 12048074/2
  • Core/Insulation Crimp: E/1
  • Release Tool/Test Probe: 12094429/J-35616-2A (GY)

Tail Lamp - Left (Export)

Pin

Wire Color

Circuit No.

Function

A

PU

1472

Left Park Lamp Supply Voltage

B

YE/BK

1334

Left Rear Turn Signal Lamp Supply Voltage

C

YE

5356

Left Tail Lamp Outage Detection Signal

D

BK

850

Ground

E

WH

17

Stop Lamp Supply Voltage

Tail Lamp - Right (Domestic)


Object Number: 779050  Size: CH

Connector Part Information

  • OEM: 12124662
  • Service: 12124662
  • Description: 4-Way F Metri-Pack 150 Series Sealed (BN)

Terminal Part Information

  • Pins: A, C, D, E
  • Terminal/Tray: 12048074/2
  • Core/Insulation Crimp: E/1
  • Release Tool/Test Probe: 12094429/J-35616-2A (GY)

Tail Lamp - Right (Domestic)

Pin

Wire Color

Circuit No.

Function

A

BN/WH

309

Right Park Lamp Supply Voltage

B

--

--

Not Available

C

PU

5357

Right Tail Lamp Outage Detection Signal

D

BK

1050

Ground

E

D-GN

19

Right Rear Stop/Turn Lamp Supply Voltage

Tail Lamp - Right (Export)


Object Number: 1333935  Size: CH

Connector Part Information

  • OEM: 12077591
  • Service: 12117277
  • Description: 5-Way F Metri-Pack 150 Series Sealed (BK)

Terminal Part Information

  • Terminal/Tray: 12048074/2
  • Core/Insulation Crimp: E/1
  • Release Tool/Test Probe: 12094429/J-35616-2A (GY)

Tail Lamp - Right (Export)

Pin

Wire Color

Circuit No.

Function

A

BN/WH

1473

Right Park Lamp Supply Voltage

B

D-GN/WH

1335

Right Rear Turn Signal Lamp Supply Voltage

C

PU

5357

Right Tail Lamp Outage Detection Signal

D

BK

1050

Ground

E

WH

17

Stop Lamp Supply Voltage

Turn Signal/Hazard Flasher Module


Object Number: 800518  Size: CH

Connector Part Information

  • OEM: 15332177
  • Service: See Catalog
  • Description: 16-Way F GT 150 Series (BK)

Terminal Part Information

  • Pins: A, A, B, B, C, D, E, F, G, G, H, H, J, K, L, M, N, P, S
  • Terminal/Tray: See Terminal Repair Kit
  • Core/Insulation Crimp: See Terminal Repair Kit
  • Release Tool/Test Probe: See Terminal Repair Kit

Turn Signal/Hazard Flasher Module

Pin

Wire Color

Circuit No.

Function

A

D-BU

5364

Left DRL/Turn Supply Voltage (Domestic)

L-BU/WH

1314

Left Front Turn Signal Lamp Supply Voltage/Left Turn Signal Indicator Lamp Supply Voltage (Export)

B

YE

18

Left Rear Stop/Turn Lamp Supply Voltage (Domestic)

YE/BK

1334

Left Rear Turn Signal Lamp Supply Voltage (Export)

C

L-BU/WH

1314

Left Turn Signal Indicator Lamp Supply Voltage (Domestic)

D

L-GN/BK

592

DRL Low Control (Domestic)

E

PU

5357

Right Tail Lamp Outage Detection Signal

F

D-BU/WH

1315

Right Turn Signal Indicator Lamp Supply Voltage (Domestic)

G

D-GN

19

Right Rear Stop/Turn Lamp Supply Voltage (Domestic)

D-GN/WH

1335

Right Rear Turn Signal Lamp Supply Voltage (Export)

H

D-GN

5365

Right DRL/Turn Supply Voltage (Domestic)

D-BU/WH

1315

Right Front Turn Signal Lamp Supply Voltage/Right Turn Signal Indicator Lamp Supply Voltage (Export)

J

RD/WH

1740

Battery Positive Voltage

K

WH

17

Stop Lamp Supply Voltage (Domestic)

L

WH

111

Hazard Switch Signal

M

L-BU/WH

1414

Left Turn Signal Switch Signal

N

D-BU/WH

1415

Right Turn Signal Switch Signal

P

YE

5356

Left Tail Lamp Outage Detection Signal

Q

--

--

Not Used

S

BK

350

Ground

Turn Signal Lamp - LF


Object Number: 524649  Size: CH

Connector Part Information

  • OEM: 15354859
  • Service: See Catalog
  • Description: 2-Way F Lamp Socket BB W-3 (WH)

Terminal Part Information

  • Terminal/Tray: See Terminal Repair Kit
  • Core/Insulation Crimp: See Terminal Repair Kit
  • Release Tool/Test Probe: See Terminal Repair Kit

Turn Signal Lamp - LF

Pin

Wire Color

Circuit No.

Function

A

WH

5364

Left DRL/Turn Supply Voltage (Domestic)

WH

1314

Left Turn Signal Indicator Lamp Supply Voltage (w/T62/T65)

G

WH

250

Ground

Turn Signal Lamp - RF


Object Number: 524649  Size: CH

Connector Part Information

  • OEM: 15354859
  • Service: See Catalog
  • Description: 2-Way F Lamp Socket BB W-3 (WH)

Terminal Part Information

  • Terminal/Tray: See Terminal Repair Kit
  • Core/Insulation Crimp: See Terminal Repair Kit
  • Release Tool/Test Probe: See Terminal Repair Kit

Turn Signal Lamp - RF

Pin

Wire Color

Circuit No.

Function

A

WH

5365

Right DRL/Turn Supply Voltage (Domestic)

WH

1315

Right Turn Signal Indicator Lamp Supply Voltage (w/T62/T65)

G

WH

250

Ground

Turn Signal/Multifunction Switch C1


Object Number: 811190  Size: CH

Connector Part Information

  • OEM: 15339058
  • Service: See Catalog
  • Description: 7-Way F Metri-Pack 150 Series (GY)

Terminal Part Information

  • Pins: K, L, M, N
  • Terminal/Tray: See Terminal Repair Kit
  • Core/Insulation Crimp: See Terminal Repair Kit
  • Release Tool/Test Probe: See Terminal Repair Kit

Turn Signal/Multifunction Switch C1

Pin

Wire Color

Circuit No.

Function

G-J

--

--

Not Used

K

BK

350

Ground

L

WH

103

Headlamp Switch Headlamps On Signal

M

BN/WH

301

Park Lamp Switch On Signal

N

PU

1783

Twilight Sentinel Delay Signal

Turn Signal/Multifunction Switch C2


Object Number: 130718  Size: CH

Connector Part Information

  • OEM: 12059800
  • Service: 15306169
  • Description: 5-Way F Metri-Pack 150 Series (BK)

Terminal Part Information

  • Pins: A, B, D, E
  • Terminal/Tray: See Terminal Repair Kit
  • Core/Insulation Crimp: See Terminal Repair Kit
  • Release Tool/Test Probe: See Terminal Repair Kit

Turn Signal/Multifunction Switch C2

Pin

Wire Color

Circuit No.

Function

A

BN

1356

Flash To Pass Switch Signal

B

BK

350

Ground

C

--

--

Not Used

D

L-BU

1485

Headlamp Control

E

BK/WH

1969

Headlamp High Beam Relay Control

Turn Signal/Multifunction Switch C3


Object Number: 39746  Size: CH

Connector Part Information

  • OEM: 12064862
  • Service: 12126438
  • Description: 8-Way F Metri-Pack 150 Series (BK)

Terminal Part Information

  • Pins: A, C, D, F, G, H
  • Terminal/Tray: See Terminal Repair Kit
  • Core/Insulation Crimp: See Terminal Repair Kit
  • Release Tool/Test Probe: See Terminal Repair Kit

Turn Signal/Multifunction Switch C3

Pin

Wire Color

Circuit No.

Function

A

L-GN

1419

Right Rear Turn Signal Switch Signal

B

--

--

Not Used

C

BK

350

Ground

D

YE/BK

1418

Left Rear Turn Signal Switch Signal

E

--

--

Not Used

F

L-BU/WH

1414

Left Turn Signal Switch Signal

G

PK

339

Ignition 1 Voltage

H

D-BU/WH

1415

Right Turn Signal Switch Signal

Turn Signal/Multifunction Switch C4


Object Number: 605511  Size: CH

Connector Part Information

  • OEM: HCMW5B-05-K
  • Service: See Catalog
  • Description: 5-Way M (BK)

Terminal Part Information

  • Terminal/Tray: See Terminal Repair Kit
  • Core/Insulation Crimp: See Terminal Repair Kit
  • Release Tool/Test Probe: See Terminal Repair Kit

Turn Signal/Multifunction Switch C4

Pin

Wire Color

Circuit No.

Function

1

PK

339

Ignition 1 Voltage

2

L-BU

187

Rear Fog Lamp Switch Signal (T79)

3

BK

350

Ground

4

OG

192

Front Fog Lamp Switch Signal

5

GY/BK

1884

Cruise Control Set/Coast and Resume/Accelerate Switch Signal

Vanity Mirror - Left


Object Number: 333035  Size: CH

Connector Part Information

  • OEM: 12047781
  • Service: 12101864
  • Description: 3-Way F Metri-Pack 150 series (BK)

Terminal Part Information

  • Terminal/Tray: 12064971/5
  • Core/Insulation Crimp: E/C
  • Release Tool/Test Probe: 12094429/J-35616-2A (GY)

Vanity Mirror - Left

Pin

Wire Color

Circuit No.

Function

A

BK

1050

Ground

B

D-BU/WH

149

Courtesy Lamp Supply Voltage

C

RD/WH

3640

Battery Positive Voltage

Vanity Mirror - Right


Object Number: 333035  Size: CH

Connector Part Information

  • OEM: 12047781
  • Service: 12101864
  • Description: 3-Way F Metri-Pack 150 Series (BK)

Terminal Part Information

  • Pins: A, B
  • Terminal/Tray: 12064971/5
  • Core/Insulation Crimp: E/C
  • Release Tool/Test Probe: 12094429/J-35616-2A (GY)

Vanity Mirror - Right

Pin

Wire Color

Circuit No.

Function

A

BK

1050

Ground

B

D-BU/WH

149

Courtesy Lamp Supply Voltage

C

--

--

Not Used